GM Service Manual Online
For 1990-2009 cars only
Makes
🢒
Pontiac
🢒
2003
🢒
Bonneville
🢒
Body and Accessories
🢒
Stationary Windows
🢒 Defogger Schematics
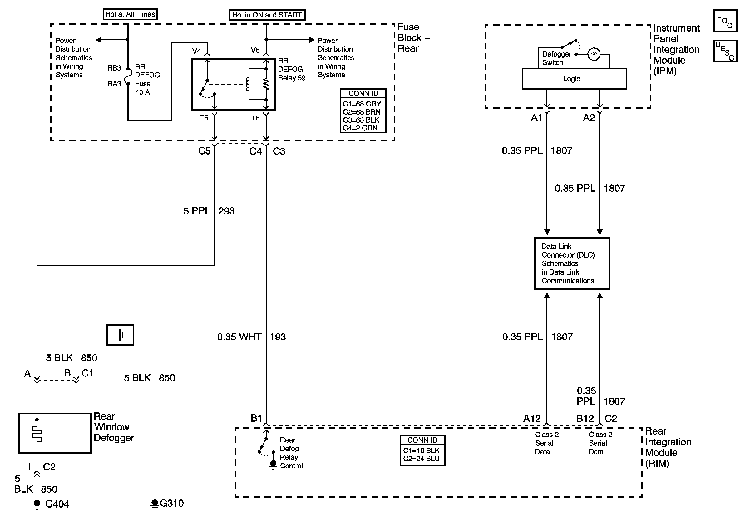
Defogger Schematics w/CJ2
Master Electrical Component List
Rear Window Defogger Description and Operation
ELC, RRFOG, ALDL Fuses, and the ELC, REAR DEFOG, F/TNKDR REL, and F/TNKDRLOCK Relays (Fuse Block Rear)
ELC, RRFOG, ALDL Fuses, and the ELC, REAR DEFOG, F/TNKDR REL, and F/TNKDRLOCK Relays (Fuse Block Rear)
Serial Data Class 2
Stationary Window Description
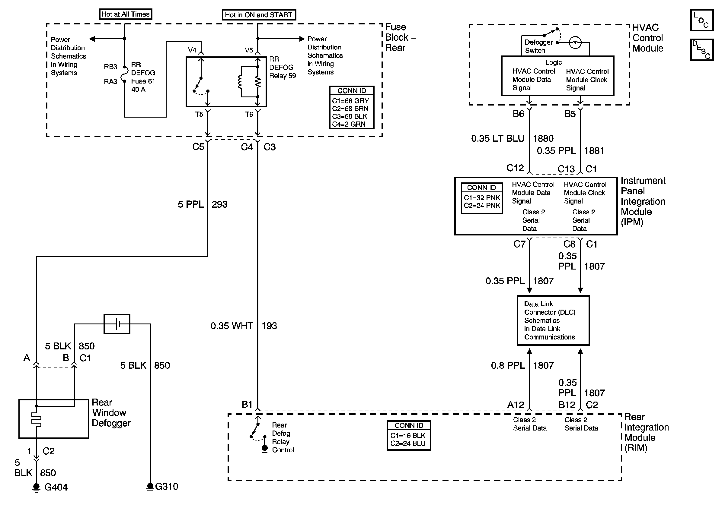
Defogger Schematics w/C67
Master Electrical Component List
Rear Window Defogger Description and Operation
ELC, RRFOG, ALDL Fuses, and the ELC, REAR DEFOG, F/TNKDR REL, and F/TNKDRLOCK Relays (Fuse Block Rear)
ELC, RRFOG, ALDL Fuses, and the ELC, REAR DEFOG, F/TNKDR REL, and F/TNKDRLOCK Relays (Fuse Block Rear)
Serial Data Class 2
Stationary Window Description