GM Service Manual Online
For 1990-2009 cars only
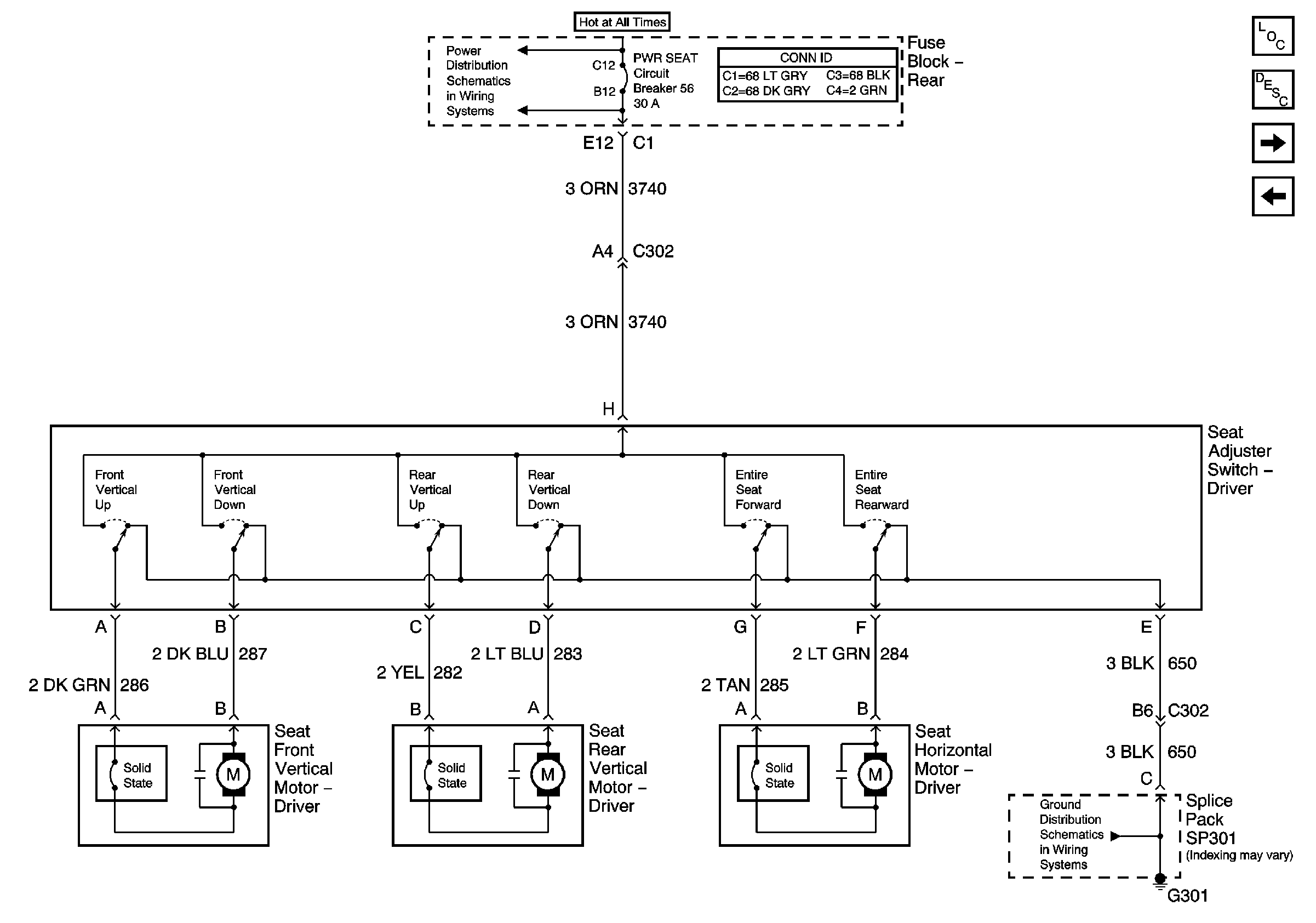
Figure 1:

Left Seat Switch and Motors (wo/A51)


Object Number: 885826  Size: FS
Master Electrical Component List
Power Seats System Description and Operation
PWR WDO and PWR SEAT Fuses (Fuse Block Rear)
Right Seat Switch and Motors (w/o A51)
Right Power Recline Switch and Motor
G300 and G301 (1 of 2)
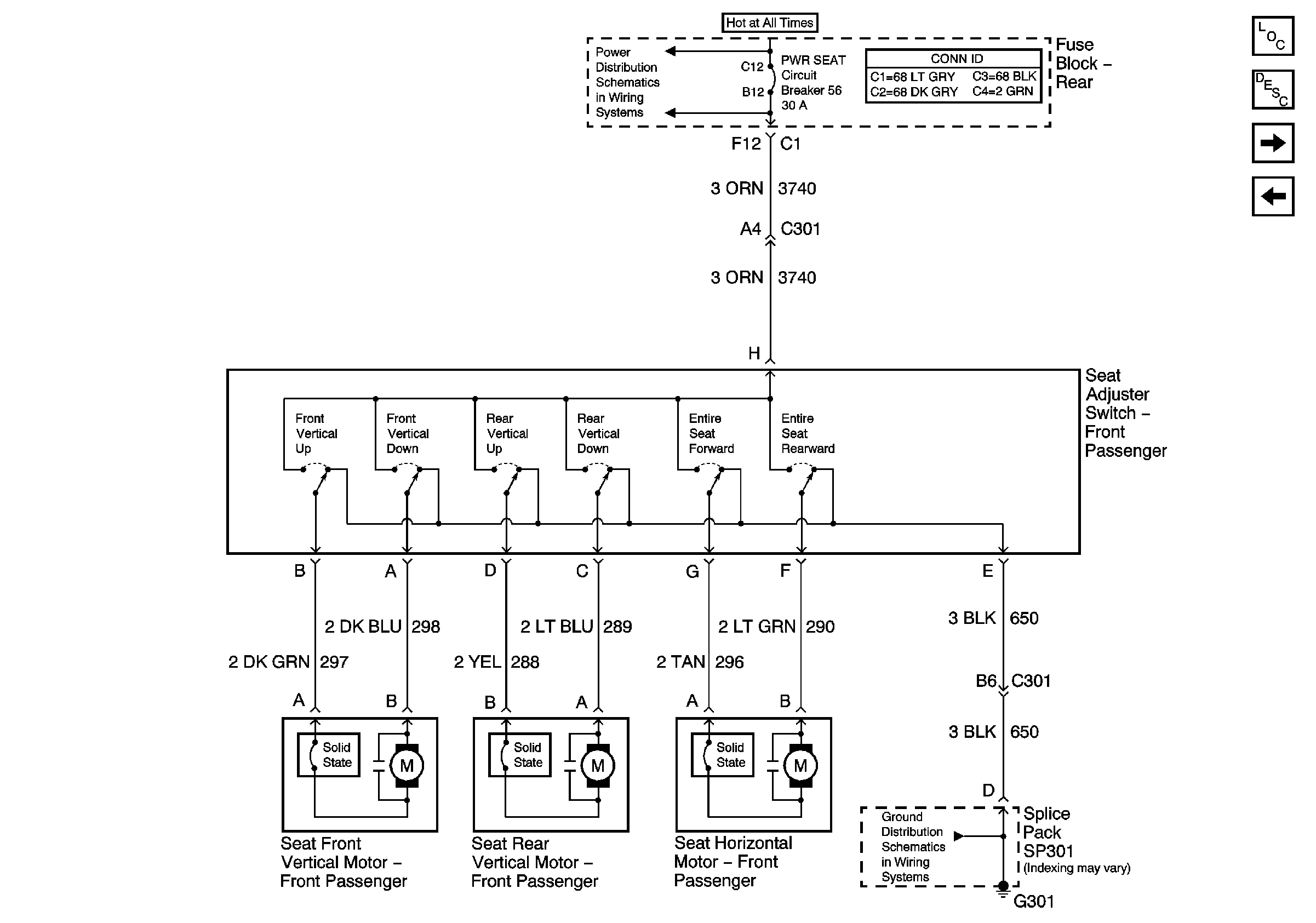
Figure 2:

Right Seat Switch and Motors (wo/A51)


Object Number: 885828  Size: FS
Master Electrical Component List
Power Seats System Description and Operation
PWR WDO and PWR SEAT Fuses (Fuse Block Rear)
G300 and G301 (1 of 2)
Left Seat Switch and Motors (w/A51)
Left Seat Switch and Motors (w/o A51)
PWR WDO and PWR SEAT Fuses (Fuse Block Rear)
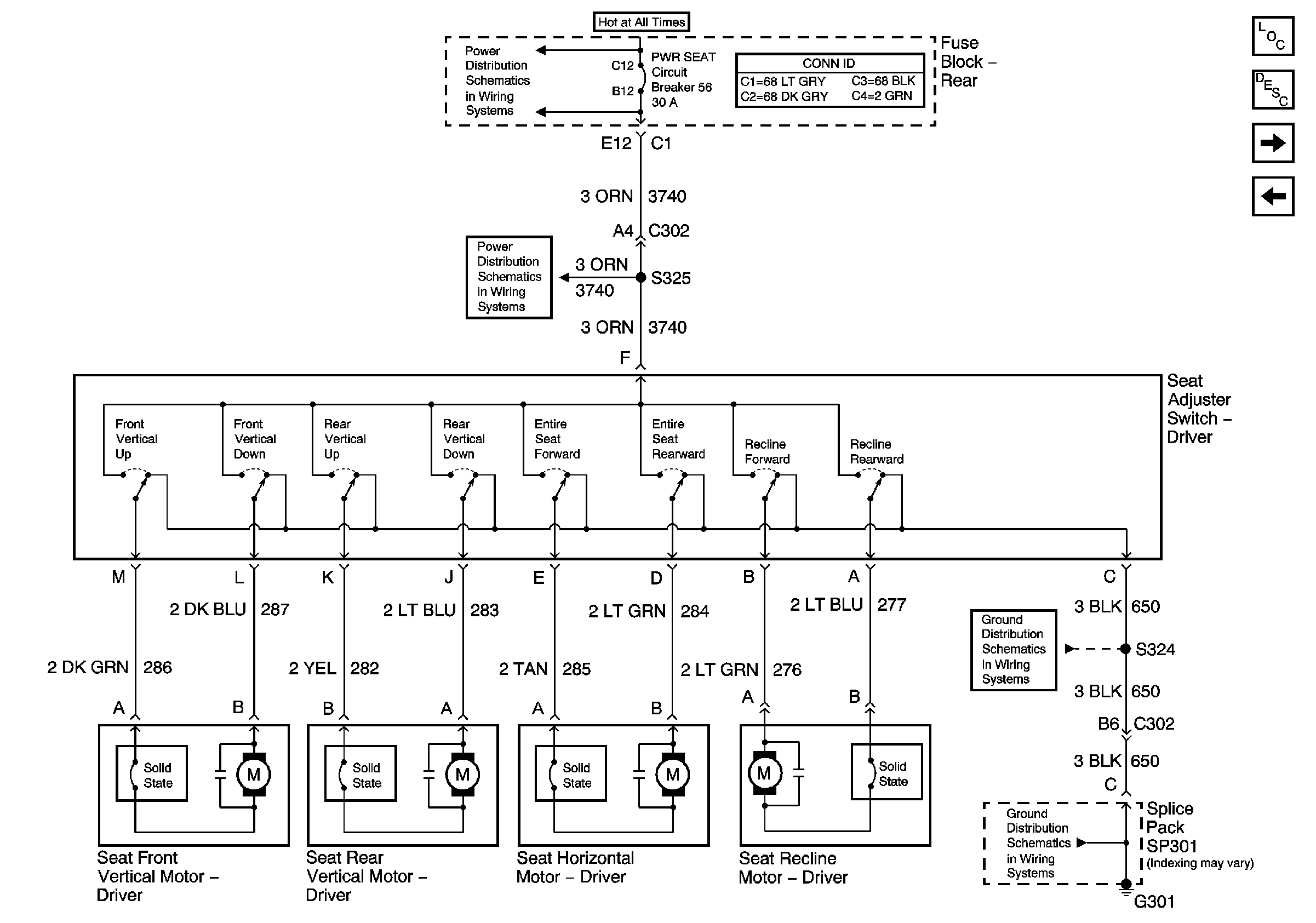
Figure 3:

Left Seat Switch and Motors (w/A51)


Object Number: 885829  Size: FS
Master Electrical Component List
Power Seats System Description and Operation
PWR WDO and PWR SEAT Fuses (Fuse Block Rear)
G301 (2 of 2)
G301 (2 of 2)
Right Seat Switch and Motors (w/A51)
Right Seat Switch and Motors (w/o A51)
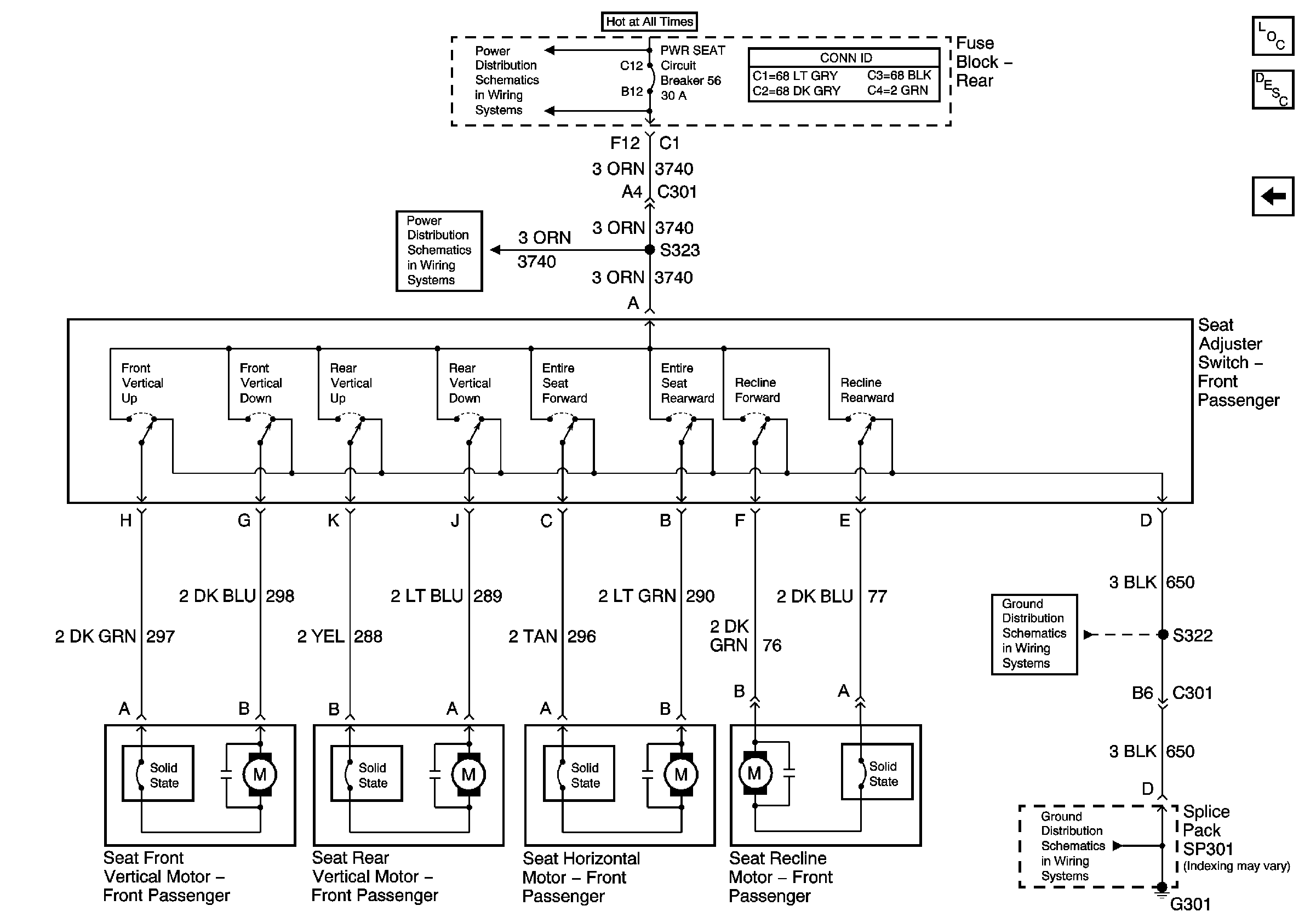
Figure 4:

Right Seat Switch and Motors (w/A51)


Object Number: 885831  Size: FS
Master Electrical Component List
Power Seats System Description and Operation
PWR WDO and PWR SEAT Fuses (Fuse Block Rear)
PWR WDO and PWR SEAT Fuses (Fuse Block Rear)
G300 and G301 (1 of 2)
G300 and G301 (1 of 2)
Left Seat Switch and Motors (w/A51)