GM Service Manual Online
For 1990-2009 cars only

Object Number: 807438  Size: B3

Your vehicle has a visual optical headlamp aiming system equipped with horizontal aim indicators. The aim has been preset at the factory and should need no further adjustment. This is true even though your horizontal aim indicators may not fall exactly on the "0" (zero) marks on their scales.

If your vehicle is damaged in an accident, the headlamp aim may be affected. Aim adjustment to the low beam may be necessary if it is difficult to see lane markers (for horizontal aim), or if oncoming drivers flash their high beams at you (for vertical aim). If you believe your headlamps need to be re-aimed, we recommend that you take your vehicle to your dealer for service. However, it is possible for you to re-aim your headlamps as described in the following procedure.

Notice: To make sure the headlamps are aimed properly, read all the instructions before beginning. Failure to follow these instructions could cause damage to headlamp parts.

The vehicle should be properly prepared as follows:

    • The vehicle should be placed so the headlamps are 25 ft. (7.6 m) from a light colored wall or other flat surface.
    • The vehicle must have all four tires on a perfectly level surface which is level all the way to the wall or other flat surface.
    • The vehicle should be placed so it is perpendicular to the wall or other flat surface.
    • The vehicle should not have any snow, ice or mud attached to it.
    • The vehicle should be fully assembled and all other work stopped while headlamp aiming is being done.
    • The vehicle should be normally loaded with a full tank of fuel and one person or 160 lbs. (75 kg) on the driver's seat.
    • Tires should be properly inflated.

Headlamp aiming is done with the vehicle low beam lamps. The high beam lamps will be correctly aimed if the low beam lamps are aimed properly.

The headlamp aiming devices are under the hood near the headlamps.


Object Number: 807442  Size: B3

If you believe your headlamps need horizontal (left/right) adjustment, follow the horizontal aiming procedure. If you believe your headlamps need only vertical (up/down) adjustment, follow only the vertical aiming procedure.

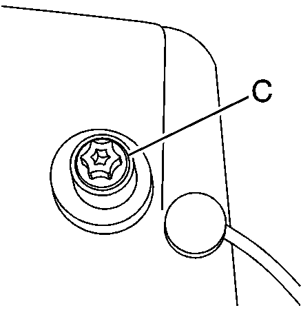
Adjustment screws can be turned with an E8 Torx® socket or T15 Torx® screwdriver.

Headlamp Horizontal Aiming

Turn the horizontal aiming screw (A) until the indicator (B) is lined up with zero.


Object Number: 810593  Size: B2

Once the horizontal aim is adjusted, then adjust the vertical aim.

Headlamp Vertical Aiming

Notice: Horizontal aiming must be performed before making any adjustments to the vertical aim. Adjusting the vertical aim first will result in an incorrect headlamp aim.

  1. Find the aim dot on the lens of the low beam lamps.

  2. Object Number: 810592  Size: B2
  3. Measure the distance from the ground to the aim dot on each lamp; if left low beam, subtract two inches. Record this distance.
  4. At the wall or other flat surface, measure from the ground upward the recorded distance from Step 2 and draw or tape a horizontal line the width of the vehicle.

  5. Object Number: 808009  Size: B3
  6. Turn on the low-beam headlamps and place a piece of cardboard or equivalent in front of the headlamp not being aimed. This should allow only the beam of light from the headlamp being aimed to be seen on the flat surface.
  7. Notice: Do not cover a headlamp to improve beam cut-off when aiming. Covering a headlamp may cause excessive heat build-up which may cause damage to the headlamp.


    Object Number: 822593  Size: B3

    Object Number: 810595  Size: A2

    Turn the vertical aiming screw (C) until the headlamp beam is aimed to the horizontal tape line. The top edge of the cut-off should be positioned at the bottom edge of the horizontal tape line.

  8. Repeat Steps 4 and 5 for the opposite headlamp.