GM Service Manual Online
For 1990-2009 cars only
Makes
🢒
Pontiac
🢒
2003
🢒
Bonneville
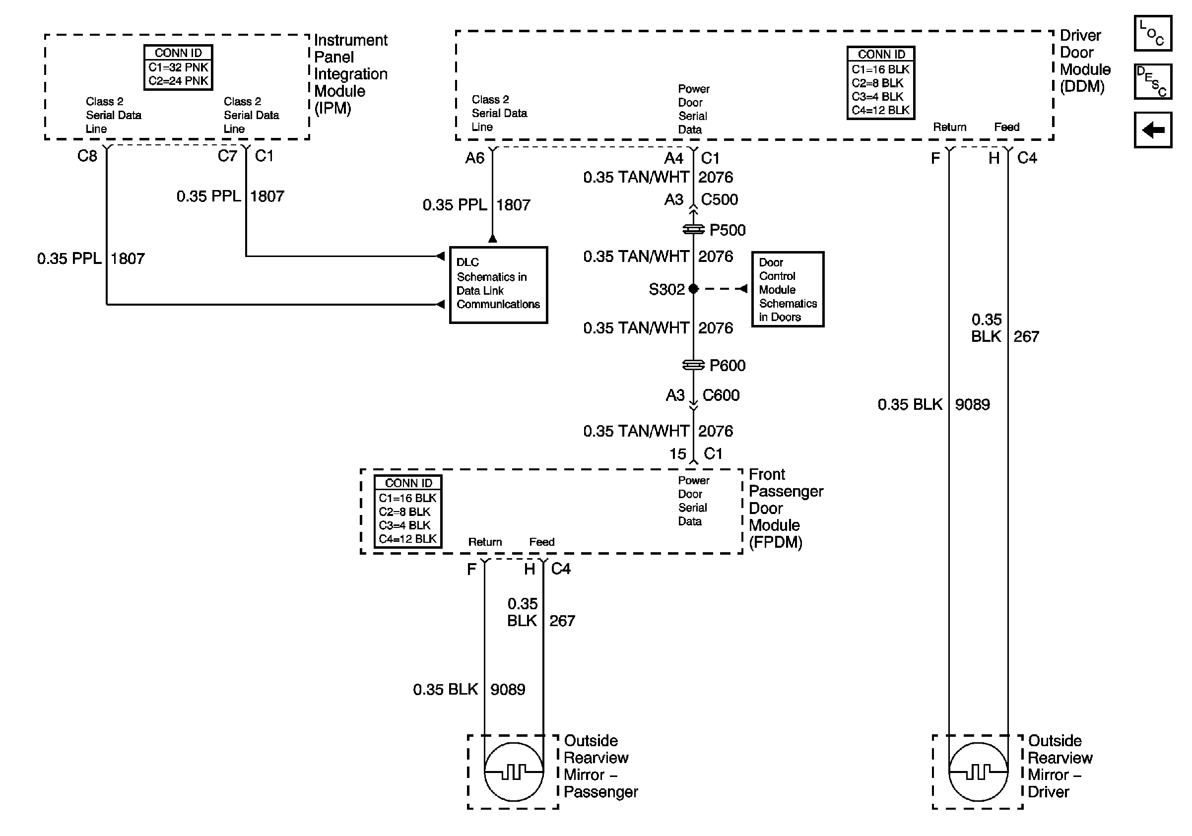
🢒 Heated Mirrors (w/DK5)
Heated Mirrors (w/DK5)
Heated Mirrors (w/DK5)
Master Electrical Component List
Serial Data Class 2
Simple Bus Interface (SBI)
Right Mirror (w/A45)