GM Service Manual Online
For 1990-2009 cars only
Makes
🢒
Pontiac
🢒
2003
🢒
Bonneville
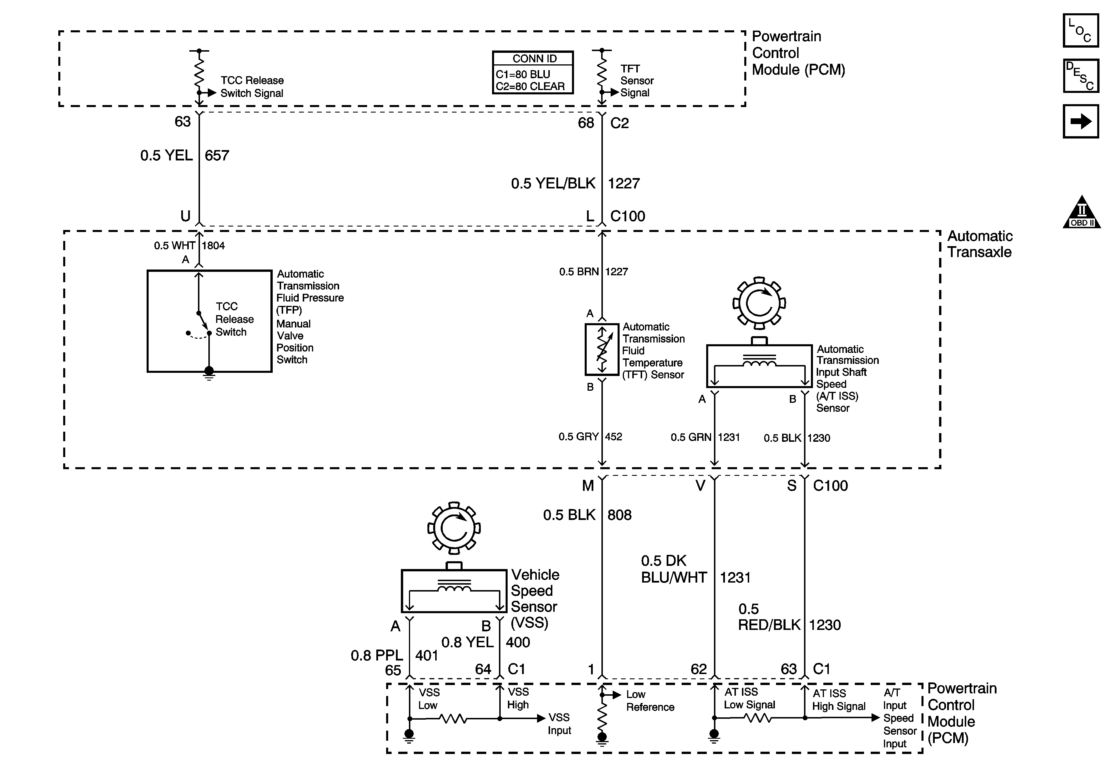
🢒 Transaxle Inputs
Transaxle Inputs
Transaxle Inputs
Master Electrical Component List
Power to the Transaxle and Solenoid Controls
Transmission Component and System Description
OBD II Symbol Description Notice