GM Service Manual Online
For 1990-2009 cars only
Makes
🢒
Pontiac
🢒
2003
🢒
Bonneville
🢒 Compass
Compass
Compass
Master Electrical Component List
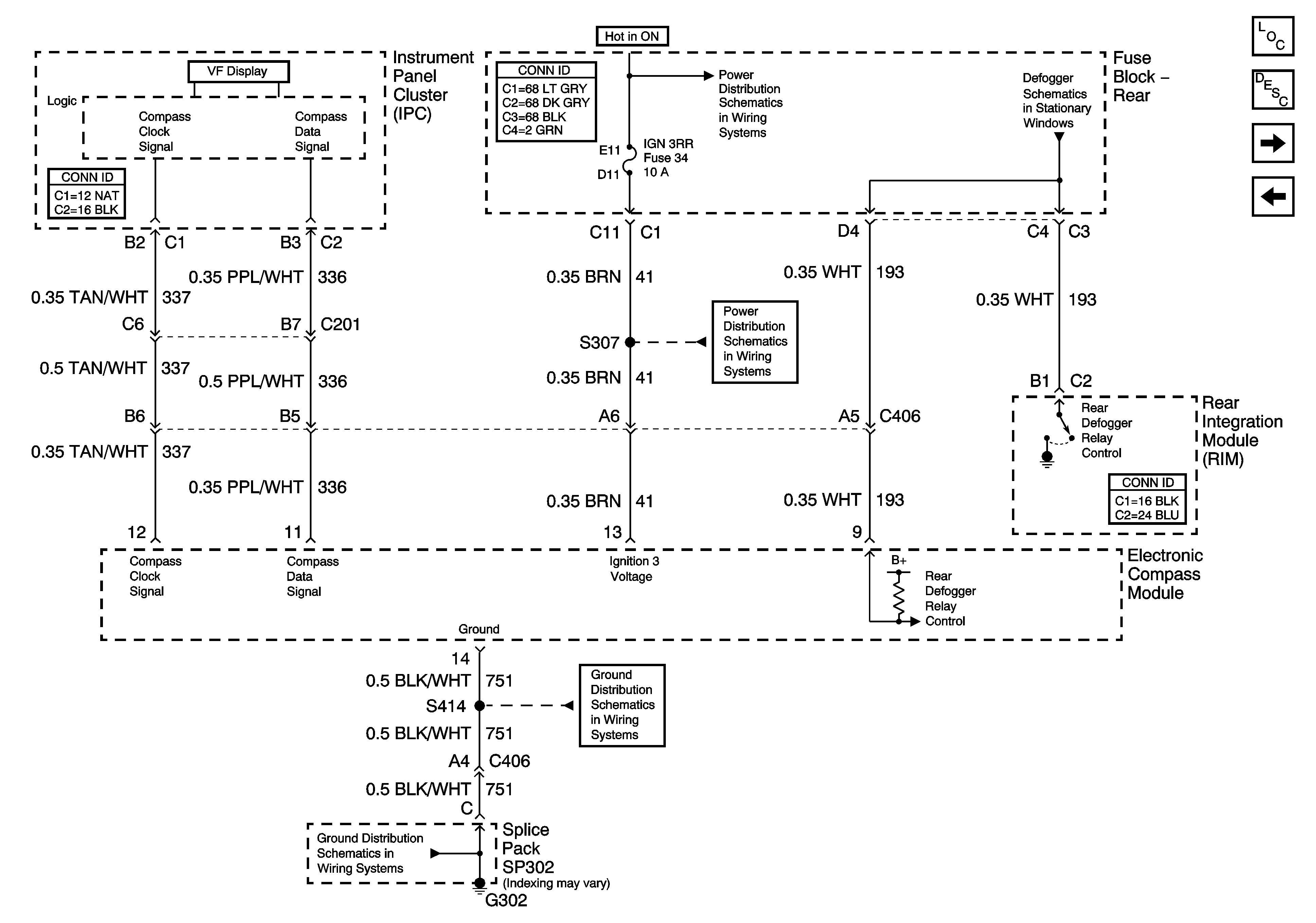
Instrument Cluster Description and Operation
G302
IGN3 and ABS Fuses (Fuse Block Rear)
IGN3 and ABS Fuses (Fuse Block Rear)
G302
Defogger Schematic
DIC Switch (w/U50)
Systems Monitor Washer Fluid, Check oil Level, Check Gauges, Tire Pressure, Door and Trunk Ajar Indicator