GM Service Manual Online
For 1990-2009 cars only
Makes
🢒
Pontiac
🢒
2004
🢒
Bonneville
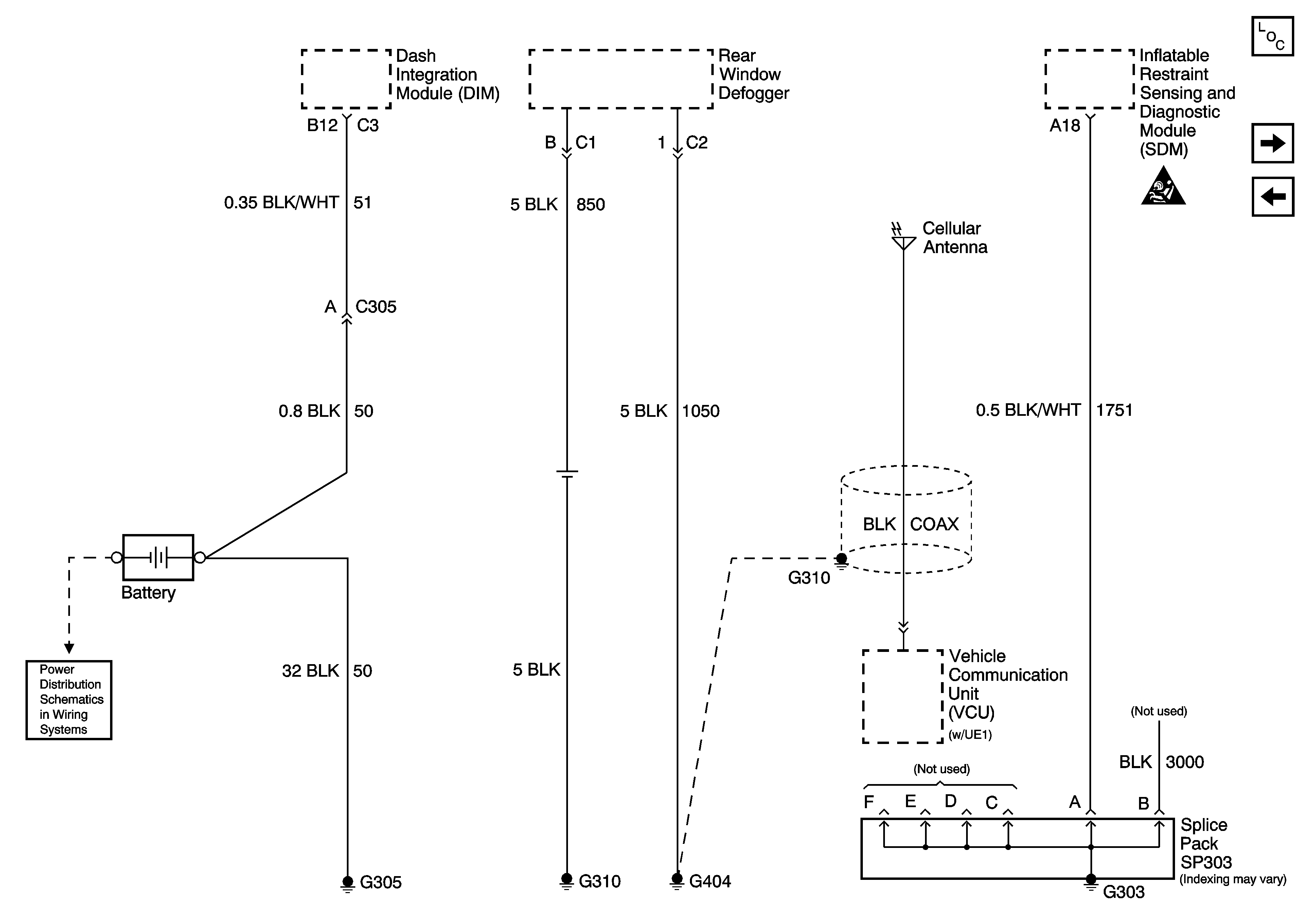
🢒 G303, G305, G310, and G404
G303, G305, G310, and G404
G303, G305, G310, and G404
Master Electrical Component List
SIR Caution for Zoning
Underhood Fuse Block B+ Bus - 3.8L
G401 (1 of 2)
G302