GM Service Manual Online
For 1990-2009 cars only
Makes
🢒
Pontiac
🢒
2004
🢒
Bonneville
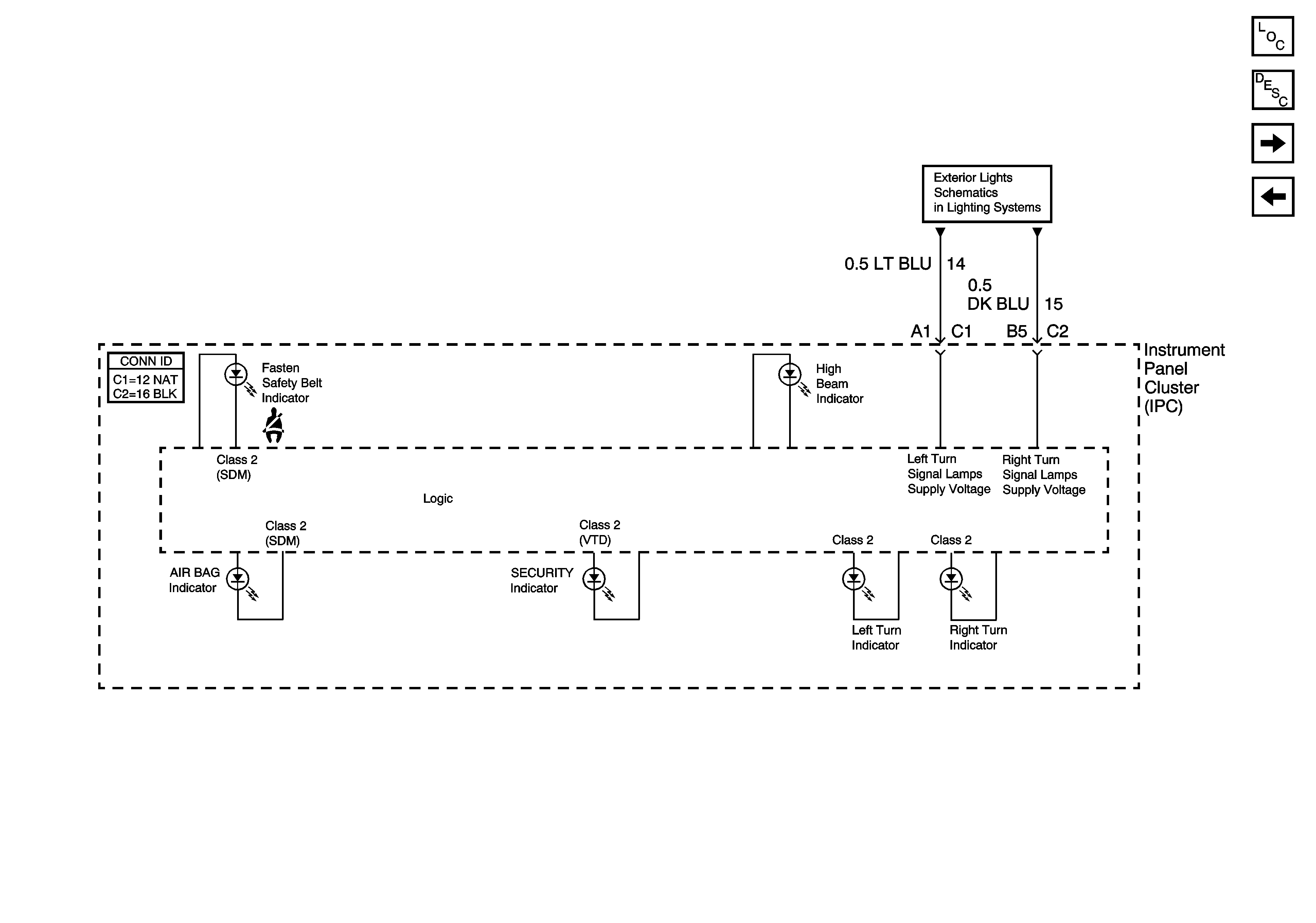
🢒 DIM, RIM, PCM, and VTD Signals Seat Belt, High Beam, Air Bag, and Turn Signal Indicators
DIM, RIM, PCM, and VTD Signals Seat Belt, High Beam, Air Bag, and Turn Signal Indicators
DIM, RIM, and PCM Signals - Seat Belt, High Beam, Air Bag, and Turn Signal Indicators
Master Electrical Component List
Indicator/Warning Message Description and Operation
Turn Signal Lamps and Indicators
Systems Monitor Washer Fluid, Check oil Level, Check Gauges, Tire Pressure, Door and Trunk Ajar Indicator
DIM, PCM, and EBCM Signals Traction, ABS, Brake, Battery and MIL Indicators