GM Service Manual Online
For 1990-2009 cars only
Makes
🢒
Pontiac
🢒
2004
🢒
Bonneville
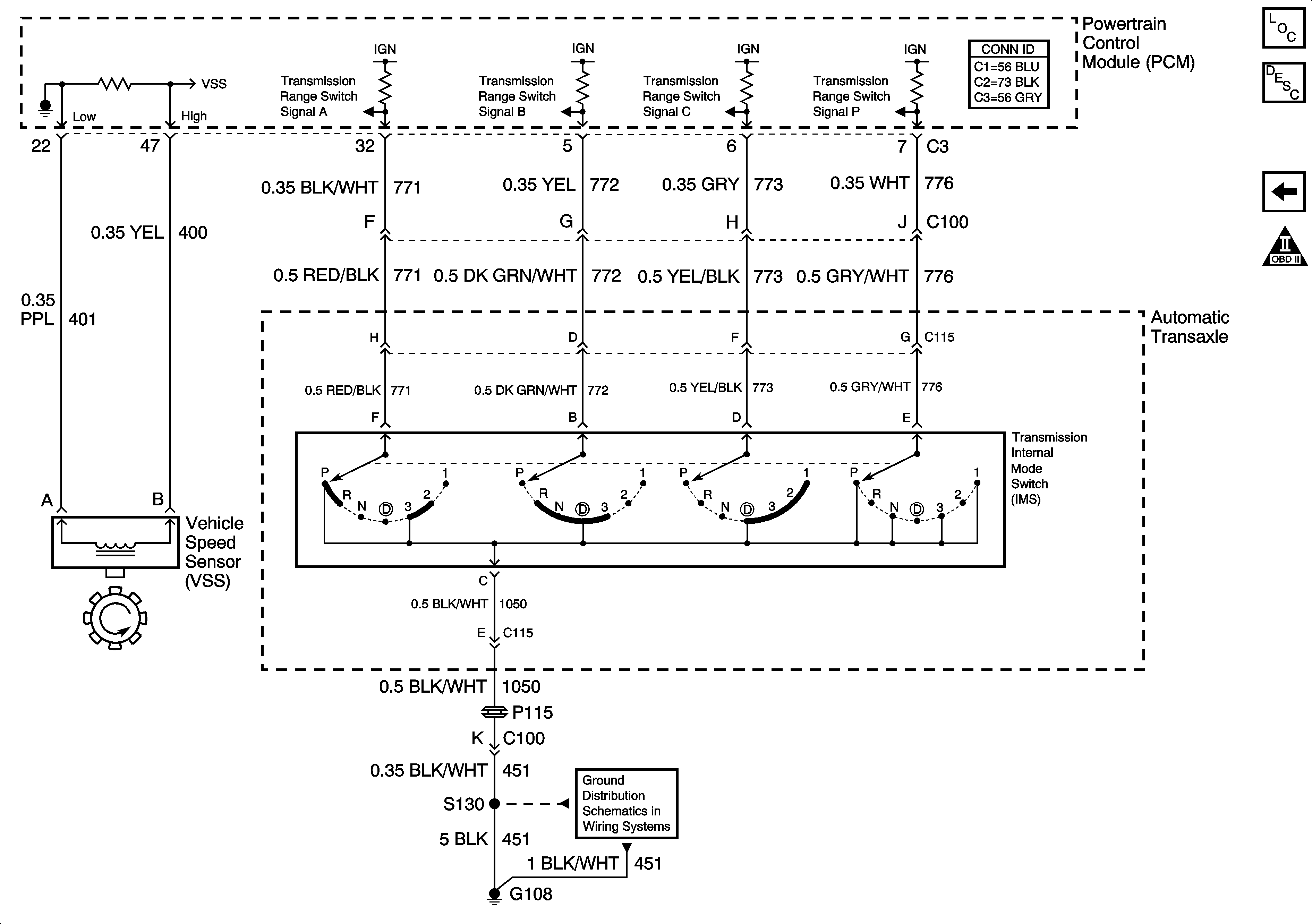
🢒 Transmission Internal Mode Switch (IMS) and VSS
Transmission Internal Mode Switch (IMS) and VSS
Transmission Internal Mode Switch (IMS) and VSS
G108, G110, and G111 - 4.6L
Master Electrical Component List
Automatic Transmission Inline 20-Way Connector Description
Sensors
OBD II Symbol Description Notice