GM Service Manual Online
For 1990-2009 cars only
Figure 1:

DIM Power and Ground


Object Number: 885742  Size: FS
Master Electrical Component List
Body Control System Description and Operation
Ignition Inputs
IGN SW and PRK/REV Fuses
IGN SW and PRK/REV Fuses
Serial Data Class 2
HTDST RF, HTDST LF, DIM, and MEM Fuses
HTDST RF, HTDST LF, DIM, and MEM Fuses
G200
Figure 2:

Ignition Inputs


Object Number: 766389  Size: FS
Master Electrical Component List
Body Control System Description and Operation
DIM Inputs/Outputs
DIM Power and Ground
Ignition Switch Positions
Ignition Switch Positions
Serial Data Class 2
Figure 3:

DIM Inputs/Outputs


Object Number: 1364666  Size: FS
Master Electrical Component List
Body Control System Description and Operation
IPM Power and Ground
Ignition Inputs
Steering Wheel Controls Schematics
Headlamp Controls
Headlamp Controls
DRL Controls and High Beam Headlamps
DRL Controls and Low Beam Headlamps
Headlamp Controls
Headlamp Controls
Park LP Relay and License Lamps
Horn Schematic
Power and Ground
DRL Controls and Low Beam Headlamps
DRL Controls and Low Beam Headlamps
DRL Controls and High Beam Headlamps
High Beam Headlamps
DRL Controls and Low Beam Headlamps
High Beam Headlamps
Fog Lamp Schematics - 3.8L
Dimming Control
Figure 4:

IPM Power and Ground


Object Number: 885744  Size: FS
Master Electrical Component List
Body Control System Description and Operation
IPM Input/Outputs (CJ2) - 1 of 2
DIM Inputs/Outputs
HVAC BATT, DRV MDL, PASS MDL, and RRDRMDL Fuses
HVAC Fuse
HVAC Fuse
Serial Data Class 2
G201 - 2 of 2
G201 - 2 of 2
Figure 5:

IPM Input/Outputs w/CJ2 - 1 of 2


Object Number: 1546737  Size: FS
Master Electrical Component List
Body Control System Description and Operation
IPM Input/Outputs (CJ2) - 2 of 2
IPM Power and Ground
Dimming Control
Headlamp Controls
Headlamp Controls
Dimming Control
Headlamp Controls
Headlamp Controls
Indicators and the Traction Control Switch
Rear Compartment Lid Release
Fog Lamp Schematics - 3.8L
Left Courtesy, Rear Compartment, and Ignition Cylinder Lamps
Dimming Control
Radio, Door, and Ignition Switch Audible Warnings
HVAC Control
Figure 6:

IPM Input/Outputs w/CJ2 - 2 of 2


Object Number: 664429  Size: FS
Master Electrical Component List
Body Control System Description and Operation
RIM Power and Ground
IPM Input/Outputs (CJ2) - 1 of 2
Air Delivery
Temperature Sensors
Blower Control
Figure 7:

RIM Power and Ground


Object Number: 885747  Size: FS
Master Electrical Component List
Body Control System Description and Operation
RIM Inputs/Outputs - 1 of 2
IPM Input/Outputs (CJ2) - 2 of 2
IGN SW and PRK/REV Fuses
IGN SW and PRK/REV Fuses
IGN SW and PRK/REV Fuses
Serial Data Class 2
G302
G302
G402
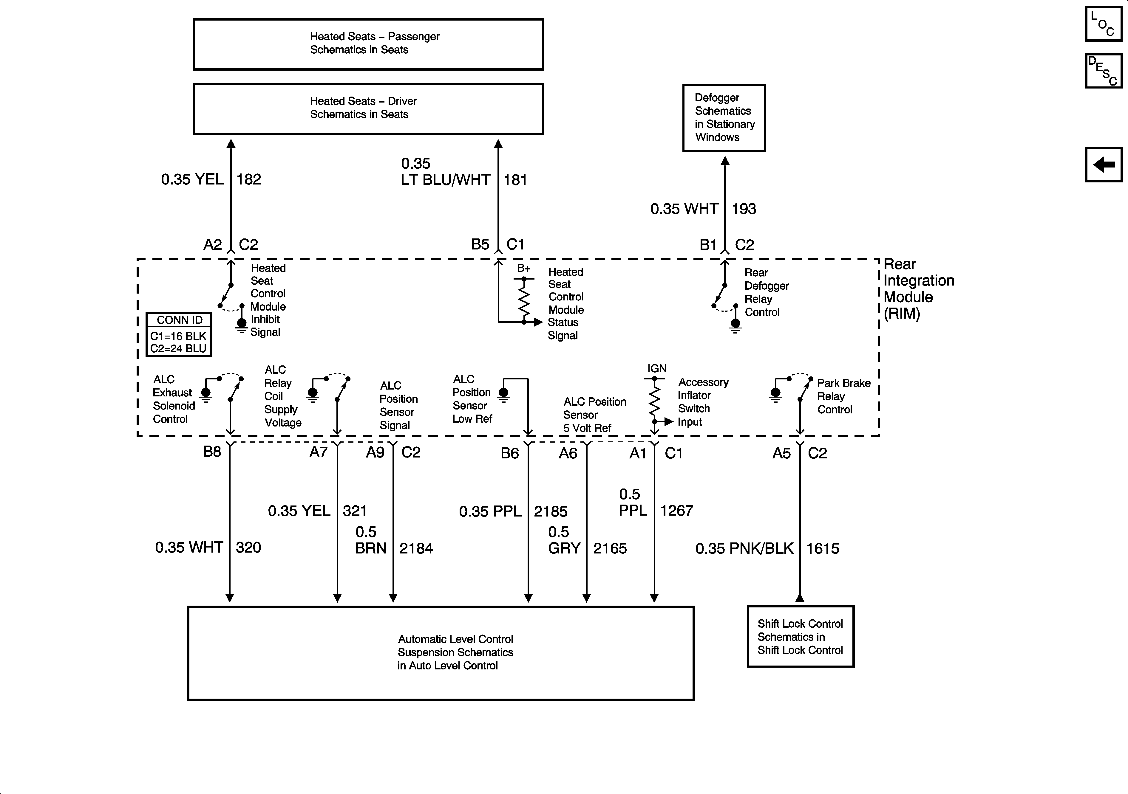
Figure 8:

RIM Inputs/Outputs - 1 of 2


Object Number: 1546745  Size: FS
Master Electrical Component List
Body Control System Description and Operation
RIM Inputs/Outputs - 2 of 2
RIM Power and Ground
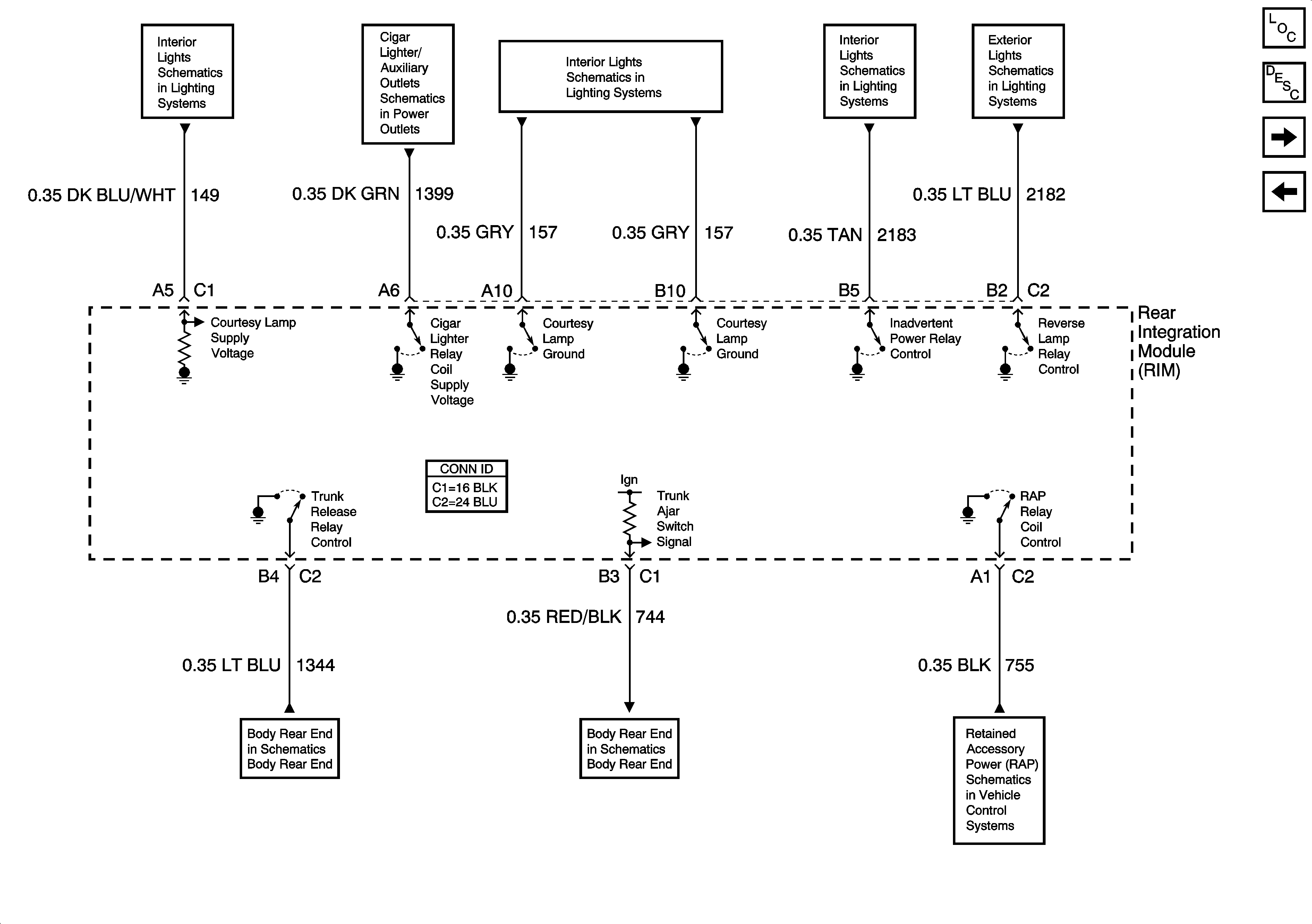
Right Courtesy, and I/P Compartment Lamps
Cigar Lighter/Auxiliary Output
Right Courtesy, and I/P Compartment Lamps
nterior Lamp Relay Controls
Backup Lamps
Rear Compartment Lid Release
Rear Compartment Lid Release
Retained Accessory Power (RAP)
Figure 9:

RIM Inputs/Outputs - 2 of 2


Object Number: 1546748  Size: FS
Master Electrical Component List
Body Control System Description and Operation
RIM Inputs/Outputs - 1 of 2
Heated Seat - Power, Ground, and RIM Control
Heated Seat Power, Ground, and RIM Controls
Defogger Schematic (CJ2)
ALC
Power, Ground, and Solenoid Circuits