GM Service Manual Online
For 1990-2009 cars only

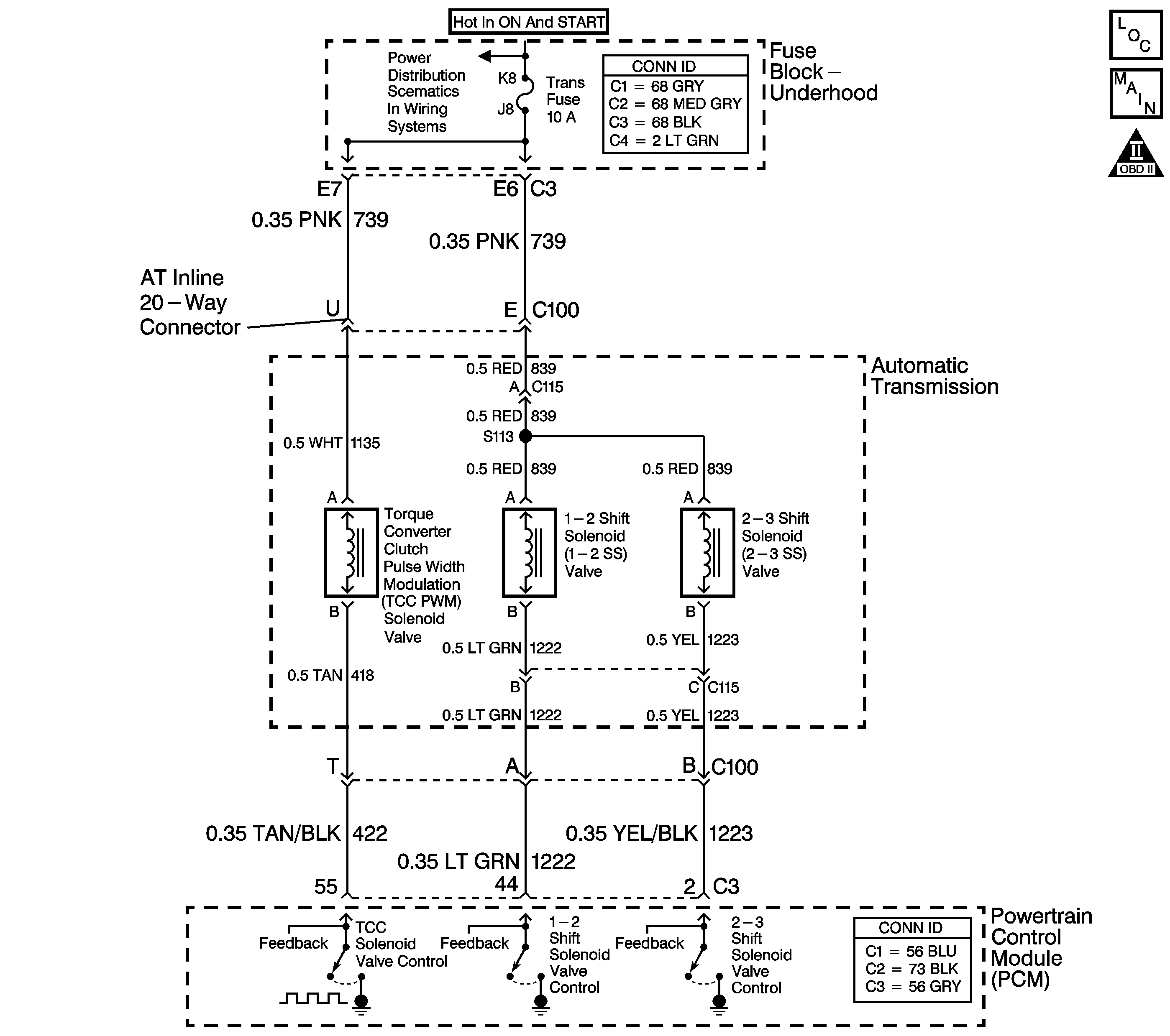
Object Number: 1555078  Size: LF
Master Electrical Component List
Automatic Transmission Controls Schematics
OBD II Symbol Description Notice

Circuit Description

The ignition 1 voltage is supplied to the torque converter clutch pulse width modulated (TCC PWM) solenoid valve. The powertrain control module (PCM) controls the ON and OFF time of the TCC PWM solenoid by controlling the ground side of the TCC solenoid valve control circuit. The PCM uses a PWM duty cycle, in order to control application and release of the TCC. When the solenoid is commanded OFF, the PCM senses high voltage. When the solenoid is commanded ON, the PCM senses low voltage.

When the PCM detects a continuous open or short to ground in the TCC Solenoid valve control circuit, then DTC P2764 sets. DTC P2764 is a type B DTC.

DTC Descriptor

This diagnostic procedure supports the following DTC:

DTC P2764 Torque Converter Clutch (TCC) Pressure Control (PC) Solenoid Control Circuit Low Voltage

Conditions for Running the DTC

    • The engine run time is greater than 5 seconds.
    • TCC PWM solenoid valve duty cycle is less than or equal to 0 percent.

Conditions for Setting the DTC

DTC P2764 sets when the PCM detects an open and short to ground in the TCC PWM solenoid valve circuit.

Action Taken When the DTC Sets

    • The PCM illuminates the malfunction indicator lamp (MIL) during the second consecutive trip in which the Conditions for Setting the DTC are met.
    • The PCM commands maximum line pressure.
    • The PCM inhibits fourth gear when the transmission is in Hot Mode.
    • The PCM freezes transmission adaptive function.
    • The PCM records the operating conditions when the Conditions for Setting the DTC are met. The PCM stores this information as Freeze Frame and Failure records.
    • The PCM stores DTC P2764 in PCM history.

Conditions for Clearing the MIL/DTC

    • A scan tool can clear the MIL/DTC.
    • The PCM clears the DTC from PCM history if the vehicle completes 40 warm-up cycles without an emission related diagnostic fault occurring.
    • The PCM cancels the default actions when the ignition is OFF long enough in order to power down the PCM.

Diagnostic Aids

Potentially DTC P0742 can false fail and may have been set due to another DTC.

Test Description

The number below refers to the step number on the diagnostic table.

  1. Listen for a click when the solenoid energizes. Use a stethoscope if necessary.

DTC P2764

Step

Action

Values

Yes

No

1

Did you perform the Diagnostic System Check - Vehicle?

--

Go to Step 2

Go to Diagnostic System Check - Vehicle in Vehicle DTC Information

2

  1. Install a scan tool.
  2. Turn ON the ignition with the engine OFF.
  3. Important: 

       • Before clearing the DTC, use the scan tool in order to record the PCM Freeze Frame and the PCM Failure Records. Using the Clear Info function erases the Freeze Frame and Failure Records from the PCM.
       • Using the Clear Info function erases stored DTCs in the PCM.

  4. Record the DTC Freeze Frame and Failure Records.
  5. Clear the DTC.
  6. Use the scan tool in order to command the TCC PWM solenoid ON and OFF.

Does the solenoid click when commanded ON and OFF?

--

Go to Intermittent Conditions in Engine Controls - 4.6L

Go to Step 3

3

  1. Turn OFF the ignition.
  2. Disconnect the AT 20-way inline harness connector.
  3. Install the J 44152 Jumper Harness to the PCM side of the 20-way connector.
  4. Turn ON the ignition with the engine OFF.
  5. With the test lamp connected to ground, probe the circuit, terminal U, of the J 44152 .

Does the test lamp illuminate?

--

Go to Step 4

Go to Step 7

4

  1. Turn OFF the ignition.
  2. Install the J 44152 to the transmission side of the 20-way connector.
  3. Using the DMM, measure the resistance between terminal U and T of the J 44152 .
  4. Refer to Component Resistance .

Does the resistance measure within the specified range?

10.0-15.0ohms

Go to Step 5

Go to Step 8

5

Using the DMM, measure the resistance between terminal U of the J 44152 and ground.

Does the resistance measure greater than the specified value?

50Kohms

Go to Step 6

Go to Step 8

6

  1. Disconnect the wiring harness assembly from the PCM.
  2. Test the TCC solenoid valve circuit for the following conditions:
  3. • Open circuit
    • Short to ground
    • If a short to ground is found also check for an open fuse.

Refer to Testing for Continuity , Testing for Short to Ground and Wiring Repairs in Wiring Systems.

Did you find and correct the condition?

--

Go to Step 12

Go to Step 9

7

  1. Turn OFF the ignition.
  2. Disconnect the wiring harness assembly from the PCM.
  3. Test the ignition 1 voltage circuit of the TCC PWM solenoid valve for the following conditions:
  4. • Open circuit
    • Short to ground
    • If a short to ground is found also check for an open fuse.

Refer to Testing for Continuity , Testing for Short to Ground and Wiring Repairs in Wiring Systems.

Did you find and correct the condition?

--

Go to Step 12

--

8

Test the TCC PWM solenoid wiring from the 20-way connector to the TCC PWM solenoid connector for the following conditions:

    • Open circuit
    • Short to ground

Refer to Testing for Continuity and Testing for Short to Ground in Wiring Systems.

Did you find a condition?

--

Go to Step 10

Go to Step 11

9

Replace the PCM.

Refer to Control Module References in Computer/Integrating Systems.

Is the action complete?

--

Go to Step 12

--

10

Important: The automatic transmission wiring harness consists of two separate harnesses, the Automatic Transmission Wiring Harness Assembly and the Automatic Transmission Wiring Extension Harness Assembly. In order to avoid the unnecessary replacement of parts, only replace the Automatic Transmission Wiring Harness Assembly.

Replace the automatic transmission wiring harness.

Refer to Input Speed Sensor and Wiring Harness Removal in the 4T80-E section of the Transmission Unit Repair Manual.

Is the action complete?

--

Go to Step 12

--

11

Replace the TCC PWM solenoid valve.

Refer to Control Valve Upper Body Disassemble in the 4T80-E section of the Transmission Unit Repair Manual.

Is the action complete?

--

Go to Step 12

--

12

Perform the following procedure in order to verify the repair:

  1. Select DTC.
  2. Select Clear Info.
  3. Turn ON the ignition, with the engine OFF.
  4. Select Specific DTC.
  5. Enter DTC P2764.

Has the test run and passed?

--

Go to Step 13

Go to Step 2

13

With the scan tool, observe the stored information, capture info and DTC info.

Does the scan tool display any DTCs that you have not diagnosed?

--

Go to Diagnostic Trouble Code (DTC) List - Vehicle in Vehicle DTC Information

System OK