GM Service Manual Online
For 1990-2009 cars only

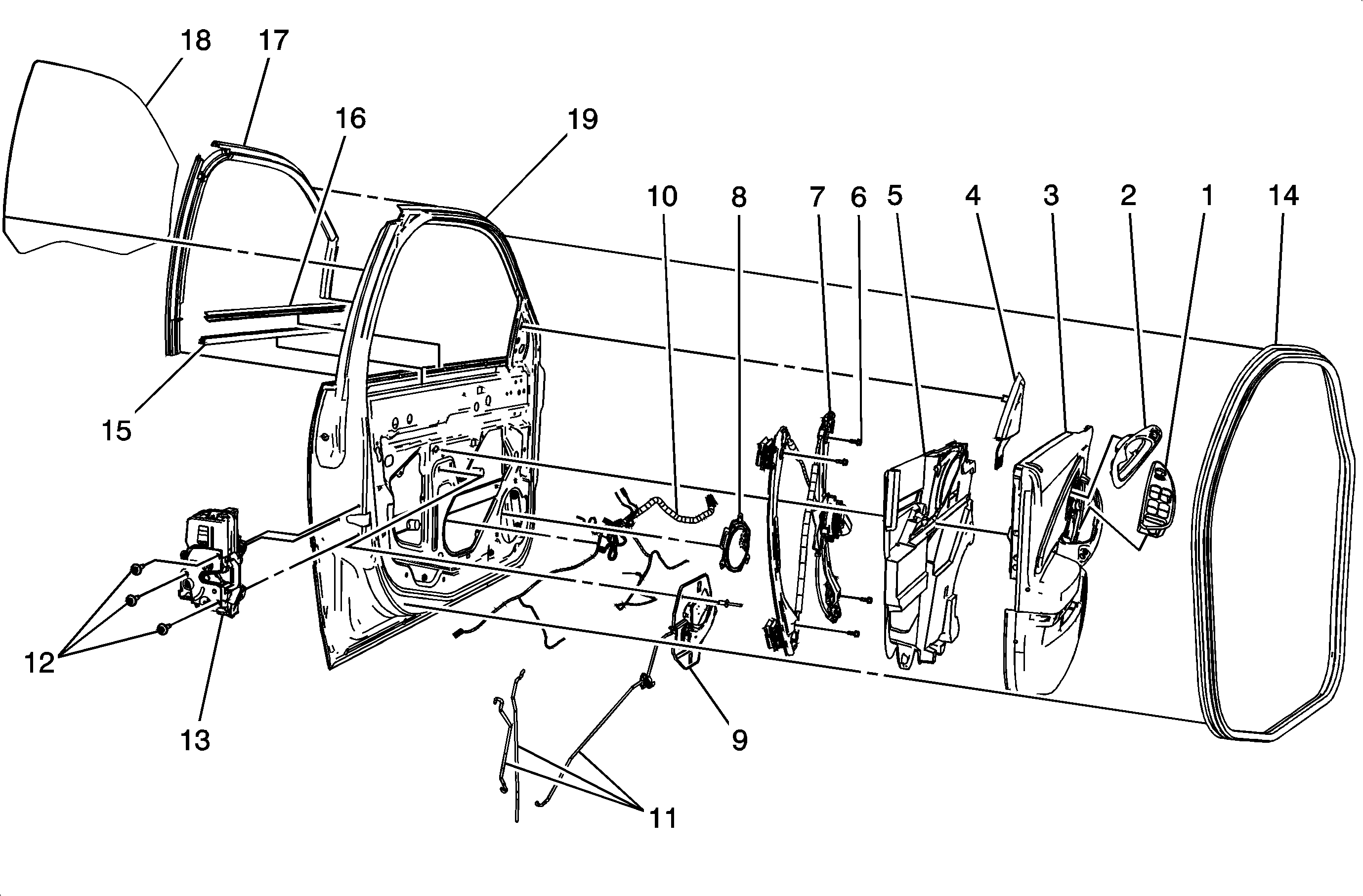
Object Number: 1327904  Size: MF

Callout

Component Name

Fastener Tightening Specifications: Refer to Fastener Notice .

1

Bezel Assembly, Front Side Door Window Multifunctional Switch Assembly

TIP: Use a small flat-bladed tool to release the bezel retainer.

2

Handle, Inside Front Side Door

TIP: Use a small flat-bladed tool to release the bezel retainer.

3

Panel, Trim Front Door

Tip: Push the center of the trim panel fasteners to remove.

4

Extension, Front Door Trim Panel Upper

Tip: Pull straight up and out from the door trim panel.

5

Deflector, Front Side Door Water

6

Bolt, Front Side Door Window Regulator (Qty: 4)

Notice: Refer to Fastener Notice in the Preface section.

Tighten: to 10 N·m (89 lb ft)

7

Regulator Assembly, Front Side Door Window

Tip: Loosen the window regulator bolts, lift up and out from the key slots.

8

Speaker, Front Side Door Radio

Tip: Drill out the rivets.

9

Handle, Front Side Door

10

Harness, Front Side Door Wiring

11

Rod, Front Side Door Locking

12

Screw, Front Side Door Lock (Qty: 3)

Tighten: to 10 N·m (89 lb ft)

13

Lock, Front Side Door

14

Weatherstrip, Front Side Door

15

Seal, Front Side Door Window Inner

16

Seal, Front Side Door Window Outer

17

Weatherstrip, Front Side Door Window

18

Window, Front Side Door

19

Door, Front Side

Window Replacement, refer to Front Side Door Window Replacement for additional information.