GM Service Manual Online
For 1990-2009 cars only

REAR UNDERBODY NOISE (ADD RUBBER STRIP)

MODELS: 1993 CHEVROLET CAMARO 1993 PONTIAC FIREBIRD

CONDITION:

SOME OWNERS (BUILT PRIOR TO VIN BREAKPOINTS LISTED BELOW) MAY COMMENT ON A REAR UNDERBODY NOISE.

CAUSE:

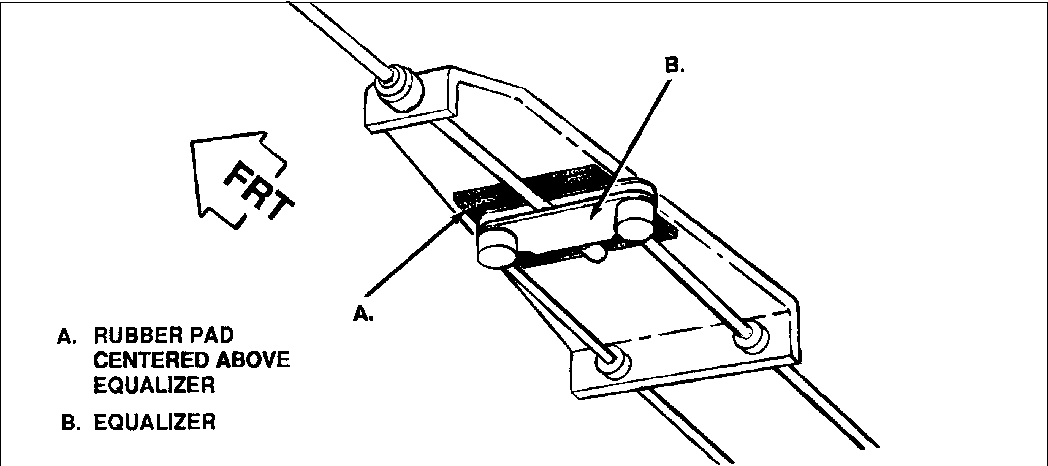
PARK BRAKE EQUALIZER MAY RATTLE AGAINST THE EQUALIZER UNDERBODY BRACKET.

CORRECTION:

TO ELIMINATE THE POSSIBILITY OF THIS RATTLE OCCURRING, A STRIP OF RUBBER WAS ADDED BETWEEN THE EQUALIZER AND THE EQUALIZER BRACKET. THIS STRIP OF RUBBER WAS IN PRODUCTION AFTER THE VINS LISTED BELOW.

CHEVROLET - 2G1FP2258P2130822 PONTIAC - 2G2FU22P8P2211963

IF A RATTLE OCCURS ON A VEHICLE BUILT PRIOR TO THIS, INSTALL AN ADHESIVE BACKED RUBBER STRIP, P/N 10249163, ON THE EQUALIZER BRACKET AS SHOWN IN THE ILLUSTRATION.

CLEAN THE EQUALIZER BRACKET AND STICK THE RUBBER PAD ON. CENTER THE RUBBER PAD ABOVE THE EQUALIZER WHEN THE PARK BRAKE IS IN THE DISENGAGED POSITION.

PART AVAILABILITY:

PARTS ARE CURRENTLY AVAILABLE FROM GMSPO.

WARRANTY INFORMATION:

LABOR OPERATION: T-3376 LABOR TIME: 0.3 HR.

FIGURES: 1


Object Number: 85598  Size: MF

GENERAL MOTORS BULLETINS ARE INTENDED FOR USE BY PROFESSIONAL TECHNICIANS, NOT A "DO-IT-YOURSELFER". THEY ARE WRITTEN TO INFORM THOSE TECHNICIANS OF CONDITIONS THAT MAY OCCUR ON SOME VEHICLES, OR TO PROVIDE INFORMATION THAT COULD ASSIST IN THE PROPER SERVICE OF A VEHICLE. PROPERLY TRAINED TECHNICIANS HAVE THE EQUIPMENT, TOOLS, SAFETY INSTRUCTIONS AND KNOW-HOW TO DO A JOB PROPERLY AND SAFELY. IF A CONDITION IS DESCRIBED, DO NOT ASSUME THAT THE BULLETIN APPLIES TO YOUR VEHICLE, OR THAT YOUR VEHICLE WILL HAVE THAT CONDITION. SEE A GENERAL MOTORS DEALER SERVICING YOUR BRAND OF GENERAL MOTORS VEHICLE FOR INFORMATION ON WHETHER YOUR VEHICLE MAY BENEFIT FROM THE INFORMATION.

COPYRIGHT 1993 GENERAL MOTORS CORPORATION. ALL RIGHTS RESERVED.