GM Service Manual Online
For 1990-2009 cars only
Table 1: TFP Manual Valve Position Switch Logic
Table 2: DTC P1810 Automatic Transmission Fluid Pressure (TFP) Manual Valve Position Switch Circuit Malfunction

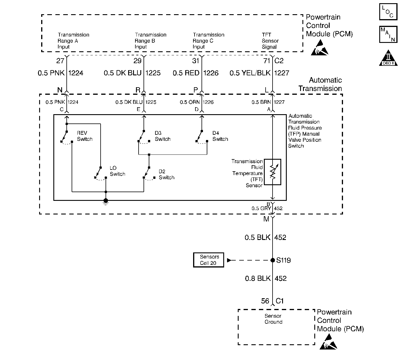
Object Number: 42299  Size: LF

Circuit Description

The Automatic Transmission Fluid Pressure (TFP) Manual Valve Position Switch consists of five pressure switches (two normally-closed and three normally-open), and an automatic transmission fluid temperature (TFT) sensor. The combined unit mounts on the valve body. The PCM supplies battery voltage to each range signal. The PCM grounds one or more of the range signal circuits through various combinations of the pressure switches. The PCM monitors the combinations, in order to detect what manual valve position has been selected. The PCM compares the actual voltage combination of the switches to a TFP Valve Position Switch combination chart stored in the memory.

The TFP Valve Position Switch cannot distinguish between Park and Neutral because the monitored valve body pressures are identical. With the ignition ON and the engine OFF, the valve pressures indicate Park or Neutral. Disconnecting the transmission 20-way connector, removes the ground potential for the three range signals to the PCM. This disconnected state, with the ignition ON, displays as D2.

When the PCM detects an invalid state of the TFP Valve Position Switch or the TFP Val Position Sw circuit, then DTC P1810 sets. The PCM deciphers the TFP Val. Position Sw. inputs. DTC P1810 is a type B DTC.

Conditions for Setting the DTC

DTC P1810 sets if any of the following conditions occurs:

Condition 1 (This condition detects an illegal switch combination)

    • The system voltage is 10-17 volts.
    • The engine is running.
    • The PCM detects an illegal TFP state.
    • All conditions satisfied for 5 seconds

Condition 2 (This condition detects D2, D4, or Rev during an engine start)

    • No VSS DTC P0502
    • The system voltage is 10-17 volts.
    • The engine speed is less than 100 RPM for 0.3 seconds; then
        the engine speed is 100-650 RPM for 0.1 seconds; then
        the engine speed is greater than 650 RPM.
    • The vehicle speed is less than 3 km/h (2 mph).
    • The detected gear range is D2, D4, or Rev.
    • All conditions satisfied for 5 seconds.

Condition 3 (This condition detects P/N when the vehicle should be in D4)

    • No VSS DTC P0502
    • The speed ratio is 29-33 (speed ratio is engine speed ÷ transmission output speed).
    • The TCC is locked ON.
    • The detected gear range is Park/Neutral.
    • All conditions satisfied for 24 seconds

Action Taken When the DTC Sets

    • The PCM commands D2 line pressure.
    • The PCM commands a D4 shift pattern.
    • The PCM inhibits the TCC.
    • The PCM inhibits 4th gear if in hot mode.
    • The PCM freezes shift adapts from being updated.
    • The PCM illuminates the Malfunction Indicator Lamp (MIL).

Conditions for Clearing the MIL/DTC

    • The PCM turns OFF the MIL after three consecutive ignition cycles without a failure reported.
    • A scan tool can clear the DTC from the PCM history. The PCM clears the DTC from the PCM history if the vehicle completes 40 warm-up cycles without a failure reported.
    • The PCM cancels the DTC default actions when the fault no longer exists and the ignition is OFF long enough in order to power down the PCM.

Diagnostic Aids

    • Refer to the TFP Valve Position Switch Logic Table for the normal range signals and the illegal combinations.
    • Inspect the wiring for any poor electrical connections at the PCM. Inspect the wiring at the transmission 20-way connector. Look for the following conditions:
       - A bent terminal
       - A backed out terminal
       - A damaged terminal
       - Poor terminal tension
       - A chafed wire
       - A broken wire inside the insulation
    • When diagnosing for an intermittent short or an open condition, massage the wiring harness while watching the test equipment for changes.
    • Refer to the Automatic Transmission Fluid Pressure (TFP) Manual Valve Position Switch Resistance Check or the Functional Test for further information.

TFP Manual Valve Position Switch Logic

Gear Position

Range Signal A

Range Signal B

Range Signal C

Park

OFF

ON

OFF

Reverse

ON

ON

OFF

Neutral

OFF

ON

OFF

D4

OFF

ON

ON

D3

OFF

OFF

ON

D2

OFF

OFF

OFF

D1

ON

OFF

OFF

Illegal

ON

OFF

ON

Illegal

ON

ON

ON

Test Description

The numbers below refer to the Step numbers on the diagnostic table.

  1. This step compares the indicated range signal to the manual valve you actually select.

  2. This step verifies that the transmission 20-way connector receives the correct voltage from the PCM.

DTC P1810 Automatic Transmission Fluid Pressure (TFP) Manual Valve Position Switch Circuit Malfunction

Step

Action

Value(s)

Yes

No

1

Was the Powertrain On-Board Diagnostic (OBD) System Check performed?

--

Go to Step 2

Go to Powertrain On Board Diagnostic (OBD) System Check , Section 6

2

  1. Verify that the transmission linkage from the select lever to the TFP manual valve position switch is adjusted properly.
  2. Perform the TFP Val. Position Sw. resistance check.
  3. Perform the fluid checking procedure.

Have you completed the procedure?

--

Go to Step 3

Go to Transmission Fluid Check

3

  1. Install the scan tool.
  2. With the engine OFF, turn the ignition switch to the RUN position.
  3. Important: Before clearing DTCs, use the scan tool in order to record the Freeze Frame and Failure Records for reference. The Clear Info function will erase the data.

  4. Record the DTC Freeze Frame and Failure Records.
  5. While the engine idles at the normal operating temperature, apply the parking brake.
  6. Select each transmission range: Low, Dr 2, Dr 3, Overdrive, Reverse, and Park.

Does each selected transmission range match the Trans Range displayed on the scan tool?

--

Go to Diagnostic Aids

Go to Step 4

4

  1. Turn the ignition switch to the OFF position.
  2. Disconnect the transmission 20-way connector (additional DTCs may set).
  3. Install the J 39775 Jumper Harness on the engine side of the transmission 20-way connector .
  4. With the engine OFF, turn the ignition switch to the RUN position.
  5. Using the J 39200 DVOM and J 35616-A Connector Test Adapter Kit, measure the voltage at the connector terminals N, R, and P.

Did you measure Battery Voltage on all three circuits?

--

Go to Step 6

Go to Step 5

5

Inspect the circuits that did not indicate Battery Voltage for an open or a short to ground.

Refer to Electrical Diagnosis, Section 8.

Did you find and correct a problem?

--

Go to Step 9

Go to Step 7

6

Verify that circuits 1224, 1225, and 1226 are not shorted together. Use a fused jumper in order to separately ground each circuit while monitoring the scan tool TFP Switch A/B/C display.

Refer to Electrical Diagnosis, Section 8.

Did you find and correct a problem?

--

Go to Step 9

Refer to Pressure Switch Assembly Resistance Check

7

Inspect the PCM connector terminals for the following conditions:

  1. Damaged connector pins
  2. Backed out connector pins
  3. Weak terminal tension
  4. Repair the connectors if necessary.

Did you find and correct a problem?

--

Go to Step 9

Go to Step 8

8

Replace the PCM.

Refer to Powertrain Control Module Replacement/Programming , Section 6.

Is the replacement complete?

--

Go to Step 9

--

9

  1. After the repair is complete, select DTC.
  2. Select Clear Info.
  3. Operate the vehicle under the following conditions:
  4. 3.1. Turn the ignition switch to the RUN position for at least 2 seconds.
    3.2. Start the vehicle and idle for 5 seconds.
    3.3. Drive in D4 until the TCC locks for 24 seconds.
  5. Select Specific DTC and enter DTC P1810.

Has the test run and passed?

--

System OK

Begin the diagnosis again. Go to Step 1