GM Service Manual Online
For 1990-2009 cars only

Automatic Transmission Controls Schematics 3.8L VIN K

Figure 1:

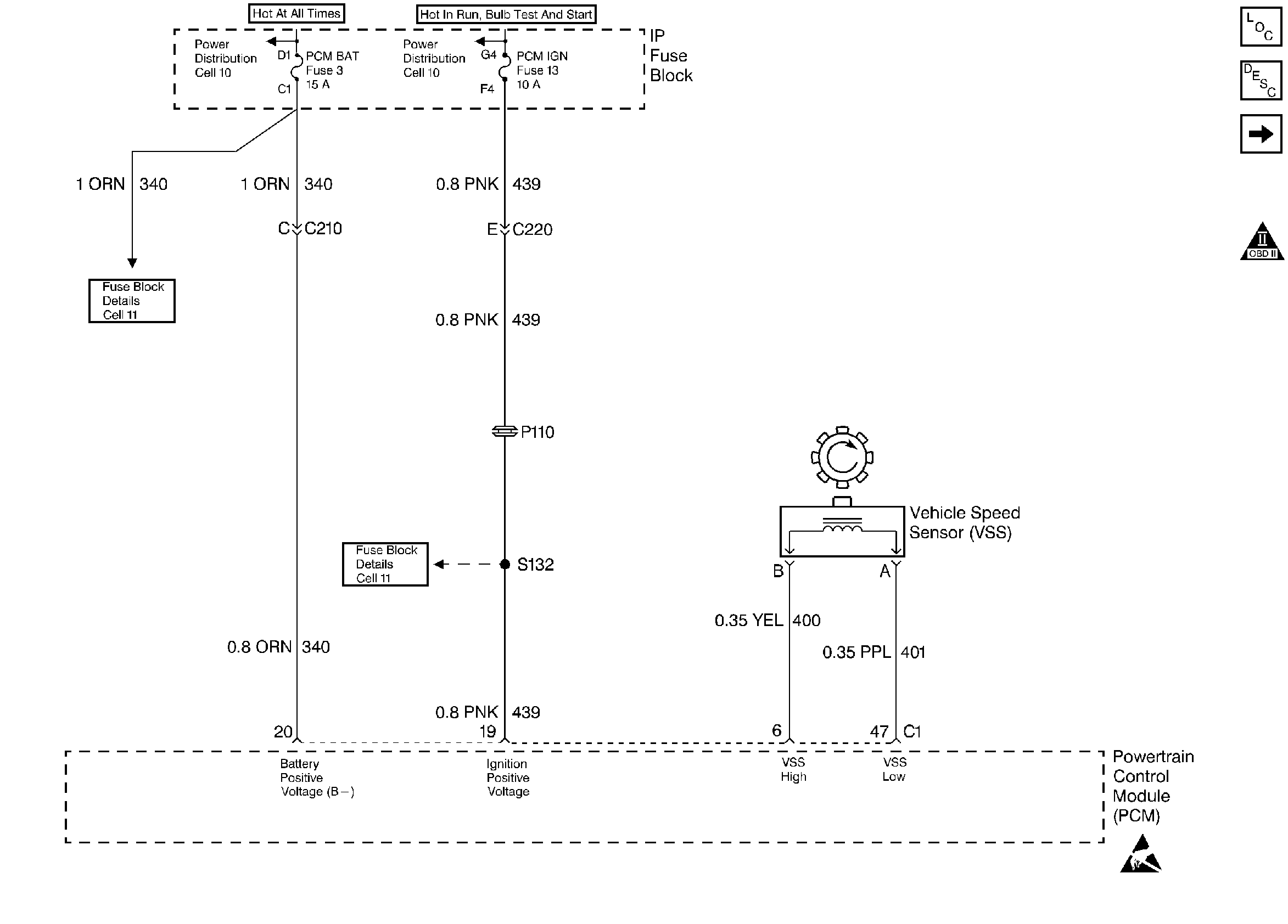
PCM Power and VSS


Object Number: 26705  Size: FS
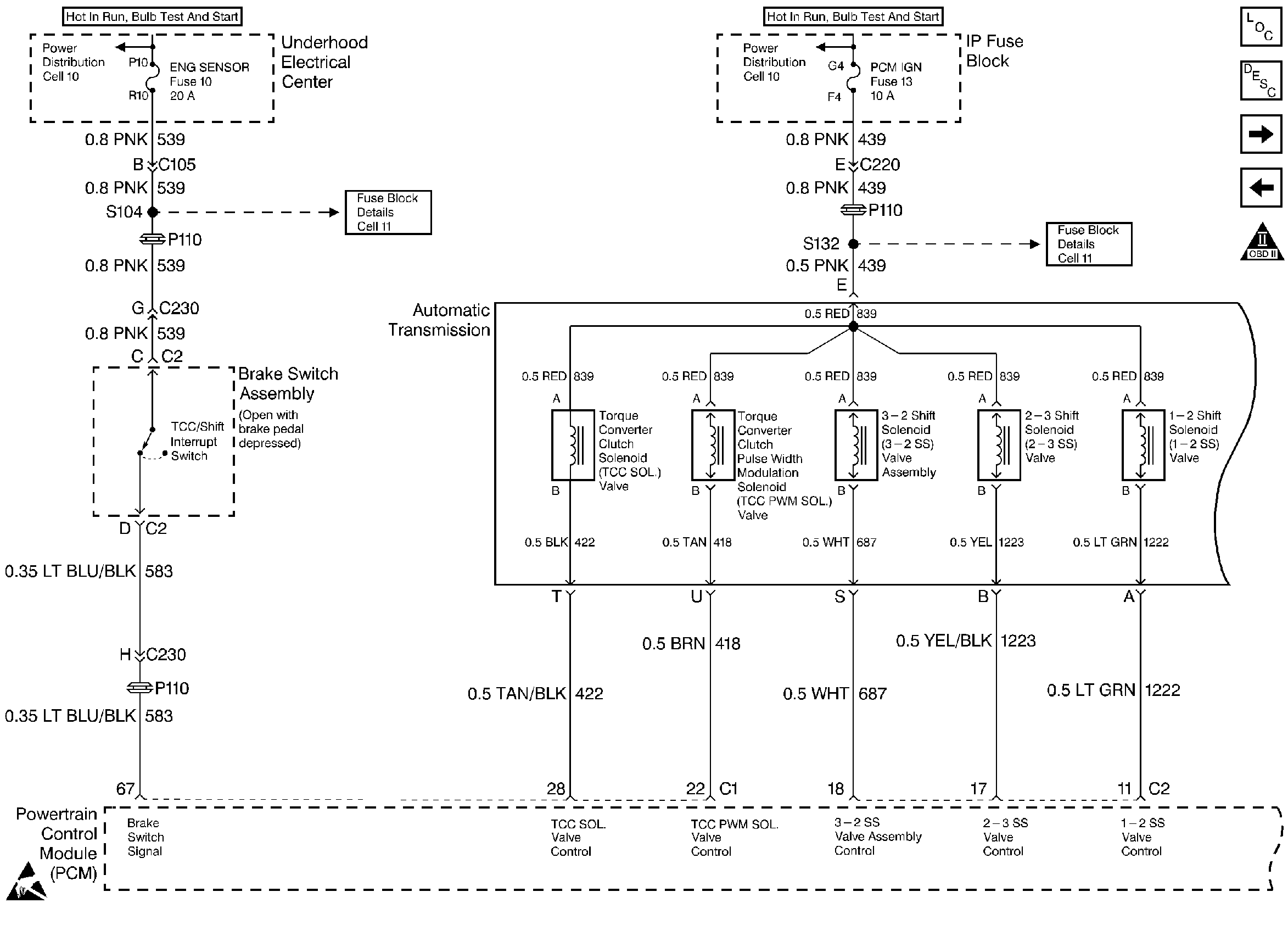
Figure 2:

Brake Switch and Solenoids


Object Number: 26711  Size: FS
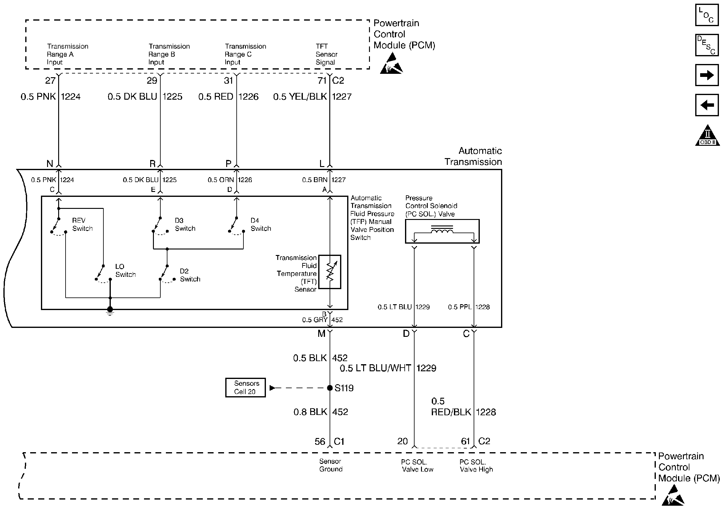
Figure 3:

TFP Valve Position Switch and PC Sol. Valve


Object Number: 26706  Size: FS
Figure 4:

2nd Gear Start Switch


Object Number: 26712  Size: FS

Automatic Transmission Controls Schematics 5.7L VIN P

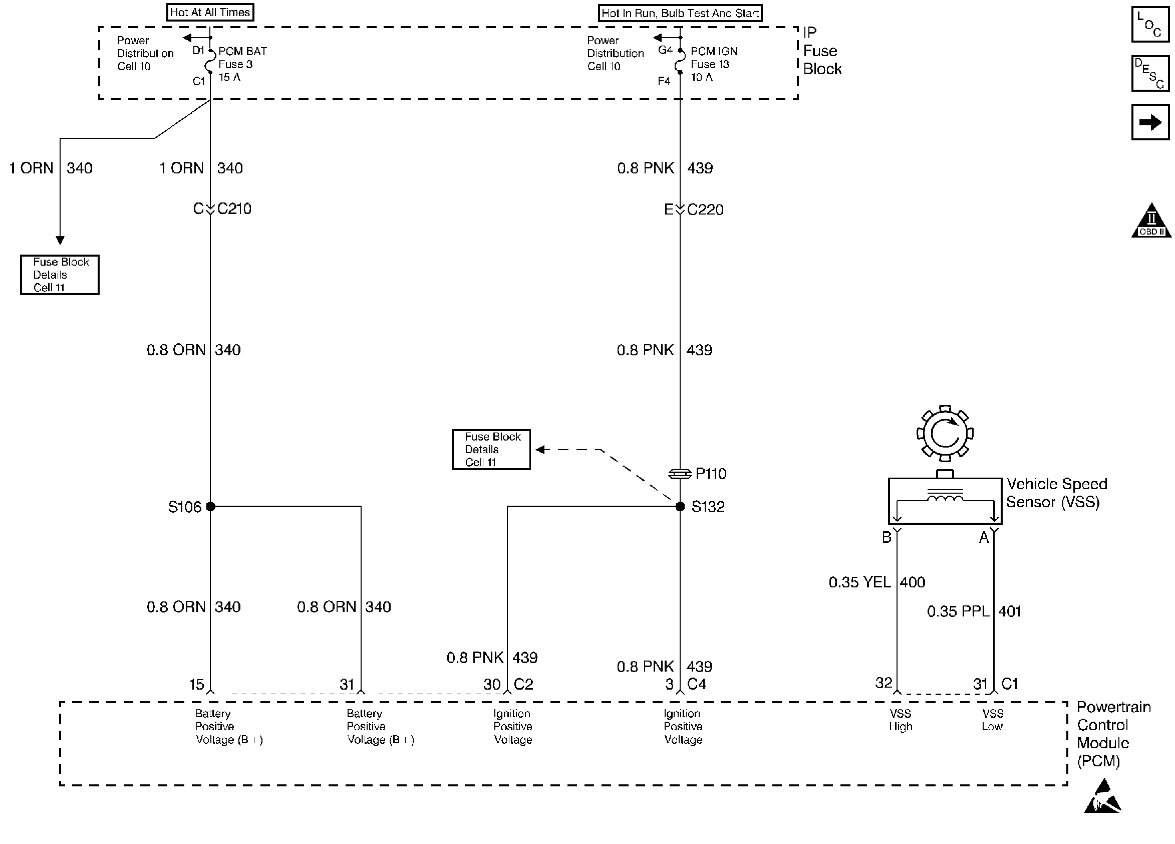
Figure 1:

PCM Power and VSS


Object Number: 26714  Size: FS
Figure 2:

Brake Switch and Solenoids


Object Number: 26719  Size: FS
Figure 3:

TFP Valve Position Switch and PC Sol. Valve


Object Number: 26720  Size: FS
Figure 4:

Traction Control System


Object Number: 26721  Size: FS