GM Service Manual Online
For 1990-2009 cars only
Makes
🢒
Pontiac
🢒
1997
🢒
Firebird
🢒
Engine
🢒
Engine Controls - 3.8L
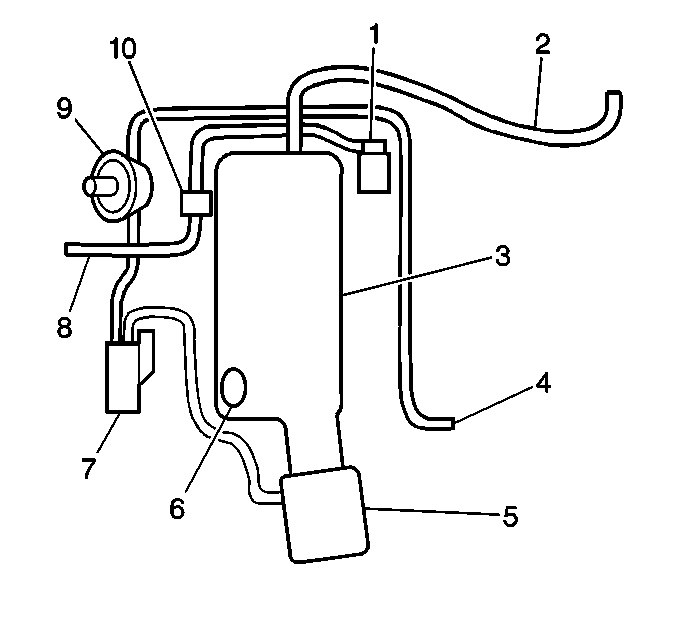
🢒 Emission Hose Routing Diagram
(1)
Fuel Pressure Regulator
(2)
To Vacuum Brake Booster
(3)
Intake Manifold
(4)
To EVAP Canister (At Rear of Vehicle)
(5)
Throttle Body
(6)
PCV Valve
(7)
EVAP Canister Purge Valve
(8)
To Accessory
(9)
EVAP Vacuum Switch
(10)
Manifold Vacuum Source