GM Service Manual Online
For 1990-2009 cars only

Shifter Removal

Refer to the following transmission component locator graphics as needed:

Transmission Case (1 of 2)


Object Number: 38213  Size: LF
(1)Vent
(2)Vent Pipe
(3)Transmission Case
(4)Countershaft Washer
(5)Mainshaft 6TH Gear
(6)6TH Gear Needle Bearing
(7)6TH Gear Synchronizer Blocking Ring
(8)Mainshaft Gear Bearing Spacer
(9)Synchronizer Retainer Ring
(10)Reverse Shift Fork Retainer Ring
(11)Reverse Shift Fork
(12)Reverse Shift Fork Pad
(13)Guide Plate
(14)Guide Plate Bolt
(15)9.525 mm (0.375 in) steel ball
(16)Shift Detent Ball Spring
(17)5TH Driven Gear
(18)Reverse Synchronizer Hub and Sleeve
(19)Reverse Gear Thrust Washer
(20)Reverse Synchronizer Retainer Ring
(21)Reverse Synchronizer Blocking Ring
(22)Reverse Synchronizer Spring
(23)Reverse Synchronizer Sleeve
(24)Reverse Synchronizer Hub
(25)Reverse Synchronizer Key
(26)Reverse Synchronizer Spring
(27)Reverse Synchronizer Key Retainer
(28)1ST 2ND Shift Fork Roll Pin
(29)Front Offset Shift Lever
(30)Top Shift Shaft Bushing
.

Adapter Plate and Gears


Object Number: 38214  Size: LF
(1)3RD/4TH Synchronizer Spring
(2)3RD/4TH Synchronizer Sleeve
(3)3RD 4TH Synchronizer Hub
(4)3RD/4TH Synchronizer Insert
(5)3RD/4TH Synchronizer Spring
(6)Top Shaft Rail Bushing
(7)Dowel Pin
(8)3RD Speed Drive Gear
(9)3RD Speed Drive Gear Synchronizer Blocking Ring
(10)3RD/4TH Synchronizer Assembly
(11)Synchronizer Retainer Ring
(12)4TH Speed Drive Gear Synchronizer Blocking Ring
(13)Input Shaft Bearing Race
(14)Input Shaft
(15)Input Shaft Bearing
(16)Input Shaft Bearing Race
(17)Input Shaft Bearing Shim
(18)Input Shaft Seal
(19)Front Adapter Plate
(20)Adapter Plate to Clutch Housing Pin
(21)Adapter to Transmission Case Bolt
(22)Adapter Plate Inspection Plug
(23)2ND Speed Drive Gear Friction Cone
(24)2ND Speed Drive Gear Inner Cone
(25)2ND Speed Drive Gear Thrust Washer
(26)2ND Speed Drive Gear
(27)2ND Speed Drive Gear Needle Bearing
(28)Mainshaft
(29)Mainshaft Small Tapered Bearing
(30)3RD Speed Drive Gear Needle Bearing
(31)3RD Speed Drive Gear Bearing Spacer
(32)Countershaft Rear Bearing
(33)Countershaft
(34)Countershaft Front Bearing
(35)Countershaft Bearing Race
(36)Counter Shaft Bearing Adjust Shim
.

Extension Housing (1 of 2)


Object Number: 38215  Size: LF
(1)Control Lever Boot
(2)Snap Ring
(3)Reverse Lockout
(4)Reverse Lockout Outer Spring
(5)Reverse Lockout Seat
(6)Slap Ring
(7)Reverse Lockout Inner Spring
(8)Reverse Lockout Body
(9)Reverse Lockout Solenoid Mounting Bolt
(10)Reverse Lockout Solenoid
(11)Speed sensor Bolt
(12)Transmission Extension
(13)Speed Sensor
(14)Bumper
(15)Reverse Lockout Assembly
(16)Reverse Lockout O-Ring Seal
(17)Bushing
(18)Offset Shift Lever
(19)Offset Shift Lever Pin
(20)Isolator Cup
(21)Shift Control Bolt
(22)Shift Control
(23)Shift Control Bolt
.

Shift Shaft and Clutch Housing


Object Number: 38216  Size: LF
(1)Clutch Actuator Cylinder Bracket
(2)Clutch Actuator Stud
(3)Clutch Release Fork
(4)Clutch Lever Nut
(5)Clutch Lever Bolt
(6)Clutch Housing
(7)Bolt
(8)Offset Shift Lever
(9)Reverse Shift Lever Pin
(10)5TH 6TH Shift Lever Pad
(11)5TH 6TH Shift Shaft Lever Bushing
(12)5TH 6TH Shift Lever
(13)5TH 6TH Reverse Shift Shaft
(14)Collar
(15)Reverse Shift Collar Pin
(16)5TH 6TH Shift Lever Assembly
(17)1ST 2ND Shift Shaft Assembly
(18)3RD 4TH Shift Fork Pad
(19)3RD 4TH Shift Fork
(20)Gear Select Interlock Plate
(21)Control Select Arm Pin
(22)1ST 2ND Shift Fork Pin
(23)Skip Shift Lever
(24)Roll Pin
(25)Shift Interlock Plate
(26)Interlock Shift Plate
(27)1ST 2ND Shift Fork Pad
(28)1ST 2ND Shift Fork
(29)Shift Shaft
.

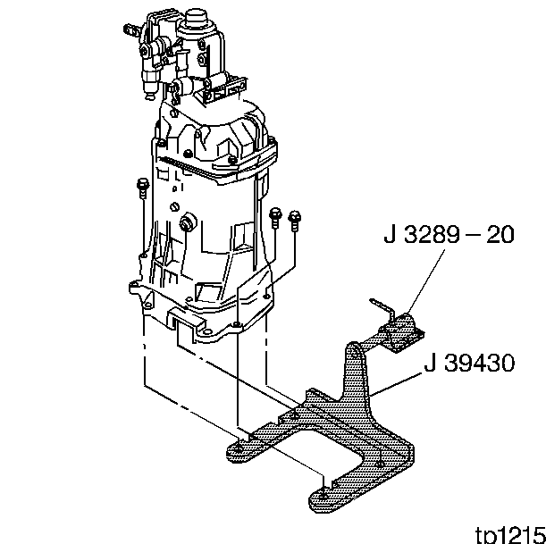
Tools Required

    • J 3289-20 Holding Fixture Bench Mount
    • J 39430 Transmission Support Fixture

    Object Number: 38219  Size: SH
  1. Remove the vent pipe.

  2. Object Number: 38218  Size: SH
  3. Remove the clutch housing bolts and the clutch housing.

  4. Object Number: 38221  Size: SH
  5. Remove the clutch lever pivot nut and the clutch fork.

  6. Object Number: 82426  Size: SH
  7. Using the transmission adapter bolts (163) install the J 39430 . Refer to

    Shift Shaft and Clutch Housing


    Object Number: 38216  Size: LF
    (1)Clutch Actuator Cylinder Bracket
    (2)Clutch Actuator Stud
    (3)Clutch Release Fork
    (4)Clutch Lever Nut
    (5)Clutch Lever Bolt
    (6)Clutch Housing
    (7)Bolt
    (8)Offset Shift Lever
    (9)Reverse Shift Lever Pin
    (10)5TH 6TH Shift Lever Pad
    (11)5TH 6TH Shift Shaft Lever Bushing
    (12)5TH 6TH Shift Lever
    (13)5TH 6TH Reverse Shift Shaft
    (14)Collar
    (15)Reverse Shift Collar Pin
    (16)5TH 6TH Shift Lever Assembly
    (17)1ST 2ND Shift Shaft Assembly
    (18)3RD 4TH Shift Fork Pad
    (19)3RD 4TH Shift Fork
    (20)Gear Select Interlock Plate
    (21)Control Select Arm Pin
    (22)1ST 2ND Shift Fork Pin
    (23)Skip Shift Lever
    (24)Roll Pin
    (25)Shift Interlock Plate
    (26)Interlock Shift Plate
    (27)1ST 2ND Shift Fork Pad
    (28)1ST 2ND Shift Fork
    (29)Shift Shaft
    .
  8. Mount the transmission on a workbench using the J 3289-20 .
  9. Rotate the transmission into a horizontal position, shifter up.
  10. Remove the transmission drain plug and drain the transmission fluid.
  11. Shift the transmission into neutral (N).

  12. Object Number: 38222  Size: SH
  13. Remove the shift control bolts and the shift control assembly.
  14. Inspect the isolator cup for wear.
  15. Replace the rear offset shift lever if the isolator cup is loose or if the lever is excessively worn.

Extension Housing Removal


    Object Number: 38223  Size: SH
  1. Remove the rear offset shift lever roll pin.

  2. Object Number: 38224  Size: SH
  3. Remove the rear offset shift lever assembly.

  4. Object Number: 38225  Size: SH
  5. Remove the rear extension housing bolts and the rear extension housing.

Speedometer Sensor Gear Removal

Tools Required

    • J 8433 Universal Bridge Puller
    • J 39431 Gear Remover

    Object Number: 38227  Size: SH
  1. Rotate the transmission vertically.
  2. Remove the sealing ring.

  3. Object Number: 38235  Size: SH
  4. Remove the front speedometer sensor gear retainer ring.

  5. Object Number: 38229  Size: SH
  6. Remove the speedometer sensor gear. Use the J 8433 and the J 39431 .

  7. Object Number: 38231  Size: SH
  8. Remove the rear speedometer sensor gear retainer ring.

Reverse Speed Gear Removal


    Object Number: 38233  Size: SH
  1. Remove the rear bearing retainer ring.
  2. Remove the spacer.
  3. Remove the mainshaft rear roller bearing.
  4. Remove the spacer.

  5. Object Number: 38238  Size: SH
  6. Remove the retainer ring.
  7. Remove the reverse gear thrust washer.
  8. Remove the reverse gear.
  9. Remove the reverse gear caged needle bearing.
  10. Remove the wave washer.
  11. Remove the reverse gear synchronizer blocking ring.

Reverse Shift Fork Removal


    Object Number: 38239  Size: SH
  1. Remove the reverse synchronizer retainer ring.

  2. Object Number: 38241  Size: SH
  3. Remove the reverse shift fork retainer ring. Discard the retainer ring.

  4. Object Number: 4810  Size: SH
  5. Scribe a mark on the synchronizer hub and on the sleeve. This will help you to reinstall the parts in the same position.

  6. Object Number: 38242  Size: SH
  7. Remove the following parts in order:
  8. 4.1. The thrust washer
    4.2. The reverse synchronizer assembly and the shift fork

5th/6th Speed Driven Gear Removal

Tools Required

    • J 8433 Universal Bridge Puller
    • J 39431 Gear Remover

Object Number: 38244  Size: SH

Remove the 5TH/6TH speed driven Gear. Use the J 8433 and the J 39431 .

Countershaft Extension Removal


    Object Number: 38246  Size: SH
  1. Remove the 5th/6th speed shift fork retainer ring.

  2. Object Number: 38247  Size: SH
  3. Rotate the transmission in the horizontal position with the guide plate up.
  4. Remove the countershaft extension assembly with the 5th/6th speed shift fork.

Transmission Case Removal


    Object Number: 33363  Size: SH
  1. Remove the computer aided gear select solenoid.

  2. Object Number: 38248  Size: SH
  3. Remove the shifter cover plate retainer bolts.
  4. Remove the shifter cover plate.

  5. Object Number: 38249  Size: SH
  6. Remove the shift detent assembly.

  7. Object Number: 38251  Size: SH
  8. Remove the front offset lever roll pin.

  9. Object Number: 38253  Size: SH
  10. Remove 8 of the 10 adapter plate to transmission case bolts.
  11. Rotate the transmission into the vertical position.

  12. Object Number: 38315  Size: SH
  13. Remove the last 2 adapter plate to transmission case bolts.
  14. Remove the shift lever guide bolts.

  15. Object Number: 38316  Size: SH
  16. Remove the magnets from the transmission case.

  17. Object Number: 38607  Size: SH
  18. Remove the transmission case and the front offset lever together as follows:
  19. 11.1. Slide the transmission case up and off of the gear clusters and the shift shaft components.
    11.2. Hold the offset lever against the guide plate in order to prevent the release of the detent ball and the spring.

Guide Plate Removal


    Object Number: 38317  Size: SH
  1. Remove the detent guide plate attaching bolts.
  2. Remove the detent guide plate.

Shift Shaft Assemblies and Gear Cluster Removal


    Object Number: 38610  Size: SH
  1. Rotate the 5TH/6TH and the reverse shift shaft levers off the shift interlock plate.
  2. Remove the 5TH/6TH and the reverse shift shaft assembly.

  3. Object Number: 38611  Size: SH
  4. Remove the countershaft. Lift up the mainshaft enough in order to remove the countershaft.

  5. Object Number: 38612  Size: SH
  6. Remove the mainshaft and the shift shaft components as an assembly.
  7. Remove the shift shaft assembly from the mainshaft.

  8. Object Number: 38318  Size: SH
  9. Remove the 4TH speed gear blocking ring and the input shaft.

Extension Housing Removal

Tools Required

    • J 3289-20 Holding Fixture
    • J 44395 Transmission Holding Fixture

    Object Number: 639703  Size: SH
  1. Remove the adapter plate bolts (1) and (2).

  2. Object Number: 74206  Size: SH
  3. Install the J 44395 .
  4. Mount the transmission on a workbench using the J 3289-20 .
  5. Rotate the transmission into a horizontal position.
  6. Remove the transmission drain plug and drain the transmission fluid.
  7. Shift the transmission into neutral (N).

  8. Object Number: 74203  Size: SH
  9. Remove the rear extension housing bolts and the rear extension housing.

Reverse Speed Gear Removal


    Object Number: 38233  Size: SH
  1. Remove the rear bearing retainer ring.
  2. Remove the spacer.
  3. Remove the mainshaft rear roller bearing.
  4. Remove the spacer.

  5. Object Number: 38238  Size: SH
  6. Remove the retainer ring.
  7. Remove the reverse gear thrust washer.
  8. Remove the reverse gear.
  9. Remove the reverse gear caged needle bearing.
  10. Remove the wave washer.
  11. Remove the reverse gear synchronizer blocking ring.

Reverse Shift Fork Removal


    Object Number: 388430  Size: SH
  1. Remove the reverse synchronizer retainer ring.

  2. Object Number: 388431  Size: SH
  3. Remove and discard the reverse shift fork retainer ring.

  4. Object Number: 4810  Size: SH
  5. Scribe a mark on the synchronizer hub and on the sleeve. This will help you to reinstall the parts in the same position.

  6. Object Number: 388432  Size: SH
  7. Remove the following parts in order:
  8. 4.1. The thrust washer
    4.2. The reverse synchronizer assembly and the shift fork

5th/6th Speed Driven Gear Removal

Tools Required

    • J 8433 Universal Bridge Puller
    • J 39431 Gear Remover and Bolts

Object Number: 388433  Size: SH

Remove the 5th/6th speed driven gear. Use the J 8433 , the J 39431 and the J 39431-4.

Countershaft Extension Removal


    Object Number: 388434  Size: SH
  1. Remove the 5th/6th speed shift fork retainer ring.

  2. Object Number: 388437  Size: SH
  3. Rotate the transmission in the horizontal position with the guide plate up.
  4. Remove the countershaft extension assembly with the 5th/6th speed shift fork, 6th speed gear bearing spacer, 6th speed drive gear, and caged needle bearing. The 6th speed gear bearing spacer will slide out during removal of the countershaft extension assembly.

Transmission Case Removal

Tools Required

J 41099 Skip Shift Sensor Remover/ Installer


    Object Number: 350553  Size: SH
  1. Remove the computer aided gear select solenoid.

  2. Object Number: 71530  Size: SH
  3. Remove the reverse lockout solenoid from the reverse lockout body. Use the J 41099 .

  4. Object Number: 388457  Size: SH
  5. Remove the reverse lockout assembly bolt and the reverse lockout body.

  6. Object Number: 105689  Size: SH
  7. Remove the shifter cover plate retainer bolts.
  8. Remove the shifter cover plate.

  9. Object Number: 388460  Size: SH
  10. Remove the shift detent assembly.

  11. Object Number: 105692  Size: SH
  12. Remove 9 of the 11 adapter plate to transmission case bolts.
  13. Rotate the transmission into the vertical position.

  14. Object Number: 105690  Size: SH
  15. Remove the last 2 adapter plate to transmission case bolts.
  16. Remove the shift lever guide bolts.

  17. Object Number: 350556  Size: SH
  18. Remove the magnets from the transmission case.

  19. Object Number: 350558  Size: SH
  20. Remove the offset lever roll pin.

  21. Object Number: 388438  Size: SH
  22. Remove the transmission case and the offset lever together as follows:
  23. 13.1. Slide the transmission case up and off of the gear clusters and the shift shaft components.
    13.2. Hold the offset lever against the guide plate in order to prevent the release of the detent ball and the spring.
    13.3. Remove the offset lever from the transmission case.

Guide Plate Removal


    Object Number: 38317  Size: SH
  1. Remove the detent guide plate attaching bolts.
  2. Remove the detent guide plate.

Reverse Lockout Assembly Disassemble


    Object Number: 350562  Size: SH

    Caution: The reverse lockout assembly is under spring pressure. Exercise caution when removing the retainer ring, as bodily injury may result.

  1. Remove the O-ring (8) from the body (1).
  2. Remove the retainer ring (7) from the body (1).
  3. Remove the reverse lockout inner spring (2).
  4. Compress the reverse lockout plunger (6) and the collar (4) in a vise and remove the retainer ring (3).
  5. Remove the reverse lockout plunger (6).
  6. Remove the reverse lockout outer spring (5).
  7. Remove the reverse lockout collar (4).

Shift Shaft Assemblies and Gear Cluster Removal


    Object Number: 388439  Size: SH
  1. Rotate the 5th/6th and the reverse shift shaft levers off the shift interlock plate.
  2. Remove the 5th/6th and the reverse shift shaft assembly.

  3. Object Number: 388442  Size: SH
  4. Remove the countershaft. Lift up the mainshaft enough in order to remove the countershaft.

  5. Object Number: 388446  Size: SH
  6. Remove the mainshaft and the shift shaft components as an assembly.
  7. Important: When removing the shift shaft be careful not to lose the dowel pin.

  8. Remove the shift shaft assembly from the mainshaft.

  9. Object Number: 388448  Size: SH
  10. Remove the input shaft.