GM Service Manual Online
For 1990-2009 cars only

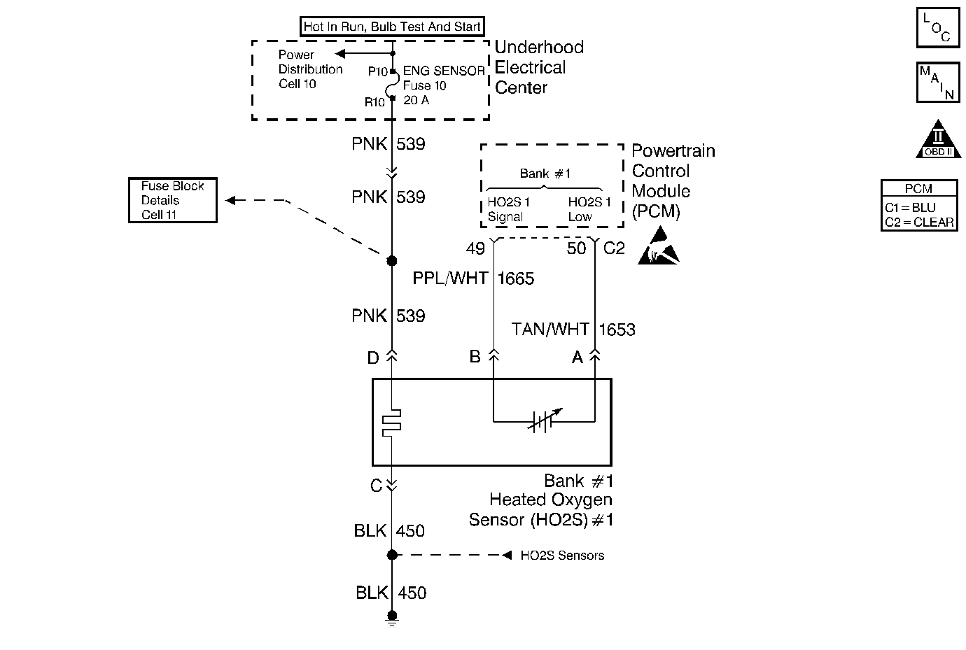
Object Number: 50414  Size: MF
Engine Controls Components
HO2S Sensors
OBD II Symbol Description Notice
Handling ESD Sensitive Parts Notice

Circuit Description

The PCM continuously monitors the Heated Oxygen Sensor (HO2S) activity. The PCM counts the number of times that a rich to lean and a lean to rich response is indicated. Then, the PCM adds the amount of time it took to complete all transitions for a 100 second test period. With this information, an average time for each transition can be determined. If the average response time is too slow, a DTC P0133 will be set. A lean to rich transition is indicated when the HO2S voltage changes from less than 300 mV to greater than 600 mV. A rich to lean transition is indicated when the HO2S voltage changes from greater than 600 mV to less than 300 mV. An HO2S that responds too slowly is likely to be faulty and should be replaced.

Conditions for Setting the DTC

    • No active transmission, TP sensor, EVAP system, EGR, misfire, IAT sensor, MAP sensor, fuel trim, fuel injector circuit, EVAP solenoid ODM, ECT sensor, or MAF sensor DTC(s) present
    • DTC P0135 (HO2S Heater) not set
    • The engine has been running in closed loop for at least 2 minutes.
    • Engine speed is between 1000 RPM and 3000 RPM.
    • Engine Coolant Temperature greater than 50°C (122°F).
    • Mass Air Flow between the following limits:
      • Automatic Transmission - Between 15 gm/s and 29 gm/s.
      • Manual Transmission - Between 10 gm/s and 30 gm/s.
    • Bank 1 H02S 1 lean to rich or rich to lean average transition response time was longer than 90 milliseconds.

Action Taken When the DTC Sets

    • The PCM will illuminate the MIL during the second consecutive trip in which the diagnostic test has been run and failed.
    • The PCM will store conditions which were present when the DTC set as Freeze Frame and Fail Records data.

Conditions for Clearing the MIL/DTC

    • The PCM will turn the MIL OFF during the third consecutive trip in which the diagnostic has been run and passed.
    • The history DTC will clear after 40 consecutive warm-up cycles have occurred without a malfunction.
    • The DTC can be cleared by using the scan tool Clear Information function or by disconnecting the PCM battery feed.

Diagnostic Aids

Check for the following conditions:

    • Poor connection at the PCM - Inspect harness connectors for the following conditions:
       - Backed out terminals.
       - Improper mating.
       - Broken locks.
       - Improperly formed or damaged terminals.
       - Poor terminal to wire connection.
    • Damaged harness -- Inspect the wiring harness for damage. If the harness appears to be OK, observe the Bank 1 H02S 1 display on the scan tool while moving connectors and wiring harnesses related to the sensor. A change in the display will indicate the location of the fault.

If DTC P0133 cannot be duplicated, Review the Fail Records vehicle mileage since the diagnostic test last failed. This may help determine how often the condition that caused the DTC to be set occurs.

Test Description

Number(s) below refer to the Step number(s) on the Diagnostic Table:

  1. This step verifies that the fault is currently present.

  2. HO2S transition time, ratio mean volts and switching DTCs set for multiple sensors indicate probable contamination. Before replacing the sensors, isolate and correct the source of the contamination to avoid damaging the replacement sensors.

Step

Action

Value(s)

Yes

No

1

Was the Powertrain On-Board Diagnostic (OBD) System Check performed?

--

Go to Step 2

Go to the Powertrain On Board Diagnostic (OBD) System Check

2

Important: If any DTCs are set,(Except P0153, P1133, P1134, P1135, P1136, P1153, P1154, P1155, and/or P1156), refer to those DTCs before proceeding with this diagnostic table.

  1. Install scan tool
  2. Engine idling at operating temperature
  3. Operate vehicle within parameters specified under DTC Will Set When criteria included in Diagnostic Support.
  4. Using a scan tool, monitor Specific DTC info for DTC P0133 until the DTC P

Does scan tool indicate DTC P0133 failed this ignition?

--

Go to Step 3

Refer to Diagnostic Aids

3

Did the scan tool also indicate DTC P0153, P1133, P1134, P1135, P1136, P1153, P1154, P1155, and/or P1156 failed this ignition?

--

Go to Step 8

Go to Step 4

4

  1. Perform Exhaust System Leak Test. Refer to Exhaust System . After Exhaust System Leak Test has been performed, return to this diagnostic.
  2. If an exhaust leak is found, repair as necessary.

Was an exhaust leak isolated?

--

Go to Step 2

Go to Step 5

5

Visually/physically inspect the following items:

    • Ensure that the Bank 1 HO2S 1 is securely installed.
    • Check for corrosion on terminals.
    • Check terminal tension (at Bank 1 HO2S 1 and at the PCM).
    • Check for damaged wiring.

Was a problem found in any of the above areas?

--

Go to Step 9

Go to Step 6

6

  1. Disconnect Bank 1 HO2S 1 and jumper HO2S low (PCM side) signal circuit to ground.
  2. Using a scan tool, monitor Bank 1 HO2S 1 voltage.

Does the scan tool indicate voltage near the specified value?

450 mV

Go to Step 7

Go to Step 10

7

  1. Jumper Bank 1 HO2S 1 high and low (PCM side) signal circuits to ground.
  2. Using a scan tool, monitor Bank 1 HO2S 1 voltage.

Does scan tool indicate voltage below specified value?

300 mV

Go to Step 12

Go to Step 11

8

Replace affected Heated Oxygen Sensors. Refer to Heated Oxygen Sensor Replacement .

Important: : Determine and correct the cause of the contamination before replacing sensors. Check for the following conditions:

    • Fuel contamination.
    • Engine oil/coolant consumption.
    • Use of improper RTV sealant.

Is the action complete?

--

Go to Step 13

--

9

Repair condition as necessary.

Is the action complete?

--

Go to Step 13

--

10

Repair an open Bank 1 HO2S 1 low signal circuit or a grounded Bank 1 HO2S 1 high signal circuit. Refer to Heated Oxygen Sensor (HO2S) Repair in Electrical Diagnosis.

Is the action complete?

--

Go to Step 13

--

11

Repair open Bank 1 HO2S 1 high signal circuit or faulty PCM connections. Refer to Heated Oxygen Sensor (HO2S) Repair in Electrical Diagnosis.

Is the action complete?

--

Go to Step 13

--

12

Replace Bank 1 HO2S 1. Refer to Heated Oxygen Sensor Replacement .

Is the action complete?

--

Go to Step 13

--

13

  1. Review and record scan tool Fail Records data. Note test result; does scan tool indicate DTC P0133 failed this ign?
  2. Clear DTCs.
  3. Operate vehicle within Fail Records conditions as noted.

Does the scan tool indicate DTC P0133 failed this ignition?

--

Go to Step 2

System OK