GM Service Manual Online
For 1990-2009 cars only

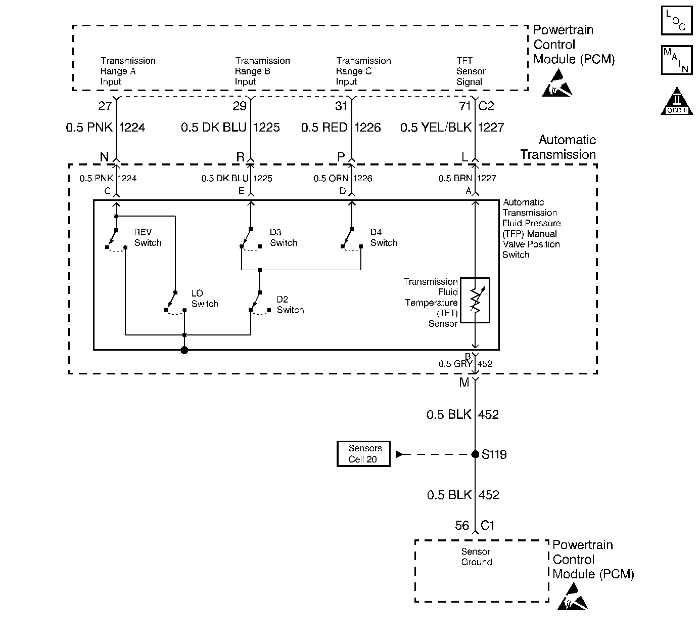
DTC P0713 Transmission Fluid Temperature (TFT) Sensor Circuit High Input 3.8L, VIN K


Object Number: 53636  Size: LF
Handling ESD Sensitive Parts Notice
Handling ESD Sensitive Parts Notice
OBD II Symbol Description Notice
Automatic Transmission Components VIN K

Circuit Description

The Automatic Transmission Fluid Temperature (TFT) sensor is a negative coefficient thermister within the Automatic Transmission Fluid Pressure (TFP) Manual Valve Position Switch. The TFT controls the signal voltage from the PCM. The PCM supplies a 5 volt reference signal to the TFT sensor on circuit 1227. When the transmission fluid is cold, the sensor resistance is high. The PCM detects high signal voltage. As the transmission fluid warms, the sensor resistance decreases and the detected voltage decreases. At the transmission's normal operating temperature of 100°C (212°F) the voltage is approximately 1.5 -2 volts.

If the PCM detects a continuous open or short to power in the TFT signal circuit or the TFT sensor, then DTC P0713 sets. DTC P0713 is a type D DTC.

Conditions for Setting the DTC

    • The system voltage 10-16 volts.
    • The ignition is ON.
    • The TFT sensor indicates a voltage greater than 4.94 volts.
    • All conditions met for 409 seconds.

Action Taken When the DTC Sets

    • The PCM freezes shift adapts from being updated.
    • The PCM does not illuminate the Malfunction Indicator Lamp (MIL).
    • The PCM determines a default Transmission Fluid Temperature (TFT) using the following matrix:
       - If any Engine Coolant Temperature (ECT) DTCs P0117, P0118, or P1114, or P1115 are set, then the default TFT is equal to 135°C (275°F).
       - If the ECT is 125°C (257°F) or more, then the default TFT is equal to 135°C (275°F).
       - If the Engine Run Time is less than 300 seconds, and:
   • No Intake Air Temperature (IAT) DTCs P0112 or P0113 are set, and the IAT is available, then the default TFT is equal to the IAT.
   • Any Intake Air Temperature (IAT) DTCs P0112 or P0113 are set, or the IAT is not available, then the default TFT is equal to 90°C (194°F).
       - If the Engine Run Time is greater than 300 seconds, and no Intake Air Temperature (IAT) DTCs P0112 or P0113 are set, and the IAT is available, and the Engine Coolant Temperature (ECT) is 40-125°C (104-257°F) and:
   • IAT at start up is less than 15°C (59°F), then the default TFT is equal to the Engine Coolant Temperature (ECT) plus 5°C (8°F).
   • IAT at start up is greater than 35°C (95°F), then the default TFT is equal to the Engine Coolant Temperature (ECT) plus 10°C (16°F).
   • IAT at start up is 15-35°C (59-95°F), then the default TFT is equal to the Engine Coolant Temperature (ECT).
       - If the Engine Run Time is greater than 300 seconds, and any Intake Air Temperature DTCs P0112 or P0113 are set, or the IAT is not available then the default TFT is equal to the Engine Coolant Temperature (ECT).
       - If the Engine Run Time is greater than 300 seconds, and the ECT is less than 40°C (104°F), then the default TFT is equal to 60°C (140°F).

Conditions for Clearing the DTC

    • A scan tool can clear the DTC from the PCM history. The PCM clears the DTC from the PCM history if the vehicle completes 40 warm-up cycles without a failure reported.
    • The PCM cancels the DTC default actions when the fault no longer exists and the ignition is OFF long enough in order to power down the PCM.

Diagnostic Aids

    • Inspect the harness for a faulty connection or an open in circuit 1227 (YEL/BLK).
    • Inspect the wiring for poor electrical connections at the PCM. Inspect the wiring at the 20-way harness. Look for the following problems:
       - A bent terminal
       - A backed out terminal
       - A damaged terminal
       - Poor terminal tension
       - A chafed wire
       - A broken wire inside the insulation
    • When diagnosing for an intermittent short or open, massage the wiring harness while watching test equipment for changes.
    • The scan tool displays the transmission fluid temperature in degrees. After the transmission is operating, the temperature should rise steadily to about 100°C (212°F).
    • Use the Temperature vs Resistance scale in order to test the TFT sensor at various temperatures. Test the TFT sensor in order to eliminate the possibility of a skewed (mis-scaled) sensor. A skewed sensor can result in firm shifts or TCC complaints.

Test Description

The numbers below refer to the step numbers on the diagnostic table.

  1. This step verifies that a problem exists in the TFT sensor circuit.

  2. This step simulates a TFT sensor DTC P0712. If the PCM receives the low signal voltage (indicating high temperature), and the scan tool displays 146°C (296°F) or greater, then the PCM and external wiring are functioning normally.

  3. This step tests the TFT sensor and the Automatic Transmission wiring harness.

DTC P0713 Transmission Fluid Temperature (TFT) Sensor Circuit -- High Input (Low Temperature Indicated)

Step

Action

Value(s)

Yes

No

1

Was the Powertrain On-Board Diagnostic (OBD) System Check performed?

--

Go to Step 2

Go to Powertrain On Board Diagnostic (OBD) System Check , Section 6

2

Inspect the transmission fluid.

Refer to Transmission Fluid Check .

Did you perform the fluid checking procedure?

--

Go to Step 3

Go to Transmission Fluid Check

3

  1. Install the Scan Tool ®.
  2. With the engine OFF, turn the ignition switch to the RUN position.
  3. Important: Before clearing the DTCs, use the scan tool in order to record the Freeze Frame and the Failure Records for reference. The Clear Info function will erase the data.

  4. Record the DTC Freeze Frame and Failure Records.

Does the scan tool display a TFT Sensor signal voltage greater than the specified voltage?

4.94 volts

Go to Step 4

Go to Diagnostic Aids

4

  1. Turn the ignition to the OFF position.
  2. Disconnect the transmission 20-way connector.
  3. Install the J 39775 Jumper Harness on the engine side of the 20-way connector .
  4. Install a J 36169-A Fused Jumper Wire between terminals L and M of the engine harness.
  5. Turn the ignition switch to the RUN position.

Does the TFT Sensor signal voltage decrease to less than the specified value?

0.2 volts

Go to Step 5

Go to Step 9

5

  1. Turn the ignition OFF.
  2. Install the J 39775 Jumper Harness on the transmission side of the 20-way connector (Connector End View ).
  3. Using the J 39200 DMM and J 35616-A Connector Test Adapter Kit, measure the resistance between terminals L and M.

Important: This resistance range is valid at 20°C (68°F). In order to verify the TFT sensor at other temperatures, refer to the Temperature vs Resistance table.

Is the resistance within specifications?

3088-3941ohms

Go to Diagnostic Aids

Go to Step 6

6

  1. Disconnect the Automatic Transmission Wiring Harness Assembly at the TFP Valve Position Switch.
  2. Important: This resistance range is valid at 20°C (68°F). In order to verify the TFT sensor at other temperatures, refer to the Temperature vs Resistance table.

  3. Measure the resistance of the TFT sensor by measuring the resistance between terminals A and B of the TFP Valve Position Switch.

Is the resistance within specifications?

3088-3941ohms

Go to Step 7

Go to Step 8

7

Inspect the Automatic Transmission Wiring Harness Assembly for an open.

Refer to Electrical Diagnosis, Section 8.

Did you find and correct a problem?

--

Go to Step 13

--

8

Replace TFP Valve Position Switch.

Refer to Control Valve Body and Pressure Switch, in On-Vehicle Service.

Is the replacement complete?

--

Go to Step 13

--

9

Inspect circuit 1227 (YEL/BLK) for an open or a short to Battery Positive Voltage.

Refer to Electrical Diagnosis, Section 8.

Did you find and correct a problem?

--

Go to Step 13

Go to Step 10

10

Inspect circuit 452 (BLK) for an open or a short to Battery Positive Voltage.

Refer to Electrical Diagnosis, Section 8.

Did you find and correct a problem?

--

Go to Step 13

Go to Step 11

11

  1. Inspect the PCM connector terminals for the following problems:
  2. • Damaged connector pins
    • Backed-out connector pins
    • Weak terminal tension
  3. Repair the connectors if necessary.

Did you find and correct a problem?

--

Go to Step 13

Go to Step 12

12

Replace the PCM.

Refer to Powertrain Control Module Replacement/Programming , Section 6.

Is the replacement complete?

--

Go to Step 13

--

13

  1. After the repair is complete, select DTC.
  2. Select Clear Info.
  3. Ensure that the TFT sensor indicates a voltage less than 4.92 volts for 400 seconds.
  4. Select Specific DTC. Enter DTC P0713.

Has the test run and passed?

--

System OK

Begin the diagnosis again. Go to Step 1

DTC P0713 Transmission Fluid Temperature (TFT) Sensor Circuit High Input 5.7L, VIN P


Object Number: 42301  Size: LF
Automatic Transmission Components VIN P
OBD II Symbol Description Notice
Handling ESD Sensitive Parts Notice
Handling ESD Sensitive Parts Notice

Circuit Description

The Automatic Transmission Fluid Temperature (TFT) sensor is a negative coefficient thermister within the Automatic Transmission Fluid Pressure (TFP) Manual Valve Position Switch. The TFT controls the signal voltage from the PCM. The PCM supplies a 5 volt reference signal to the TFT sensor on circuit 1227. When the transmission fluid is cold, the sensor resistance is high and the PCM detects high signal voltage. As the transmission fluid warms, the sensor resistance decreases and the detected voltage decreases. At the transmission's normal operating temperature of 100°C (212°F), the voltage is approximately 1.5 -2 volts.

If the PCM detects a continuous open or short to power in the TFT signal circuit or the TFT sensor in two consecutive ignition cycles, then DTC P0713 sets. DTC P0713 is a type B DTC.

Conditions for Setting the DTC

    • The system voltage is 10-17 volts.
    • The ignition is ON.
    • The TFT sensor indicates a voltage greater than 4.94 volts.
    • All conditions met for 50 seconds in two consecutive ignition cycles.

Action Taken When the DTC Sets

    • The transmission default temperature becomes 135°C (275°F).
    • The freeze shift adapts from being updated.
    • The PCM illuminates the Malfunction Indicator Lamp (MIL).

Conditions for Clearing the MIL/DTC

    • The PCM turns OFF the MIL after three consecutive ignition cycles without a failure reported.
    • A scan tool can clear the DTC from the PCM history. The PCM clears the DTC from the PCM history if the vehicle completes 40 warm-up cycles without a failure reported.
    • The PCM cancels the DTC default actions when the fault no longer exists and the ignition is OFF long enough in order to power down the PCM.

Diagnostic Aids

    • Inspect the harness for a faulty connection or an open in circuit 1227 (YEL/BLK).
    • Inspect the wiring for poor electrical connections at the PCM. Inspect the wiring at the 20-way harness. Look for the following problems:
       - A bent terminal
       - A backed out terminal
       - A damaged terminal
       - Poor terminal tension
       - A chafed wire
       - A broken wire inside the insulation
    • When diagnosing for an intermittent short or open, massage the wiring harness while watching test equipment for changes.
    • The scan tool displays the transmission fluid temperature in degrees. After the transmission is operating, the temperature should rise steadily to about 100°C (212°F).
    • Use the Temperature vs Resistance scale in order to test the TFT sensor at various temperatures. Test the TFT sensor in order to eliminate the possibility of a skewed (mis-scaled) sensor. A skewed sensor can result in firm shifts or TCC complaints.

Test Description

The numbers below refer to the step numbers on the diagnostic table.

  1. This step verifies that a problem exists in the TFT sensor circuit.

  2. This step simulates a TFT sensor DTC P0712. If the PCM receives the low signal voltage (indicating high temperature), and the scan tool displays 146°C (296°F) or greater, then the PCM and external wiring are functioning normally.

  3. This step tests the TFT sensor and the Automatic Transmission Wiring Harness Assembly.

DTC 0713 Transmission Fluid Temperature (TFT) Sensor Circuit -- High Input (Low Temperature Indicated)

Step

Action

Value(s)

Yes

No

1

Was the Powertrain On-Board Diagnostic (OBD) System Check performed?

--

Go to Step 2

Go to Powertrain On Board Diagnostic (OBD) System Check , Section 6

2

Examine the transmission fluid.

Refer to Transmission Fluid Check .

Did you perform the fluid checking procedure?

--

Go to Step 3

Go to Transmission Fluid Check

3

  1. Install the Scan Tool ®.
  2. With the engine OFF, turn the ignition switch to the RUN position.
  3. Important: Before clearing the DTCs, use the scan tool in order to record the Freeze Frame and the Failure Records for reference. The Clear Info function will erase the data.

  4. Record the DTC Freeze Frame and Failure Records.

Does the scan tool display a TFT Sensor signal voltage greater than the specified voltage?

4.94 volts

Go to Step 4

Go to Diagnostic Aids

4

  1. Turn the ignition to the OFF position.
  2. Disconnect the transmission 20-way connector.
  3. Install the J 39775 Jumper Harness on the engine side of the 20-way connector .
  4. Install a fused jumper wire between terminals L and M of the engine harness.
  5. Turn the ignition switch to the RUN position.

Does the TFT Sensor signal voltage decrease to less than the specified value?

0.2 volts

Go to Step 5

Go to Step 9

5

  1. Turn the ignition OFF.
  2. Install the J 39775 Jumper Harness on the transmission side of the 20-way connector.
  3. Using the J 39200 DMM and J 35616-A Connector Test Adapter Kit, measure the resistance between terminals L and M.

Important: This resistance range is valid at 20°C (68°F). In order to verify the TFT sensor at other temperatures, refer to the Temperature vs Resistance table.

Is the resistance within specifications?

3088-3941ohms

Go to Diagnostic Aids

Go to Step 6

6

  1. Disconnect the Automatic Transmission Wiring Harness Assembly at the TFP Valve Position Switch.
  2. Important: This resistance range is valid at 20°C (68°F). In order to verify the TFT sensor at other temperatures, refer to the Temperature vs Resistance table.

  3. Measure the resistance of the TFT sensor by measuring the resistance between terminals A and B of the TFP Valve Position Switch.

Is the resistance within specifications?

3088-3941ohms

Go to Step 7

Go to Step 8

7

Inspect the Automatic Transmission Wiring Harness Assembly for an open.

Refer to Electrical Diagnosis, Section 8.

Did you find and correct a problem?

--

Go to Step 13

--

8

Replace TFP Valve Position Switch.

Refer to Control Valve Body and Pressure Switch, in On-Vehicle Service.

Is the replacement complete?

--

Go to Step 13

--

9

Inspect circuit 1227 (YEL/BLK) for an open or a short to Battery Positive Voltage.

Refer to Electrical Diagnosis, Section 8.

Did you find and correct a problem?

--

Go to Step 13

Go to Step 10

10

Inspect circuit 470 (BLK) for an open or a short to Battery Positive Voltage.

Refer to Electrical Diagnosis, Section 8.

Did you find and correct a problem?

--

Go to Step 13

Go to Step 11

11

    • Inspect the PCM connector terminals for the following problems:
      • Damaged connector pins
      • Backed out connector pins
      • Weak terminal tension
    • Repair the connectors if necessary.

Did you find and correct a problem?

--

Go to Step 13

Go to Step 12

12

Replace the PCM.

Refer to Powertrain Control Module Replacement/Programming , Section 6.

Is the replacement complete?

--

Go to Step 13

--

13

  1. After the repair is complete, select DTC.
  2. Select Clear Info.
  3. Ensure that the TFT sensor indicates a voltage less than 4.92 volts for 2 seconds.
  4. Select Specific DTC. Enter DTC P0713.

Has the test run and passed?

--

System OK

Begin the diagnosis again. Go to Step 1