GM Service Manual Online
For 1990-2009 cars only

DTC P0719 Brake Switch Circuit Low Input 3.8L, VIN K


Object Number: 42303  Size: MF
Handling ESD Sensitive Parts Notice
OBD II Symbol Description Notice
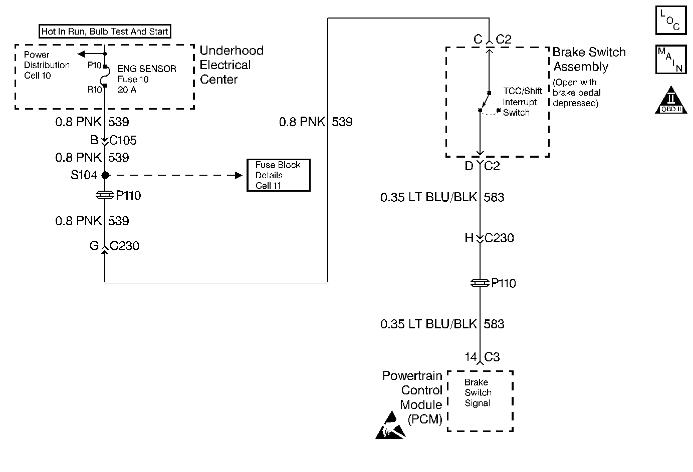
Automatic Transmission Components VIN K

Circuit Description

The TCC/Shift Interrupt switch indicates the status of the brake pedal. This normally-closed switch within the Brake Switch Assembly, supplies a B+ signal on the circuit 583 to the PCM. Applying the brake pedal opens the signal voltage circuit. The PCM de-energizes the TCC Solenoid Valve when the PCM receives the signal.

If the PCM detects an open brake switch during accelerations, then DTC P0719 sets. DTC P0719 is a type D DTC.

Conditions for Setting the DTC

    • No VSS DTCs P0502 or P0503.
    • The PCM detects an open TCC/Shift Interrupt switch/circuit (0 volts) for 15 minutes without going off for 2 seconds, and the following sequence of events occurs seven consecutive times:
       - The vehicle speed is less than 8 km/h (5 mph);
       - Then the vehicle speed is 8-32 km/h (5-20 mph) for 4 seconds;
       - Then the vehicle speed is greater than 32 km/h (20 mph) for 6 seconds.

Action Taken When the DTC Sets

    • If pass conditions are not met, the TP is greater than 5%, and the VSS is greater than 56 km/h (35 mph) after the TP was greater than 10% and the VSS was greater then 64 km/h (40 mph), then the brake switch is disregarded for TCC scheduling. This action occurs before the DTC sets.
    • The PCM does not illuminate the Malfunction Indicator Lamp (MIL).

Conditions for Clearing the DTC

    • A scan tool can clear the DTC from the PCM history. The PCM clears the DTC from the PCM history if the vehicle completes 40 warm-up cycles without a failure reported.
    • The PCM cancels the DTC default actions when the fault no longer exists and the ignition is OFF long enough in order to power down the PCM.

Diagnostic Aids

    • Inspect the wiring for any poor electrical connections at the PCM. Inspect the wiring at the brake switch assembly. Look for the following problems:
       - A bent terminal
       - A backed out terminal
       - A damaged terminal
       - Poor terminal tension
       - A chafed wire
       - A broken wire inside the insulation
    • When diagnosing for an intermittent short or an open, massage the wiring harness while watching the test equipment for changes.
    • Ask the customer about the customer's driving habits. Ask if the customer has any unusual driving conditions (e.g. stop-and-go, expressway, etc.).
    • Check for the most current calibration ID. Check for the latest bulletins.
    • Inspect the brake switch assembly for proper mounting and adjustment.

Test Description

The numbers below refer to the step numbers on the diagnostic table.

  1. This step tests for voltage at the brake switch.

  2. This step verifies that the TCC/Shift Interrupt switch is functioning normally.

  3. This step verifies that circuit 583 (LT BLU/BLK) is functioning normally at the PCM.

DTC P0719 Brake Switch Circuit -- Low Input

Step

Action

Value(s)

Yes

No

1

Was the Powertrain On-Board Diagnostic (OBD) System Check performed?

--

Go to Step 2

Go to Powertrain On Board Diagnostic (OBD) System Check , Section 6.

2

  1. Install the Scan Tool ®.
  2. With the engine OFF, turn the ignition switch to the RUN position.
  3. Important: Before clearing the DTCs, use the scan tool in order to record the Freeze Frame and the Failure Records for reference. The Clear Info function will erase the data.

  4. Record the DTC Freeze Frame and Failure Records.
  5. Apply the brake pedal. Release the brake pedal.

When you apply the brake pedal, does the scan tool display the TCC Brake Switch as Applied; then as Released when you release the brake?

--

Go to Diagnostic Aids

Go to Step 3

3

  1. Connect a test lamp to ground.
  2. Probe ignition feed circuit 539 (PNK) at the brake switch assembly.

Does the test lamp illuminate?

--

Go to Step 4

Go to Step 5

4

  1. Connect a test lamp to ground.
  2. Probe circuit 583 (LT BLU/ BLK) at the brake switch assembly.

Does the test lamp illuminate?

--

Go to Step 6

Go to Step 7

5

    • Repair the open in ignition feed circuit 539 (PNK) to the brake switch assembly.
        Refer to Electrical Diagnosis, Section 8.
    • If the ENG Sensor fuse is open, examine circuit 583 (LT BLU/BLK) for a short to ground.

Is the repair complete?

--

Go to Step 15

--

6

Apply the brake pedal.

Is the test lamp OFF when you apply the brake pedal?

--

Go to Step 9

Go to Step 8

7

Inspect the brake switch assembly for incorrect adjustment.

Did you find and correct a problem?

--

Go to Step 15

Go to Step 10

8

Inspect circuit 583 (LT BLU/BLK) for a short to Battery Positive Voltage.

Did you find and correct a problem?

--

Go to Step 15

Go to Step 10

9

  1. Release the brake pedal.
  2. Turn the ignition switch to the OFF position.
  3. Disconnect the C1 (Blue) PCM connector.
  4. With the engine OFF, turn the ignition switch to the Run position.
  5. Connect a test lamp to ground and probe the PCM connector C1-67.

Did the test lamp illuminate?

--

Go to Step 11

Go to Step 12

10

Replace the brake switch assembly.

Refer to Brake Switch Assembly Replacement, Section 5.

Is the replacement complete?

--

Go to Step 15

11

  1. Turn the ignition to the OFF position.
  2. Reconnect the C3 (clear) PCM connector.
  3. Turn the ignition switch to the RUN position.
  4. Apply the brake pedal. Release the brake pedal.

With the brake applied, does the scan tool display TCC Brake Switch as Applied, then Released with the brake pedal released?

--

Go to Diagnostic Aids

Go to Step 13

12

Repair the open in circuit 583 (LT BLU/BLK) from the brake switch assembly to the PCM.

Refer to Electrical Diagnosis, Section 8.

Is the repair complete?

--

Go to Step 15

13

  1. Inspect the PCM connector terminals for the following problems:
  2. • Damaged connector pins
    • Backed-out connector pins
    • Weak terminal tension
  3. Repair the connectors if necessary.

Did you find and correct a problem?

--

Go to Step 15

Go to Step 14

14

Replace the PCM.

Refer to Powertrain Control Module Replacement/Programming , Section 6.

Is the replacement complete?

--

Go to Step 15

15

  1. After the repair is complete, select DTC.
  2. Select Clear Info.
  3. Ensure that the TCC brake switch signal indicates 0 volts for 2 seconds with the brake pedal applied.
  4. Select Specific DTC. Enter DTC P0719.

Has the test run and passed?

--

System OK

Begin the diagnosis again. Go to Step 1

DTC P0719 Brake Switch Circuit Low Input 5.7L, VIN P


Object Number: 42304  Size: MF
Automatic Transmission Components VIN P
OBD II Symbol Description Notice
Handling ESD Sensitive Parts Notice

Circuit Description

The TCC/Shift Interrupt switch indicates the status of the brake pedal. This normally-closed switch, within the brake switch assembly, supplies a B+ signal on the circuit 583 to the PCM. Applying the brake pedal opens the signal voltage circuit. The PCM de-energizes the TCC Solenoid Valve when the PCM receives the signal.

If the PCM detects an open brake switch during accelerations in two consecutive ignition cycles, then DTC P0719 sets. DTC P0719 is a type B DTC.

Conditions for Setting the DTC

    • No VSS DTC P0502
    • The PCM detects an open TCC/shift interrupt switch/circuit (0 volts) for 15 minutes without going off for 2 seconds, and the following events occur seven consecutive times:
       - The vehicle speed is less than 8 km/h (5 mph);
       - Then the vehicle speed is 8-32 km/h (5-20 mph) for 6 seconds;
       - Then the vehicle speed is greater than 32 km/h (20 mph) for 4 seconds.

Action Taken When the DTC Sets

    • The TCC/Shift Interrupt switch remains closed (12 volts) with the brake pedal released.
    • The PCM inhibits engagement of the TCC Solenoid Valve
    • The PCM inhibits 4th gear if in hot mode
    • The PCM freezes shift adapts from being updated.
    • The PCM illuminates the Malfunction Indicator Lamp (MIL).

Conditions for Clearing the MIL/DTC

    • The PCM turns OFF the MIL after three consecutive ignition cycles without a failure reported.
    • A scan tool can clear the DTC from the PCM history. The PCM clears the DTC from the PCM history if the vehicle completes 40 warm-up cycles without a failure reported.
    • The PCM cancels the DTC default actions when the fault no longer exists and the ignition is OFF long enough in order to power down the PCM.

Diagnostic Aids

    • Inspect the wiring for any poor electrical connections at the PCM. Inspect the wiring at the brake switch assembly. Look for the following problems:
       - A bent terminal
       - A backed out terminal
       - A damaged terminal
       - Poor terminal tension
       - A chafed wire
       - A broken wire inside the insulation
    • When diagnosing for an intermittent short or an open, massage the wiring harness while watching the test equipment for changes.
    • Ask the customer about the customer's driving habits. Ask if the customer has any unusual driving conditions (e.g. stop-and-go, expressway, etc.).
    • Inspect for the most current calibration ID. Refer to the latest bulletins.
    • Inspect the brake switch assembly for proper mounting and adjustment.

Test Description

The numbers below refer to the step numbers on the diagnostic table.

  1. This step tests for voltage at the brake switch assembly.

  2. This step verifies that the TCC/Shift Interrupt switch is functioning normally.

  3. This step verifies that circuit 583 (LT BLU/BLK) is functioning normally at the PCM.

DTC P0719 Brake Switch Circuit -- Low Input

Step

Action

Value(s)

Yes

No

1

Was the Powertrain On-Board Diagnostic (OBD) System Check performed?

--

Go to Step 2

Go to Powertrain On Board Diagnostic (OBD) System Check , Section 6.

2

  1. Install the Scan Tool ®.
  2. With the engine OFF, turn the ignition switch to the RUN position.
  3. Important: Before clearing the DTCs, use the scan tool in order to record the Freeze Frame and the Failure Records for reference. The Clear Info function will erase the data.

  4. Record the DTC Freeze Frame and Failure Records.
  5. Apply the brake pedal. Release the brake pedal.

When you apply the brake pedal, does the scan tool display the TCC Brake Switch as Applied; then as Released when you release the brake?

--

Go to Diagnostic Aids

Go to Step 3

3

  1. Connect a test lamp to ground.
  2. Probe ignition feed circuit 539 (PNK) at the brake switch assembly.

Does the test lamp illuminate?

--

Go to Step 4

Go to Step 5

4

  1. Connect a test lamp to ground.
  2. Probe circuit 583 (LT BLU/BLK) at the brake switch assembly.

Does the test lamp illuminate?

--

Go to Step 6

Go to Step 7

5

    • Repair the open in ignition feed circuit 539 (PNK) to the brake switch assembly.
        Refer to Electrical Diagnosis, Section 8.
    • If the ENG Sensor fuse is open, examine circuit 583 (LT BLU/BLK) for a short to ground.

Is the repair complete?

--

Go to Step 15

--

6

Apply the brake pedal.

Is the test lamp OFF when you apply the brake pedal?

--

Go to Step 9

Go to Step 8

7

Inspect the brake switch assembly for incorrect adjustment.

Did you find and correct a problem?

--

Go to Step 15

Go to Step 10

8

Inspect circuit 583 (LT BLU/BLK) for a short to Battery Positive Voltage.

Did you find and correct a problem?

--

Go to Step 15

Go to Step 10

9

  1. Release the brake pedal.
  2. Turn the ignition switch to the OFF position.
  3. Disconnect the C1 (Blue) PCM connector.
  4. With the engine OFF, turn the ignition switch to the Run position.
  5. Connect a test lamp to ground and probe the PCM connector C1-67.

Did the test lamp illuminate?

--

Go to Step 11

Go to Step 12

10

Replace the brake switch assembly.

Refer to Brake Switch Assembly Replacement, Section 5.

Is the replacement complete?

--

Go to Step 15

11

  1. Turn the ignition to the OFF position.
  2. Reconnect the C3 (clear) PCM connector.
  3. Turn the ignition switch to the RUN position.
  4. Apply the brake pedal. Release the brake pedal.

With the brake applied, does the scan tool display TCC Brake Switch as Applied, then Released with the brake pedal released?

--

Go to Diagnostic Aids

Go to Step 13

12

Repair the open in circuit 583 (LT BLU/BLK) from the brake switch assembly to the PCM.

Refer to Electrical Diagnosis, Section 8.

Is the repair complete?

--

Go to Step 15

13

  1. Inspect the PCM connector terminals for the following problems:
  2. • Damaged connector pins
    • Backed out connector pins
    • Weak terminal tension
  3. Repair the connectors if necessary.

Did you find and correct a problem?

--

Go to Step 15

Go to Step 14

14

Replace the PCM.

Refer to Powertrain Control Module Replacement/Programming , Section 6.

Is the replacement complete?

--

Go to Step 15

15

  1. After the repair is complete, select DTC.
  2. Select Clear Info.
  3. Ensure that the TCC brake switch signal indicates 0 volts for 2 seconds with the brake pedal applied.
  4. Select Specific DTC. Enter DTC P0719.

Has the test run and passed?

--

System OK

Begin the diagnosis again. Go to Step 1