GM Service Manual Online
For 1990-2009 cars only

Removal Procedure

Caution: In order to avoid being burned, do not service the exhaust system while it is still hot. Service the system when it is cool.

Caution: Always wear protective goggles and gloves when removing exhaust parts as falling rust and sharp edges from worn exhaust components could result in serious personal injury.


    Object Number: 222971  Size: SH
  1. Remove the track bar. Refer to Rear Axle Tie Rod Replacement in Rear Suspension.
  2. Remove the drivers side rear tire.
  3. Support the rear axle with adjustable jack stands.

  4. Object Number: 222972  Size: SH
  5. Remove the passenger side rear stabilizer bar end link.

  6. Object Number: 222973  Size: SH
  7. Remove the passenger side rear shock lower nut.
  8. Remove the rear shock from the rear axle.

  9. Object Number: 222974  Size: SH
  10. Remove the torque arm bolts at the rear axle.
  11. Lower the rear axle slightly, using the adjustable jack stands.


    Object Number: 222975  Size: SH
  12. Remove the passenger side rear coil spring and bushing.

  13. Object Number: 222976  Size: SH
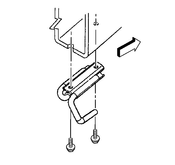
  14. Remove the left exhaust hanger from the underbody.

  15. Object Number: 550689  Size: SH
  16. Loosen the exhaust pipe clamp, (5.7 L shown, 3.8 L similar).
  17. Lower the right side of the rear axle enough to remove the muffler.
  18. Remove the muffler by rotating and sliding the muffler out from behind the vehicle.
  19. Transfer the exhaust hanger(s) to the new muffler.

Installation Procedure

Notice: When inspecting or replacing exhaust system components, make sure there is adequate clearance from all points on the underbody to prevent overheating of the floor pan and possible damage to the passenger compartment insulation and trim materials.


    Object Number: 550689  Size: SH
  1. Install the exhaust muffler to the vehicle, (5.7 L shown, 3.8 L similar).
  2. Raise the rear axle.
  3. Notice: Use the correct fastener in the correct location. Replacement fasteners must be the correct part number for that application. Fasteners requiring replacement or fasteners requiring the use of thread locking compound or sealant are identified in the service procedure. Do not use paints, lubricants, or corrosion inhibitors on fasteners or fastener joint surfaces unless specified. These coatings affect fastener torque and joint clamping force and may damage the fastener. Use the correct tightening sequence and specifications when installing fasteners in order to avoid damage to parts and systems.

  4. Tighten the exhaust pipe clamp.
  5. Tighten
    Tighten the exhaust pipe clamp bolt to 48 N·m (35 lb ft).


    Object Number: 222976  Size: SH
  6. Install the left exhaust muffler hanger to the underbody.
  7. Tighten
    Tighten the exhaust muffler hanger bolts to 10 N·m (89 lb in).


    Object Number: 222975  Size: SH
  8. Install the passenger side rear coil spring and bushing.

  9. Object Number: 222974  Size: SH
  10. Raise the axle completely.
  11. Install the torque arm bolts at the rear axle.
  12. Tighten

        • Tighten the torque arm bolts to 130 N·m (96 lb ft).
        • Tighten to torque arm nuts to 132 N·m (97 lb ft).

    Object Number: 222973  Size: SH
  13. Install the shock to the rear axle.
  14. Install the rear shock absorber nut.
  15. Tighten
    Tighten the rear shock nut to 90 N·m (66 lb ft).


    Object Number: 222972  Size: SH
  16. Connect the passenger side rear stabilizer bar end link.
  17. Tighten
    Tighten the end link nut to 23 N·m (17 lb ft).

  18. Remove the rear axle support.

  19. Object Number: 222971  Size: SH
  20. Install the drivers side rear tire
  21. Tighten
    Tighten the wheel nuts to 120 N·m (89 lb ft).

  22. Install the track bar. Refer to Rear Axle Tie Rod Replacement in Rear Suspension.