GM Service Manual Online
For 1990-2009 cars only
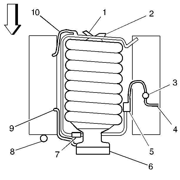
Figure 1:
Object Number: 344981  Size: SH
(1)To HVAC
(2)To Power Brake Booster
(3)EVAP System Test Port
(4)To EVAP Canister
(5)EVAP Canister Purge Solenoid
(6)Throttle Body
(7)Positive Crankcase Ventilation (PCV) Valve
(8)Exhaust Gas Recirculation (EGR) Valve
(9)Crankcase Ventilation Hose
(10)Crankcase Ventilation Hose
Figure 2:

EVAP System Overview


Object Number: 678941  Size: LF
(1)EVAP Canister Purge Solenoid
(2)EVAP Canister
(3)Fuel Fill Neck/Fill Cap
(4)Rollover Valve/Fuel Tank Pressure (FTP) Sensor
(5)Fuel Tank
(6)EVAP Canister Vent Solenoid
(7)Vent Hose/Pipe
(8)EVAP Vapor Pipe
(9)EVAP Purge Pipe
(10)EVAP Service Port