GM Service Manual Online
For 1990-2009 cars only

Powertrain control module (PCM) service should normally consist of either PCM replacement or electrically erasable programmable read only memory (EEPROM) programming. If the diagnostic procedures require PCM replacement, inspect the PCM first to see if the correct part is being used.

Important: In order to prevent internal PCM damage, the ignition must be OFF when you disconnect or reconnect the power to the PCM. For example, disconnect the power when you work with the following components:

    • A battery cable
    • The PCM pigtail
    • The PCM fuse
    • Jumper cables

Important: When you diagnose or replace the PCM, remove any debris from the PCM connector surfaces before servicing the PCM module connector gaskets. Ensure that the gaskets are installed correctly. The gaskets prevent contamination intrusion into the PCM.

Important:: The replacement PCM MUST be programmed.

Removal Procedure

    Important: It is necessary to record the remaining engine oil life. If the replacement module is not programed with the remaining engine oil life, the engine oil life will default to 100%. If the replacement module is not programmed with the remaining engine oil life, the engine oil will need to be changed at 5000 km (3,000 mi) from the last engine oil change.

  1. Using a scan tool, retrieve the percentage of remaining engine oil. Record the remaining engine oil life.
  2. Disconnect the negative battery cable. Refer to Battery Negative Cable Disconnection and Connection in Engine Electrical.
  3. Notice: Do not touch the connector pins or soldered components on the circuit board in order to prevent possible electrostatic discharge (ESD) damage to the PCM.

    Notice: In order to prevent internal damage to the PCM, the ignition must be OFF when disconnecting or reconnecting the PCM connector.


    Object Number: 416074  Size: SH
  4. Disconnect the PCM connectors.

  5. Object Number: 187250  Size: SH
  6. Remove the mounting fasteners from the PCM bracket.

  7. Object Number: 415726  Size: SH
  8. Remove the PCM and mounting bracket assembly from the engine compartment.
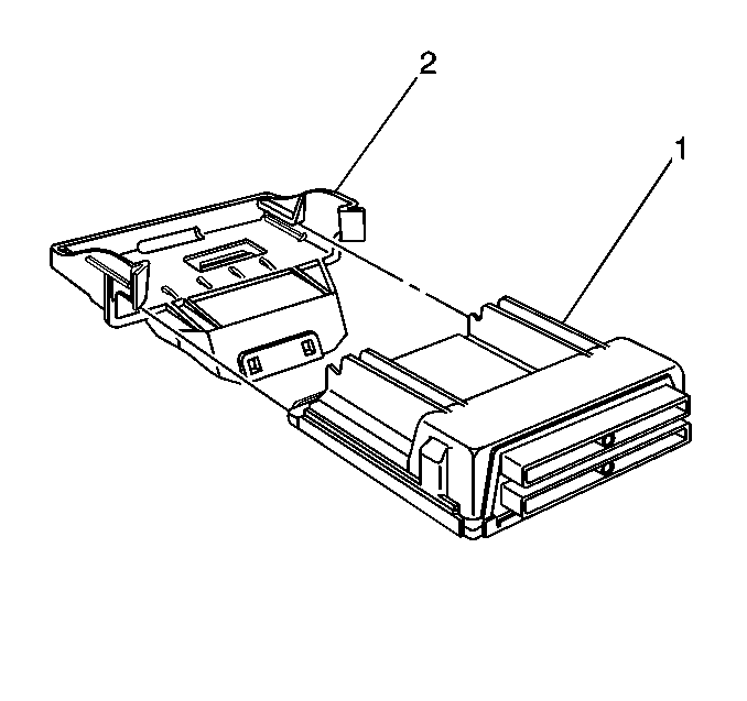
  9. Remove the PCM (1) from the mounting bracket (2).

Installation Procedure

    Notice: Do not touch the connector pins or soldered components on the circuit board in order to prevent possible electrostatic discharge (ESD) damage to the PCM.

    Notice: In order to prevent internal damage to the PCM, the ignition must be OFF when disconnecting or reconnecting the PCM connector.


    Object Number: 415726  Size: SH
  1. Install the PCM (1) to the mounting bracket (2).
  2. Notice: Refer to Fastener Notice in the Preface section.


    Object Number: 187250  Size: SH
  3. Install the PCM and install the mounting bracket assembly into the vehicle.
  4. Tighten
    Tighten the mounting bracket fasteners to 7 N·m (62 lb in).


    Object Number: 416074  Size: SH
  5. Reconnect the PCM connectors.
  6. Tighten
    Tighten the PCM connector end fasteners to 8 N·m (70 lb in).

  7. Connect the negative battery cable. Refer to Battery Negative Cable Disconnection and Connection in Engine Electrical.
  8. If you install a new PCM, program the PCM. Refer to Powertrain Control Module Programming .