GM Service Manual Online
For 1990-2009 cars only

Tools Required

J 41352 Modular Column Holding Fixture


    Object Number: 393978  Size: SH
  1. Install the dimmer switch assembly (3) to the ignition switch assembly (4).
  2. Install the hexagon washer head tapping screw (1) to the dimmer switch assembly (3).
  3. Tighten the hexagon washer head tapping screw (1) finger tight.
  4. Install the washer head screw (2) to the dimmer switch assembly (3).
  5. Tighten the washer head screw (2) finger tight.
  6. Insert the dimmer switch rod into the slot on the dimmer switch assembly (3).

  7. Object Number: 358700  Size: SH
  8. Adjust the dimmer switch assembly following these steps:
  9. 7.1. Install a 3/32 inch drill bit into the hole (1) on the dimmer switch assembly to limit travel.
    7.2. Position the dimmer switch assembly onto the column and push it against the dimmer switch actuator rod to remove all the lash.
    7.3. Remove the drill bit.

    Object Number: 393978  Size: SH

    Notice: Use the correct fastener in the correct location. Replacement fasteners must be the correct part number for that application. Fasteners requiring replacement or fasteners requiring the use of thread locking compound or sealant are identified in the service procedure. Do not use paints, lubricants, or corrosion inhibitors on fasteners or fastener joint surfaces unless specified. These coatings affect fastener torque and joint clamping force and may damage the fastener. Use the correct tightening sequence and specifications when installing fasteners in order to avoid damage to parts and systems.

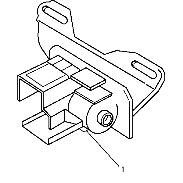
  10. Install the hexagon washer head screw (1).
  11. Tighten
    Tighten the hexagon washer head screw to 2.5 N·m (22 lb in).

  12. Install the washer head screw (2).
  13. Tighten
    Tighten the washer head screw to 4 N·m (35 lb in).

  14. Insert the vehicle wire harness into the dimmer switch assembly (3).