GM Service Manual Online
For 1990-2009 cars only

Removal Procedure


    Object Number: 282928  Size: SH
  1. Raise and support the vehicle. Refer to Lifting and Jacking the Vehicle in General Information.
  2. Remove the right front fascia outer deflector. Refer to Front Bumper Fascia Air Deflector Replacement in Bumpers.
  3. Disconnect the vacuum line from the vacuum tank.

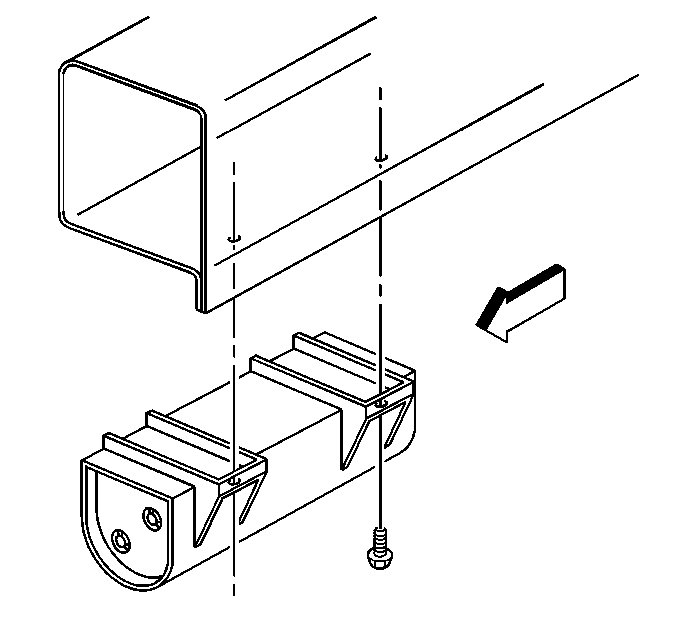
  4. Object Number: 282929  Size: SH
  5. Remove the vacuum tank mounting bolts.
  6. Remove the vacuum tank.

Installation Procedure


    Object Number: 282929  Size: SH
  1. Install the vacuum tank.
  2. Notice: Use the correct fastener in the correct location. Replacement fasteners must be the correct part number for that application. Fasteners requiring replacement or fasteners requiring the use of thread locking compound or sealant are identified in the service procedure. Do not use paints, lubricants, or corrosion inhibitors on fasteners or fastener joint surfaces unless specified. These coatings affect fastener torque and joint clamping force and may damage the fastener. Use the correct tightening sequence and specifications when installing fasteners in order to avoid damage to parts and systems.

  3. Install the vacuum tank mounting bolts.
  4. Tighten
    Tighten the vacuum tank mounting bolts to 1.9 N·m (17 lb in).


    Object Number: 282928  Size: SH
  5. Connect the vacuum line to the vacuum tank.
  6. Install the right front fascia outer deflector. Refer to Front Bumper Fascia Air Deflector Replacement in Bumpers.
  7. Lower the vehicle.