GM Service Manual Online
For 1990-2009 cars only

Removal Procedure


    Object Number: 282923  Size: SH
  1. Remove the right IP insulator. Refer to Instrument Panel Insulator Panel Replacement - Right Side in Instrument Panel, Gages and Console.
  2. Position the carpet away from the HVAC module assembly.
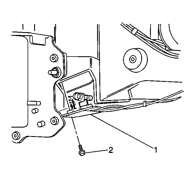
  3. Remove the blower resistor assembly bolt (2).
  4. Disconnect the blower resistor assembly electrical connector.
  5. Remove the blower resistor assembly (1).

Installation Procedure


    Object Number: 282923  Size: SH
  1. Install the blower motor resistor assembly (1).
  2. Notice: Refer to Fastener Notice in the Preface section.

  3. Connect the blower motor resistor assembly electrical connector.
  4. Install the blower motor resistor bolt (2).
  5. Tighten
    Tighten the bolt to 2 N·m (18 lb in).

  6. Reposition the carpet.
  7. Install the right instrument panel insulator. Refer to Instrument Panel Insulator Panel Replacement - Right Side in Instrument Panel, Gages, and Console.