GM Service Manual Online
For 1990-2009 cars only

Removal Procedure

  1. Remove the front seat. Refer to Front Seat Replacement - Bucket in Seats.

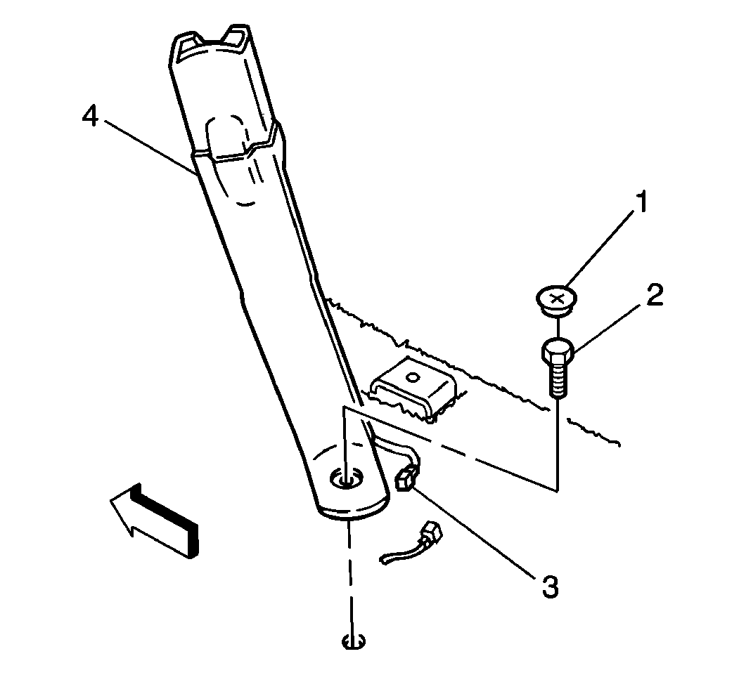
  2. Object Number: 179913  Size: SH
  3. Remove the driver side seat belt warning electrical connector (3).
  4. Remove the plug (1) from the bolt (2).
  5. Remove the bolt (2) that attaches the belt (4) to the floor pan.
  6. Remove the belt (4).

Installation Procedure


    Object Number: 179913  Size: SH
  1. Install the belt (4).
  2. Notice: Use the correct fastener in the correct location. Replacement fasteners must be the correct part number for that application. Fasteners requiring replacement or fasteners requiring the use of thread locking compound or sealant are identified in the service procedure. Do not use paints, lubricants, or corrosion inhibitors on fasteners or fastener joint surfaces unless specified. These coatings affect fastener torque and joint clamping force and may damage the fastener. Use the correct tightening sequence and specifications when installing fasteners in order to avoid damage to parts and systems.

  3. Install the bolt (2) that attaches the belt (4) to the floor pan.
  4. Tighten
    Tighten the bolt to 42 N·m (31 lb ft).

  5. Connect the plug (1) to the bolt (2).
  6. Install the driver seat belt warning electrical connector (3).
  7. Install the front seat. Refer to Front Seat Replacement - Bucket in Seats.