GM Service Manual Online
For 1990-2009 cars only

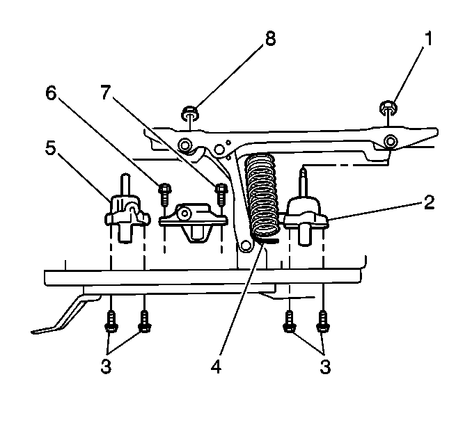
Removal Procedure


    Object Number: 330837  Size: SH
  1. Remove the power seat adjuster mechanism. Refer to Power Seat Adjuster Mechanism Replacement .
  2. Place the adjuster in a bench vise.
  3. Remove the rear adjuster nut (1).
  4. Open the vise slowly in order to relieve the assist spring compression.
  5. Remove the adjuster from the vise.
  6. Remove the vertical assist spring (4).
  7. Remove the front adjuster nut (8).
  8. Remove the actuator bolts (3).
  9. Remove the rear vertical actuator (2).
  10. Remove the front vertical actuator (5).

Installation Procedure


    Object Number: 330837  Size: SH
  1. Install the front vertical actuator (5).
  2. Install the rear vertical actuator (2).
  3. Notice: Use the correct fastener in the correct location. Replacement fasteners must be the correct part number for that application. Fasteners requiring replacement or fasteners requiring the use of thread locking compound or sealant are identified in the service procedure. Do not use paints, lubricants, or corrosion inhibitors on fasteners or fastener joint surfaces unless specified. These coatings affect fastener torque and joint clamping force and may damage the fastener. Use the correct tightening sequence and specifications when installing fasteners in order to avoid damage to parts and systems.

  4. Install the actuator bolts (3).
  5. Tighten
    Tighten the bolts to 2.4 N·m (21 lb in).

  6. Install the front adjuster nut (8).
  7. Tighten
    Tighten the adjuster nut to 5 N·m (44 lb in).

  8. Install the vertical assist spring (4).
  9. Place the adjuster into a bench vise.
  10. Carefully compress the vertical assist spring (4).
  11. Install the rear adjuster nut (1).
  12. Tighten
    Tighten the adjuster nut to 5 N·m (44 lb in).

  13. Remove the adjuster from the bench vise.
  14. Install the power seat adjuster mechanism. Refer to Power Seat Adjuster Mechanism Replacement .