GM Service Manual Online
For 1990-2009 cars only
Makes
🢒
Pontiac
🢒
2001
🢒
Firebird
🢒
Body and Accessories
🢒
Data Link Communications
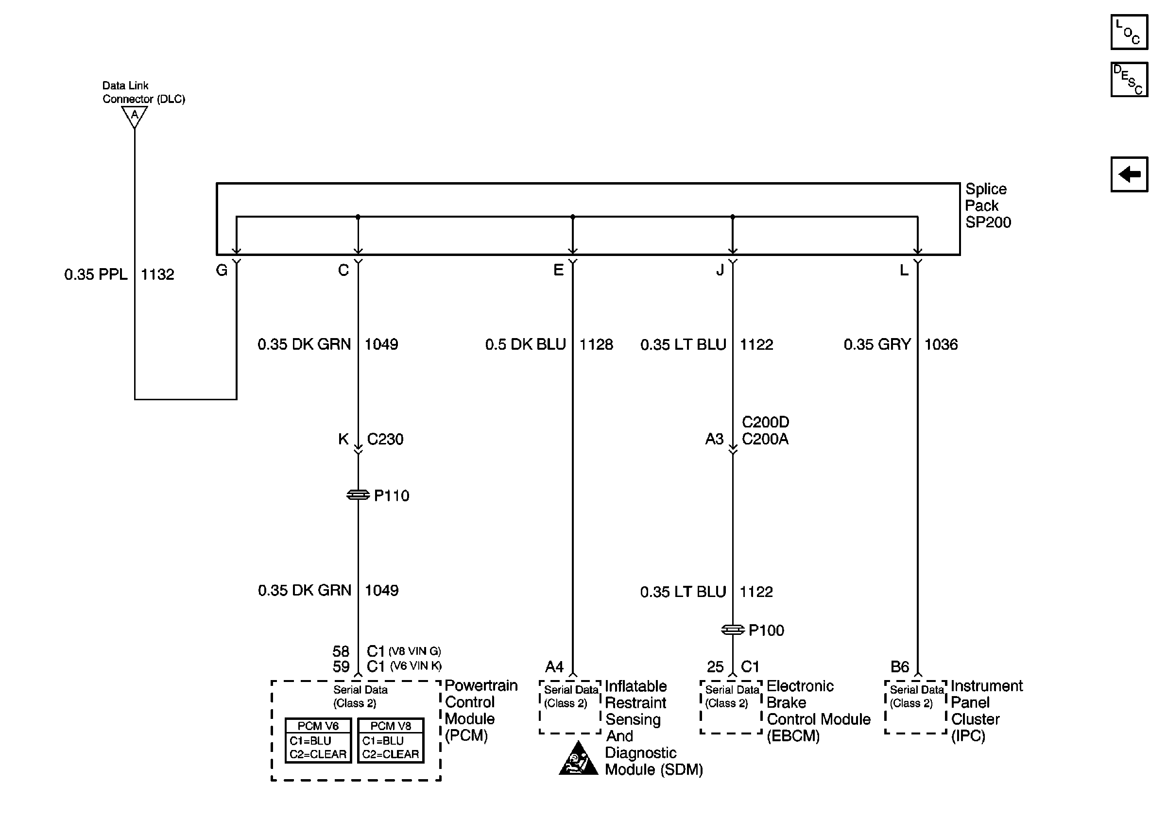
🢒 Data Link Connector Schematics
Figure
1:
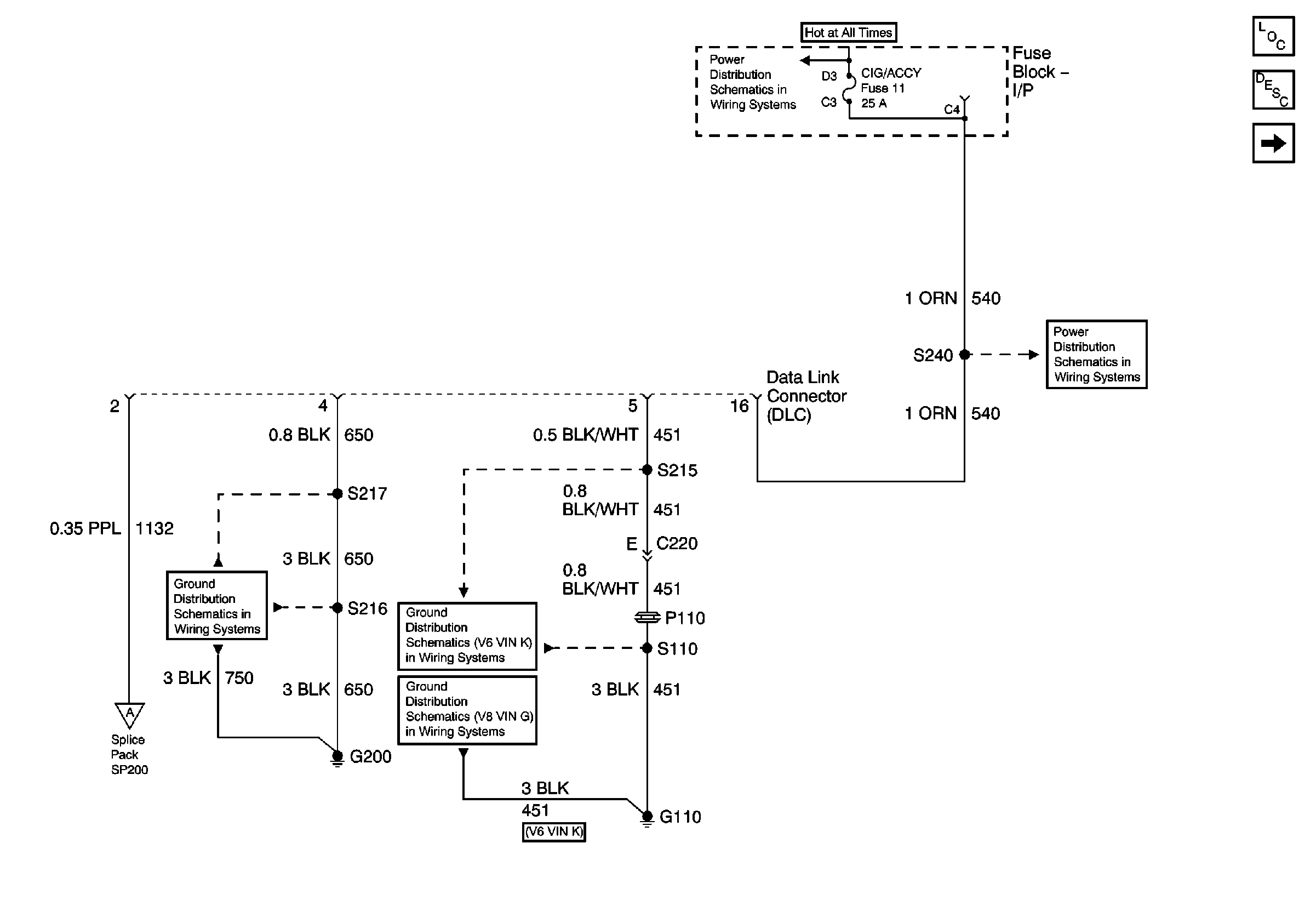
Power and Ground
Master Electrical Component List
Data Link Communications Description and Operation
Class 2 Serial Data Line
Fusible Links, CIG/ACCY, ENG CTRL, IGN, I/P-1, I/P-2, and PWR ACCY Fuses
Fusible Links, CIG/ACCY, ENG CTRL, IGN, I/P-1, I/P-2, and PWR ACCY Fuses
Class 2 Serial Data Line
Ground Distribution Schematics
G110 V6 VIN K
G110 V8 VIN G
Figure
2:
Class 2 Serial Data Line
Power and Ground
Master Electrical Component List
Data Link Communications Description and Operation
Power and Ground
SIR Handling Caution
Powertrain Control Module Connector End Views
Powertrain Control Module Connector End Views