GM Service Manual Online
For 1990-2009 cars only
Makes
🢒
Pontiac
🢒
2001
🢒
Firebird
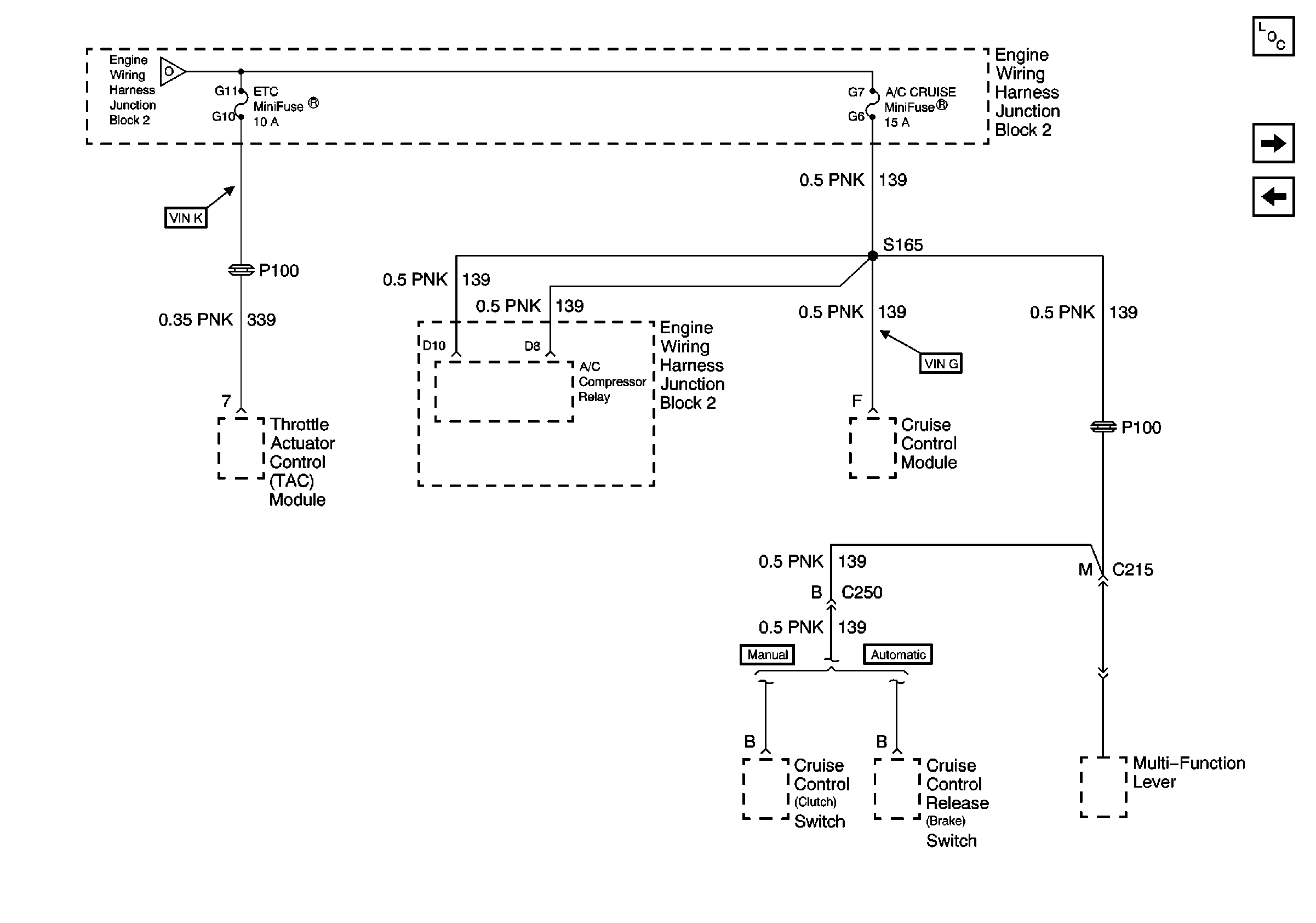
🢒 A/C CRUISE and ETC Fuses
A/C CRUISE and ETC Fuses
A/C CRUISE and ETC Fuses
Power and Grounding Components
INJ 1 Fuse
ABS IGN, PCM IGN, and STRTR Fuses
ENG CTRL Fuse