GM Service Manual Online
For 1990-2009 cars only
Makes
🢒
Pontiac
🢒
2001
🢒
Firebird
🢒 Power and Ground
Power and Ground
Power and Ground
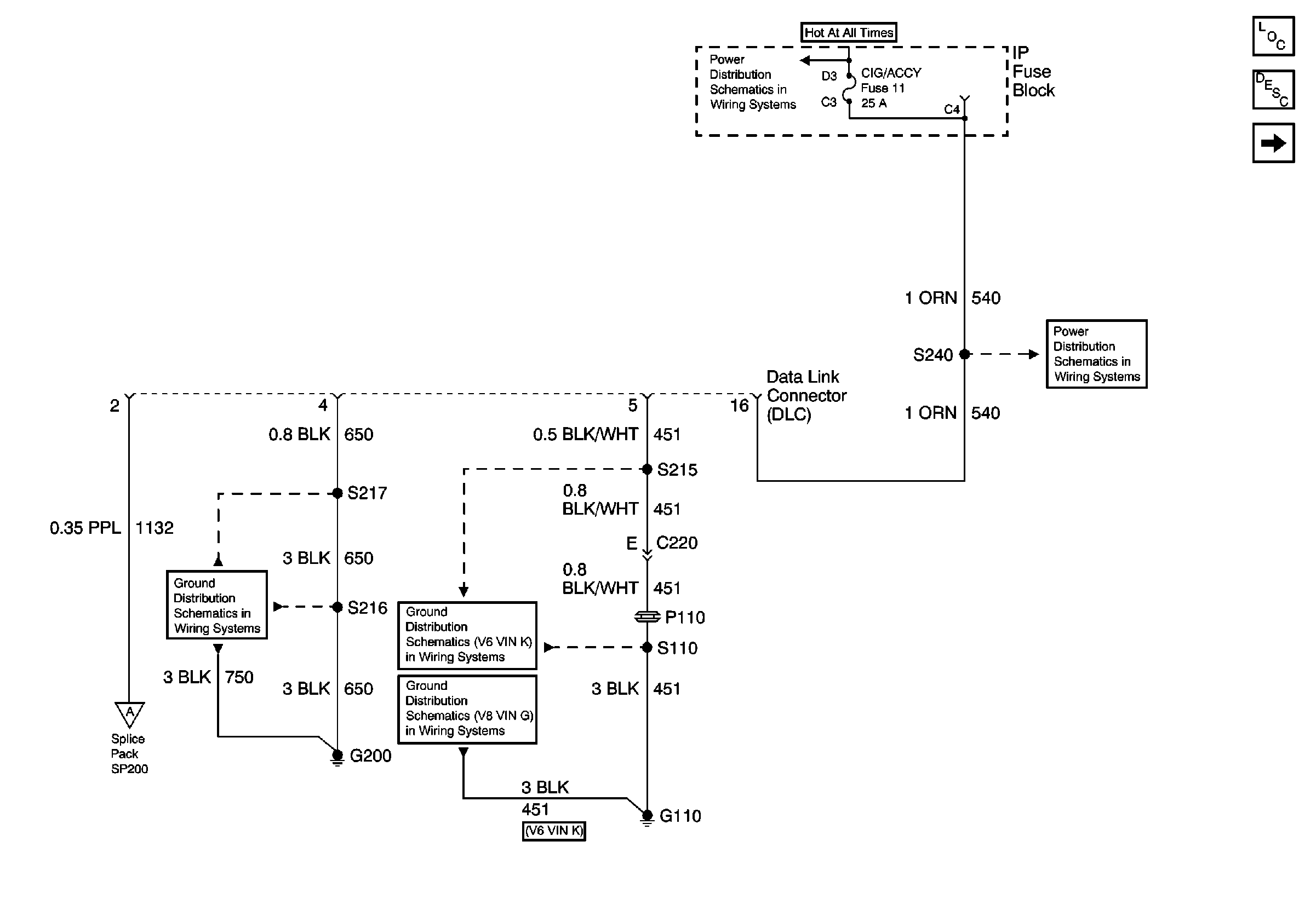
Data Link Communications Components
Data Link Communications Circuit Description
Class 2 Serial Data Line
Fusible Links, CIG/ACCY, ENG CTRL, IGN, I/P-1, I/P-2, and PWR ACCY Fuses
Fusible Links, CIG/ACCY, ENG CTRL, IGN, I/P-1, I/P-2, and PWR ACCY Fuses
Class 2 Serial Data Line
Ground Distribution Schematics
G110 V6 VIN K
G110 V8 VIN G