GM Service Manual Online
For 1990-2009 cars only
Makes
🢒
Pontiac
🢒
2001
🢒
Firebird
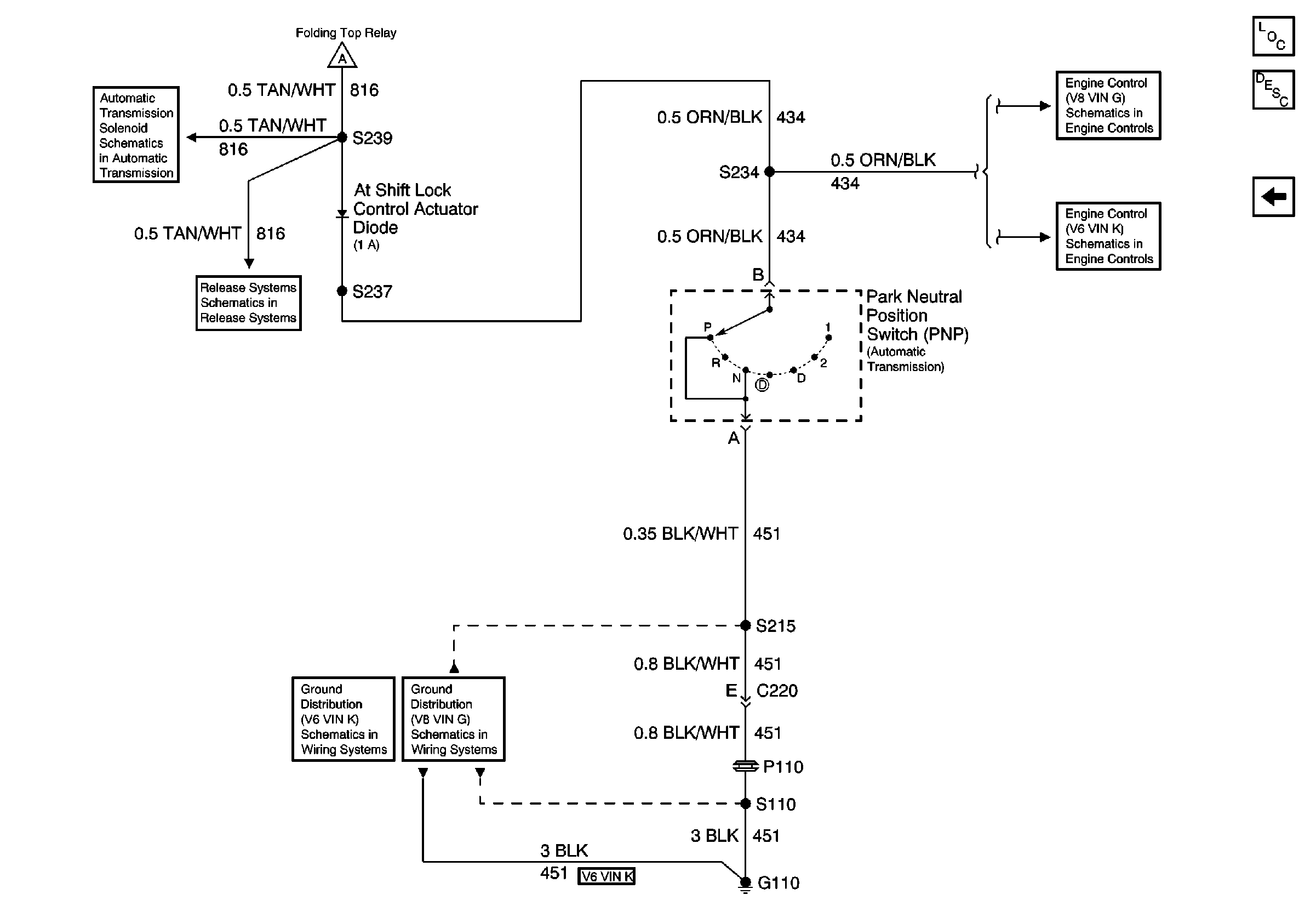
🢒 Park Neutral Position Switch
Park Neutral Position Switch
Park Neutral Position Switch
Master Electrical Component List
Power Folding Top Description and Operation
Folding Top Switch, Relay, and Pump (Motor)
AT Shift Lock Control Actuator Solenoid, and Diode
Park Brake Switch and Park/Neutral Position Switch
Folding Top Switch, Relay, and Pump (Motor)
G110 V6 VIN K
G110 V8 VIN G
Automatic Transmission, Park Neutral Position Switch
Automatic Transmission and Park/Neutral Position Switch