GM Service Manual Online
For 1990-2009 cars only

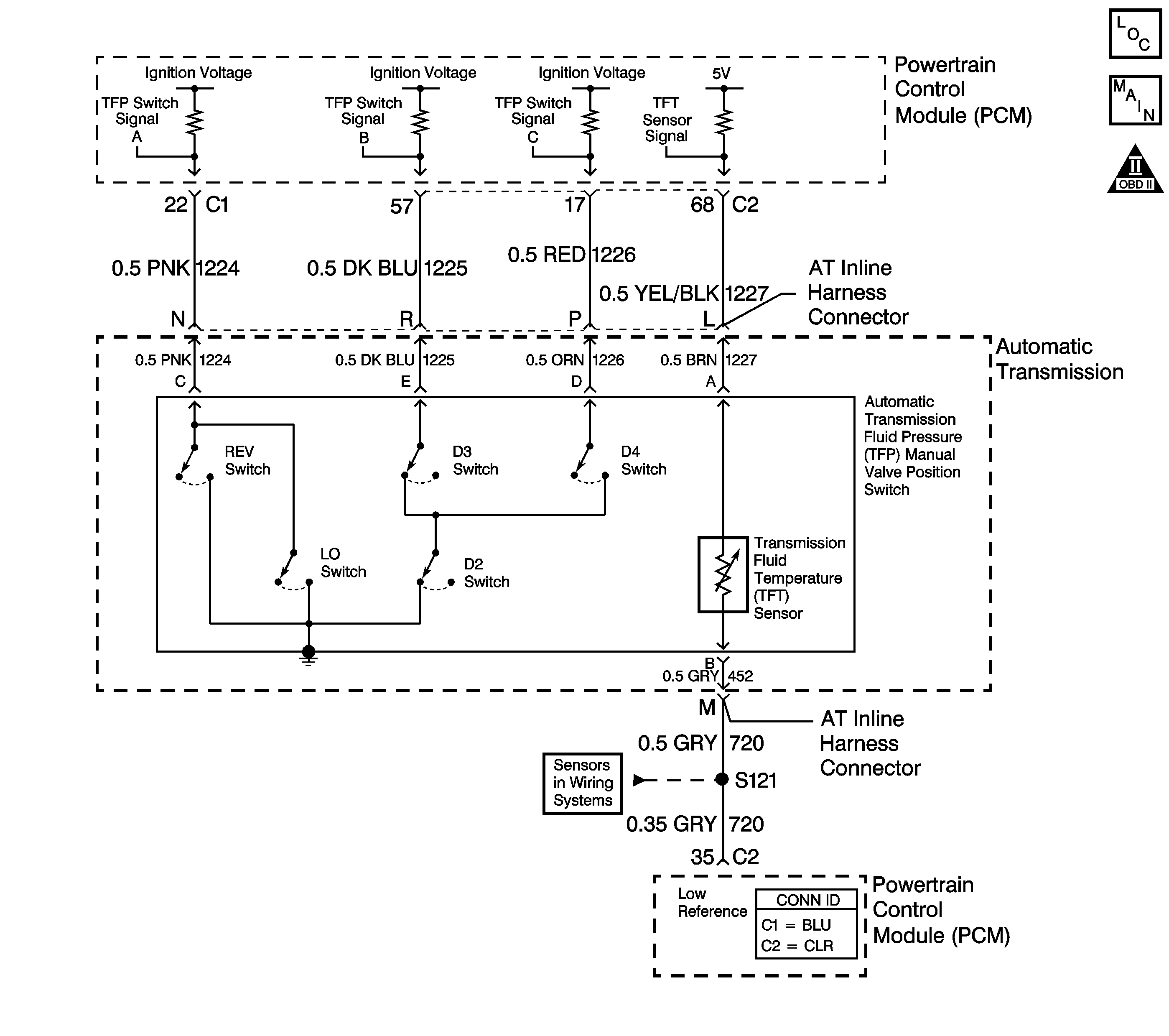
DTC P0713 3.8 L


Object Number: 694617  Size: LF
Master Electrical Component List
Automatic Transmission Controls Schematics
OBD II Symbol Description Notice

Circuit Description

The automatic transmission fluid temperature (TFT) sensor is part of the automatic transmission fluid pressure (TFP) manual valve position switch. The TFT sensor is a resistor, or thermistor, which changes value based on temperature. The sensor has a negative-temperature coefficient. This means that as the temperature increases, the resistance decreases, and as the temperature decreases, the resistance increases. The powertrain control module (PCM) supplies a 5-volt reference signal to the sensor on the TFT sensor signal circuit and measures the voltage drop in the circuit. When the transmission fluid is cold, the sensor resistance is high and the PCM detects high signal voltage. As the fluid temperature warms to a normal operating temperature, the resistance becomes less and the signal voltage decreases. The PCM uses this information to control shift quality and torque converter clutch apply.

When the PCM detects a continuous open or short to power in the TFT signal circuit or the TFT sensor, then DTC P0713 sets. DTC P0713 is a type C DTC.

Conditions for Running the DTC

    • The system voltage is 8-18 volts.
    • The ignition is ON.

Conditions for Setting the DTC

The TFT sensor indicates a signal voltage greater than 4.92 volts for 409 seconds (6.8 minutes).

Action Taken When the DTC Sets

    • The PCM does not illuminate the malfunction indicator lamp (MIL).
    • The PCM freezes shift adapts from being updated.
    • The PCM records the operating conditions when the Conditions for Setting the DTC are met. The PCM stores this information as Failure Records.
    • The PCM stores DTC P0713 in PCM history.

Conditions for Clearing the DTC

    • A scan tool can clear the DTC.
    • The PCM clears the DTC from PCM history if the vehicle completes 40 warm-up cycles without a non-emission-related diagnostic fault occurring.
    • The PCM cancels the DTC default actions when the fault no longer exists and/or the ignition switch is OFF long enough in order to power down the PCM.

Diagnostic Aids

The scan tool also displays the transmission fluid temperature in degrees. After the transmission is operating, the fluid temperature should rise steadily to a normal operating temperature, then stabilize.

Test Description

The numbers below refer to the step numbers on the diagnostic table.

  1. This step verifies a condition in the TFT sensor circuit.

  2. This step simulates a TFT sensor DTC P0712. If the PCM recognizes low signal voltage (high temperature), the PCM and wiring are functioning normally.

  3. This step tests the TFT sensor and automatic transmission (AT) wiring harness assembly.

DTC P0713 (3.8 L)

Step

Action

Value(s)

Yes

No

1

Did you perform the Powertrain Diagnostic System Check?

--

Go to Step 2

Go to Diagnostic System Check - Engine Controls in Engine Controls - 3.8 L

2

Inspect for correct transmission fluid level.

Refer to Transmission Fluid Check .

Did you perform the fluid checking procedure?

--

Go to Step 3

Go to Transmission Fluid Check

3

  1. Install a Scan Tool .
  2. Turn ON the ignition, with the engine OFF.
  3. Important: Before clearing the DTC, use the Scan Tool in order to record the Failure Records. Using the Clear Info function erases the Failure Records from the PCM.

  4. Record the DTC Failure Records.
  5. Clear the DTC.

Does the Scan Tool display a TFT Sensor signal voltage less than the specified value?

4.92 V

Go to Intermittent Conditions in Engine Controls - 3.8 L

Go to Step 4

4

  1. Turn OFF the ignition.
  2. Disconnect the AT inline 20-way connector (additional DTCs may set).
  3. Install the J 44152 jumper harness (20 pins) on the engine side of the AT inline 20-way connector.
  4. Connect a fused jumper wire between terminal L and terminal M of the J 44152 .
  5. Refer to Automatic Transmission Inline Harness Connector End View .

  6. Turn ON the ignition, with the engine OFF.

Does the TFT Sensor signal voltage drop to less than the specified value?

0.2 V

Go to Step 5

Go to Step 8

5

  1. Turn OFF the ignition.
  2. Install the J 44152 on the transmission side of the AT inline 20-way connector.
  3. Using the J 39200 digital multimeter (DMM) and the J 35616-A connector test adapter kit, measure the resistance between terminal L and terminal M of the J 44152 .
  4. Refer to Automatic Transmission Inline Harness Connector End View .

Does the resistance measure within the specified range?

3088-3942 Ohms at 20°C (68°F)

159-198 Ohms at 100°C (212°F)

Go to Intermittent Conditions in Engine Controls - 3.8 L

Go to Step 6

6

Test the signal circuit (CKT 1227) and the low reference circuit (CKT 452) of the TFT sensor for an open between the AT inline 20-way connector and the TFT sensor.

Refer to Circuit Testing in Wiring Systems.

Did you find an open condition?

--

Go to Step 10

Go to Step 7

7

Replace the TFT sensor (this sensor is part of the TFP manual valve position switch).

Refer to Valve Body and Pressure Switch Replacement .

Did you complete the replacement?

--

Go to Step 12

--

8

Test the signal circuit (CKT 1227) of the TFT sensor for an open or short to power between the PCM connector C2 and the AT inline 20-way connector.

Refer to Circuit Testing and Wiring Repairs in Wiring Systems.

Did you find and correct the condition?

--

Go to Step 12

Go to Step 9

9

Test the low reference circuit (CKT 720) of the TFT sensor for an open.

Refer to Circuit Testing and Wiring Repairs in Wiring Systems.

Did you find and correct the condition?

--

Go to Step 12

Go to Step 11

10

Replace the AT wiring harness assembly.

Refer to Torque Converter Clutch Pulse Width Modulation Solenoid, Torque Converter Clutch Solenoid, and Wiring Harness .

Did you complete the replacement?

--

Go to Step 12

--

11

Replace the PCM.

Refer to Powertrain Control Module Replacement in Engine Controls - 3.8 L.

Did you complete the replacement?

--

Go to Step 12

--

12

Perform the following procedure in order to verify the repair:

  1. Select DTC.
  2. Select Clear Info.
  3. Turn ON the ignition, with the engine OFF.
  4. Verify that the Scan Tool indicates a TFT Sensor signal voltage less than 4.92 volts for 409 seconds (6.8 minutes).
  5. Select Specific DTC.
  6. Enter DTC P0713.

Has the test run and passed?

--

System OK

Go to Step 1

DTC P0713 5.7 L


Object Number: 702115  Size: LF
Master Electrical Component List
Automatic Transmission Controls Schematics
OBD II Symbol Description Notice

Circuit Description

The automatic transmission fluid temperature (TFT) sensor is part of the automatic transmission fluid pressure (TFP) manual valve position switch. The TFT sensor is a resistor, or thermistor, which changes value based on temperature. The sensor has a negative-temperature coefficient. This means that as the temperature increases, the resistance decreases, and as the temperature decreases, the resistance increases. The powertrain control module (PCM) supplies a 5-volt reference signal to the sensor on the signal circuit and measures the voltage drop in the circuit. When the transmission fluid is cold, the sensor resistance is high and the PCM detects high signal voltage. As the fluid temperature warms to a normal operating temperature, the resistance becomes less and the signal voltage decreases. The PCM uses this information to control shift quality and torque converter clutch apply.

When the PCM detects a continuous open or short to power in the TFT signal circuit or the TFT sensor, then DTC P0713 sets. DTC P0713 is a type C DTC.

Conditions for Running the DTC

    • The system voltage is 10-18 volts.
    • The ignition is ON.

Conditions for Setting the DTC

The TFT sensor indicates a signal voltage greater than 4.92 volts for 400 seconds (6.7 minutes).

Action Taken When the DTC Sets

    • The PCM does not illuminate the malfunction indicator lamp (MIL).
    • The PCM calculates a default transmission fluid temperature based on engine coolant temperature, intake air temperature and engine run time.
    • The PCM freezes shift adapts from being updated.
    • The PCM records the operating conditions when the Conditions for Setting the DTC are met. The PCM stores this information as Failure Records.
    • The PCM stores DTC P0713 in PCM history.

Conditions for Clearing the DTC

    • A scan tool can clear the DTC.
    • The PCM clears the DTC from PCM history if the vehicle completes 40 warm-up cycles without a non-emission-related diagnostic fault occurring.
    • The PCM cancels the DTC default actions when the fault no longer exists and/or the ignition switch is OFF long enough in order to power down the PCM.

Test Description

The numbers below refer to the step numbers on the diagnostic table.

  1. This step verifies a condition in the TFT sensor circuit.

  2. This step simulates a TFT sensor DTC P0712. If the PCM recognizes low signal voltage (high temperature), the PCM and wiring are functioning normally.

  3. This step tests the TFT sensor and automatic transmission (AT) wiring harness assembly.

DTC P0713 (5.7 L)

Step

Action

Value(s)

Yes

No

1

Did you perform the Powertrain Diagnostic System Check?

--

Go to Step 2

Go to Diagnostic System Check - Engine Controls in Engine Controls - 5.7 L

2

Inspect for correct transmission fluid level.

Refer to Transmission Fluid Check .

Did you perform the fluid checking procedure?

--

Go to Step 3

Go to Transmission Fluid Check

3

  1. Install a Scan Tool .
  2. Turn ON the ignition, with the engine OFF.
  3. Important: Before clearing the DTC, use the Scan Tool in order to record the Failure Records. Using the Clear Info function erases the Failure Records from the PCM.

  4. Record the DTC Failure Records.
  5. Clear the DTC.

Does the Scan Tool display a TFT Sensor signal voltage less than the specified value?

4.92 V

Go to Intermittent Conditions in Engine Controls - 5.7 L

Go to Step 4

4

  1. Turn OFF the ignition.
  2. Disconnect the AT inline 20-way connector (additional DTCs may set).
  3. Install the J 44152 jumper harness (20 pins) on the engine side of the AT inline 20-way connector.
  4. Connect a fused jumper wire between terminal L and terminal M of the J 44152 .
  5. Refer to Automatic Transmission Inline Harness Connector End View .

  6. Turn ON the ignition, with the engine OFF.

Does the TFT Sensor signal voltage drop to less than the specified value?

0.2 V

Go to Step 5

Go to Step 8

5

  1. Turn OFF the ignition.
  2. Install the J 44152 on the transmission side of the AT inline 20-way connector.
  3. Using the J 39200 digital multimeter (DMM) and the J 35616-A connector test adapter kit, measure the resistance between terminal L and terminal M of the J 44152 .
  4. Refer to Automatic Transmission Inline Harness Connector End View .

Does the resistance measure within the specified range?

3088-3942 Ohms at 20°C (68°F)

159-198 Ohms at 100°C (212°F)

Go to Intermittent Conditions in Engine Controls - 5.7 L

Go to Step 6

6

Test the signal circuit (CKT 1227) and low reference circuit (CKT 452) of the TFT sensor for an open between the AT inline 20-way connector and the TFT sensor.

Refer to Circuit Testing in Wiring Systems.

Did you find an open condition?

--

Go to Step 10

Go to Step 7

7

Replace the TFT sensor (this sensor is part of the TFP manual valve position switch).

Refer to Valve Body and Pressure Switch Replacement .

Did you complete the replacement?

--

Go to Step 12

--

8

Test the signal circuit (CKT 1227) of the TFT sensor for an open or short to power between the PCM connector C2 and the AT inline 20-way connector.

Refer to Circuit Testing and Wiring Repairs in Wiring Systems.

Did you find and correct the condition?

--

Go to Step 12

Go to Step 9

9

Test the low reference circuit (CKT 407) of the TFT sensor for an open.

Refer to Circuit Testing and Wiring Repairs in Wiring Systems.

Did you find and correct the condition?

--

Go to Step 12

Go to Step 11

10

Replace the AT wiring harness assembly.

Refer to Torque Converter Clutch Pulse Width Modulation Solenoid, Torque Converter Clutch Solenoid, and Wiring Harness .

Did you complete the replacement?

--

Go to Step 12

--

11

Replace the PCM.

Refer to Powertrain Control Module Replacement in Engine Controls - 5.7 L.

Did you complete the replacement?

--

Go to Step 12

--

12

Perform the following procedure in order to verify the repair:

  1. Select DTC.
  2. Select Clear Info.
  3. Turn ON the ignition, with the engine OFF.
  4. Verify that the Scan Tool indicates a TFT Sensor signal voltage less than 4.92 volts for 400 seconds (6.7 minutes).
  5. Select Specific DTC.
  6. Enter DTC P0713.

Has the test run and passed?

--

System OK

Go to Step 1