GM Service Manual Online
For 1990-2009 cars only

Removal Procedure


    Object Number: 181244  Size: SH
  1. Raise and suitably support the vehicle. Refer to Lifting and Jacking the Vehicle in General Information.
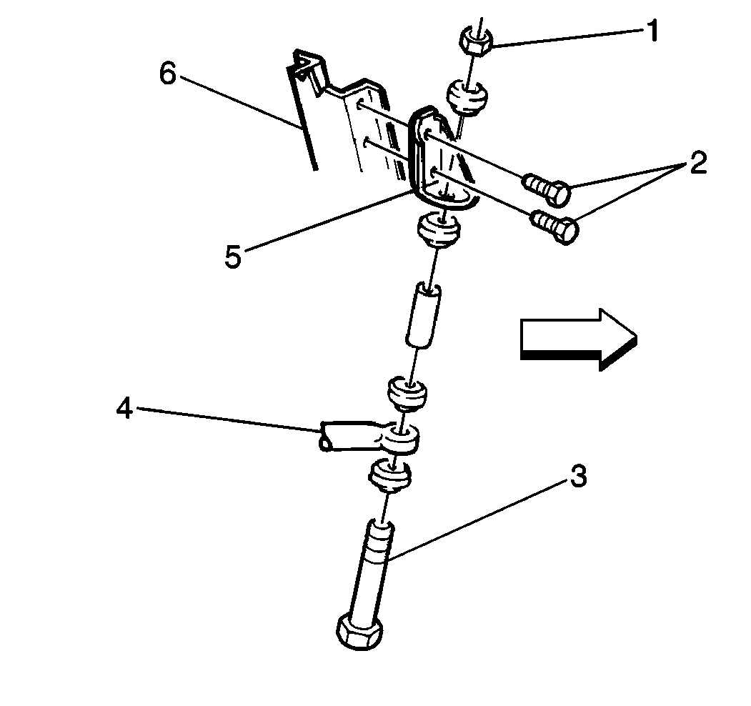
  2. Remove the stabilizer shaft nut (1), bolt (3) and bushings.
  3. Remove the stabilizer shaft spacer and bushings.
  4. Remove the stabilizer shaft bracket bolts (2) and bracket (5), if necessary.
  5. Remove the stabilizer shaft bracket (5) from the underbody pan (6), if necessary.

Installation Procedure


    Object Number: 181244  Size: SH
  1. Align the stabilizer shaft bracket (5) to the underbody pan (6).
  2. Notice: Use the correct fastener in the correct location. Replacement fasteners must be the correct part number for that application. Fasteners requiring replacement or fasteners requiring the use of thread locking compound or sealant are identified in the service procedure. Do not use paints, lubricants, or corrosion inhibitors on fasteners or fastener joint surfaces unless specified. These coatings affect fastener torque and joint clamping force and may damage the fastener. Use the correct tightening sequence and specifications when installing fasteners in order to avoid damage to parts and systems.

  3. Install the stabilizer shaft bracket (5) and bolts (2).
  4. Tighten
    Tighten the stabilizer shaft bracket bolts (2) to 47 N·m (35 lb ft).

  5. Install the stabilizer shaft spacer and bushings.
  6. Install the stabilizer shaft bushings, the bolt (3), and the nut (1).
  7. Tighten
    Tighten the stabilizer shaft bolt (3) to 23 N·m (17 lb ft).

  8. Lower the vehicle.