GM Service Manual Online
For 1990-2009 cars only

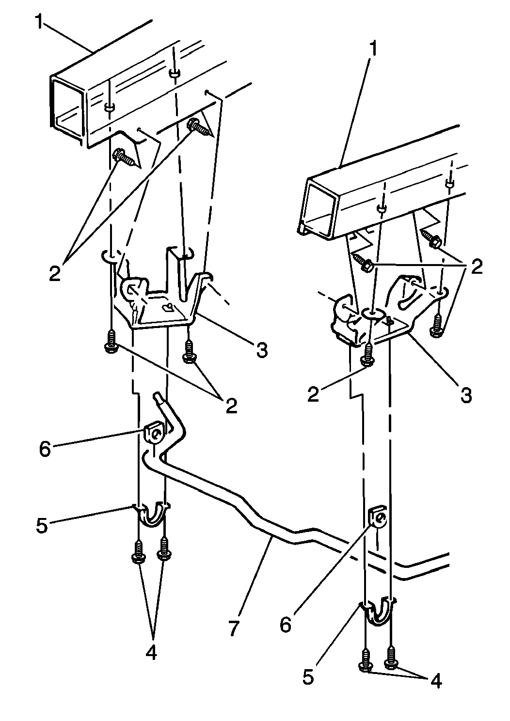
Removal Procedure


    Object Number: 181093  Size: MH
  1. Raise and suitably support the vehicle. Refer to Lifting and Jacking the Vehicle in General Information.
  2. Remove the stabilizer shaft link. Refer to Stabilizer Shaft Link Replacement .
  3. Remove the stabilizer shaft insulator clamp bolts (4) and stud.
  4. Remove the stabilizer shaft insulator clamps (5).
  5. Remove the stabilizer shaft (7) from the vehicle.
  6. Remove the insulators (6) from the stabilizer shaft (7), if necessary.

Installation Procedure


    Object Number: 181093  Size: MH

    Important: The slit in the insulator (6) must face toward the front of the vehicle.

  1. Install the stabilizer shaft insulators (6) over the stabilizer shaft (7), if necessary.
  2. Place the stabilizer shaft (7) into position on the vehicle.
  3. Install the stabilizer shaft insulator clamps (5) over the insulators.
  4. Notice: Use the correct fastener in the correct location. Replacement fasteners must be the correct part number for that application. Fasteners requiring replacement or fasteners requiring the use of thread locking compound or sealant are identified in the service procedure. Do not use paints, lubricants, or corrosion inhibitors on fasteners or fastener joint surfaces unless specified. These coatings affect fastener torque and joint clamping force and may damage the fastener. Use the correct tightening sequence and specifications when installing fasteners in order to avoid damage to parts and systems.

  5. Install the stabilizer shaft insulator clamp bolts (4) and stud.
  6. Tighten
    Tighten the stabilizer shaft insulator clamp bolts (4) and stud to 55 N·m (41 lb ft).

  7. Install the stabilizer shaft link. Refer to Stabilizer Shaft Link Replacement .
  8. Lower the vehicle.