GM Service Manual Online
For 1990-2009 cars only

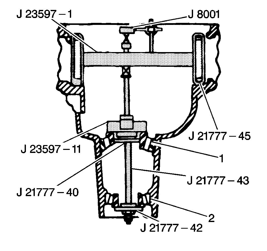
Tools Required

    • J 8001 Dial Indicator Set
    • J 21777-40 Rear Pilot Washer
    • J 21777-42 Front Pilot Washer
    • J 21777-43 Stud Assembly
    • J 21777-45 Side Bearing Disc
    • J 23597-1 Arbor
    • J 23597-11 Gage Plate

Use a pinion setting gage in order to measure differential drive pinion gear depth. The gage provides a zero pinion as a gaging reference.


    Object Number: 164276  Size: SH
  1. Install the J 21777-40 , J 21777-42 , the J 21777-43 , and the J 21777-45 .
  2. Install the J 23597-11 .
  3. Install the J 21777-42 into the rear axle housing.
  4. Notice: Use the correct fastener in the correct location. Replacement fasteners must be the correct part number for that application. Fasteners requiring replacement or fasteners requiring the use of thread locking compound or sealant are identified in the service procedure. Do not use paints, lubricants, or corrosion inhibitors on fasteners or fastener joint surfaces unless specified. These coatings affect fastener torque and joint clamping force and may damage the fastener. Use the correct tightening sequence and specifications when installing fasteners in order to avoid damage to parts and systems.

  5. Install the drive pinion gear setting gage nut into the rear axle housing.
  6. Tighten
    Tighten the differential drive pinion gear setting gage nut to 2.3 N·m (20 lb in).

  7. Rotate the J 23597-11 in order to seat the following components:
  8. • The differential drive pinion gear outer bearing (2)
    • The differential drive pinion gear inner bearing (1)

    Object Number: 164343  Size: SH
  9. Mount the J 8001 onto the J 23597-1 .
  10. Preload the dial indicator against the plunger about 1.27 mm (0.050 in).
  11. Install the J 21777-45 onto the J 23597-11 .
  12. Position this unit into the rear axle housing.

  13. Install the following components:
  14. • The carrier bearing caps (3)
    • The bearing cap bolts/screws (2)

    Tighten
    Tighten the differential carrier bearing cap bolt/screws (2) to 75 N·m (55 lb ft).

  15. Use the following steps in order to measure the differential drive pinion gear depth:
  16. 10.1. Rotate the J 23597-1 slowly back and forth until the J 8001 reads the greatest deflection.

    The deflection is the point where the needle changes direction.

    10.2. At the point of deflection, set the J 8001 to zero.
    10.3. Repeat the rocking action in order to verify the zero setting.
    10.4. After obtaining the zero setting, rotate the J 23597-1 until the plunger no longer touches the J 23597-11 .

    This action provides the gauge reference of a zero or nominal drive pinion gear.

    10.5. Use the following information in order to select the correct shim:
       • Record the J 8001 reading at the pointer position.
       • The required drive pinion gear shim thickness is equal to the J 8001 reading.
       • For example, if the pointer moved counterclockwise 1.70 mm (0.067 in) to a dial reading of 0.84 mm (0.033 in), a shim thickness of 0.84 mm (0.033 in) is required.
       • Drive pinion gear shims are available in 0.03-0.94 mm (0.001-0.037 in).
       • The thickness of each shim is etched on the flat surface of the shim.

    Object Number: 164276  Size: SH
  17. Loosen the J 21777-43 .
  18. Remove all of the tools from the rear axle housing.
  19. Remove the inner (1) and the outer (2) drive pinion gear bearings from the rear axle housing.
  20. Install the correct drive pinion gear shim on the drive pinion gear.
  21. Use the following steps in order to set the proper drive pinion gear depth:
  22. 15.1. Use the set-up dimension determined by J 8001 as a starting point.
    15.2. Perform a ring gear tooth pattern test in order to determine if additional drive pinion gear shim changes are necessary. Refer to Pinion and Ring Gear Inspection .
  23. Install the drive pinion gear inner and outer bearings. Refer to Drive Pinion Assemble .
  24. Assemble the differential case. Refer to Differential Carrier Assembly Replacement .
  25. With a new drive pinion gear seal installed, measure the total bearing preload of the assembly at the drive pinion gear nut:
  26. Specification

        • Rotating torque 3.6-6.2 N·m (32-55 lb in) with new inner and outer drive pinion gear bearings.
        • Rotating torque 1.8-3.1 N·m (16-28 lb in) with used inner and outer drive pinion gear bearings.