GM Service Manual Online
For 1990-2009 cars only

Tools Required

J 36604 Door Hinge Spring Compressor

Removal Procedure

  1. Mark the location of the lower hinge on the door and on the hinge pillar.
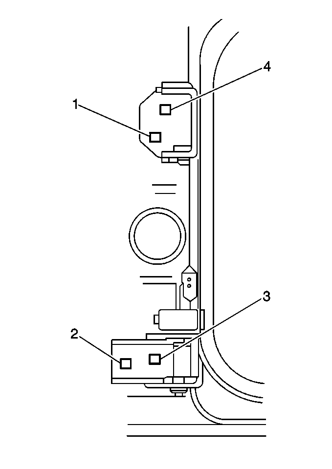
  2. Support the door (1).
  3. Remove the door hinge spring using J 36604 on the lower hinge only.
  4. Remove the bolts securing the lower hinge to the hinge pillar.

  5. Object Number: 378873  Size: SH
  6. Remove the bolts securing the lower hinge to the door.
  7. Remove the lower door hinge.

Installation Procedure


    Object Number: 378879  Size: MH
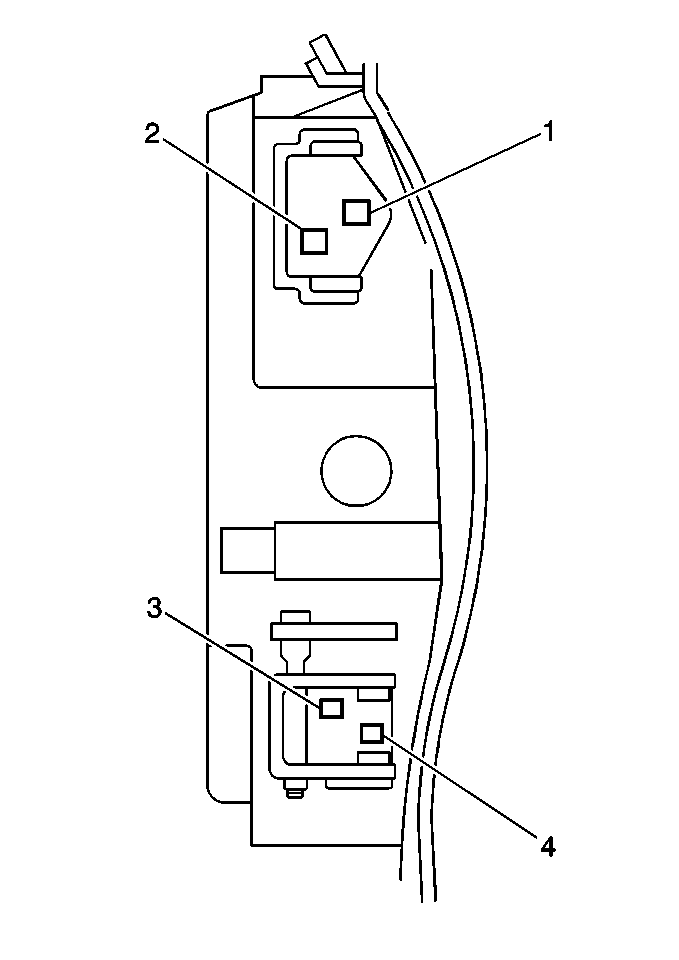
  1. Position the hinge to the marks on the door.
  2. Install the hinge to door bolts in sequence, 1-4 as shown.
  3. Notice: Use the correct fastener in the correct location. Replacement fasteners must be the correct part number for that application. Fasteners requiring replacement or fasteners requiring the use of thread locking compound or sealant are identified in the service procedure. Do not use paints, lubricants, or corrosion inhibitors on fasteners or fastener joint surfaces unless specified. These coatings affect fastener torque and joint clamping force and may damage the fastener. Use the correct tightening sequence and specifications when installing fasteners in order to avoid damage to parts and systems.

  4. Install the bolts attaching the hinge to the door.
  5. Tighten
    Tighten the bolts to 30 N·m (22 lb ft).


    Object Number: 384561  Size: MH
  6. Position the hinge to the marks on the hinge pillar.
  7. Install the bolts in sequence, 1-4 as shown, attaching the hinge to the hinge pillar.
  8. Tighten
    Tighten the bolts to 30 N·m (22 lb ft).

  9. Install the spring on the lower hinge only.
  10. Remove the door support and inspect the alignment of the door.