GM Service Manual Online
For 1990-2009 cars only
Makes
🢒
Pontiac
🢒
2002
🢒
Firebird
🢒
Body and Accessories
🢒
Lighting Systems
🢒 Interior Lights Dimming Schematics
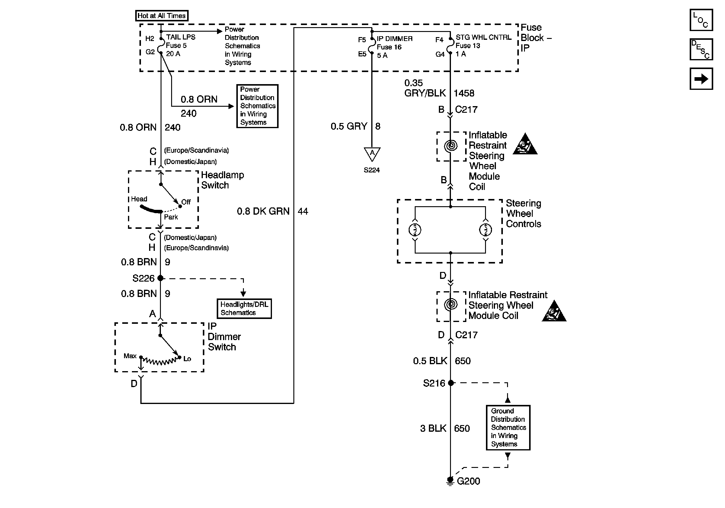
Figure
1:
Switch Controls
Master Electrical Component List
Interior Lighting Systems Description and Operation
Interior Lamps
AIR BAG and GAUGES Fuses
I/P-2,TAIL LPS, STOP/HAZARD,PWR ACCY and CIG/ACCY Fuses
I/P-2,TAIL LPS, STOP/HAZARD,PWR ACCY and CIG/ACCY Fuses
Interior Lamps
SIR Handling Caution
SIR Handling Caution
G200 Page 1 of 3
Figure
2:
Interior Lamps
Master Electrical Component List
Interior Lighting Systems Description and Operation
Switch Controls
Switch Controls
G400 Coupe and Convertible
G200 Page 1 of 3
G200 Page 1 of 3