GM Service Manual Online
For 1990-2009 cars only
Figure 1:

Right Side of Front Fascia


Object Number: 374164  Size: MF
(1)Forward Lamp Harness
(2)Marker Lamp-RF
(3)Park/Turn Signal Lamp-RF
Figure 2:

Lower Right Side of Front Fascia


Object Number: 578347  Size: MF
(1)Front Bumper Beam
(2)Fog Lamp-RF
(3)Forward Lamp Harness
Figure 3:

Left Lower Instrument Panel - Pontiac


Object Number: 581418  Size: MF
(1)Fog Lamp Switch
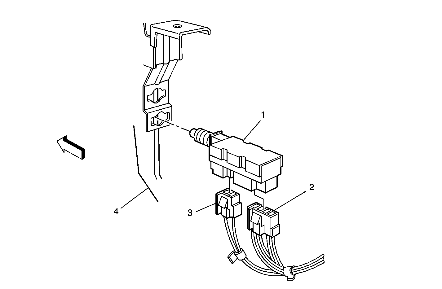
Figure 4:

Brake Pedal Bracket


Object Number: 568548  Size: MF
(1)Stoplamp Switch
(2)Stoplamp Switch Connector C2
(3)Stoplamp Switch Connector C1
(4)Brake Pedal
Figure 5:

Left Side of Instrument Panel - Chevrolet


Object Number: 374311  Size: LF
(1)Headlamp Switch Assembly
(2)Instrument Panel
Figure 6:

Left Side of Instrument Panel - Pontiac


Object Number: 374315  Size: LF
(1)Instrument Panel Wiring Harness
(2)Headlamp Switch Assembly
(3)Instrument Panel Carrier
Figure 7:

Center of Instrument Panel (Export)


Object Number: 374302  Size: LF
(1)SIR Bracket
(2)Turn Signal Flasher Module - Export
(3)Instrument Panel Wiring Harness
Figure 8:

Left Side of Instrument Panel


Object Number: 374307  Size: LF
(1)Turn Signal Flasher Module - Domestic
(2)Splice Pack SP 200
(3)Data Link Connector (DLC)
(4)Instrument Panel Wiring Harness
Figure 9:

Hazard Warning Flasher


Object Number: 374316  Size: LF
(1)Hazard Flasher Module
(2)Instrument Panel
Figure 10:

Left Side of Manual Transmission (M49)


Object Number: 374263  Size: LF
(1)Manual Transmission
(2)Vehicle Speed Sensor (VSS)
(3)Backup Lamp Switch
(4)Engine Wiring Harness
Figure 11:

Right Side of Manual Transmission (MM6)


Object Number: 374289  Size: LF
(1)Manual Transmission
(2)Engine Wiring Harness
(3)Backup Lamp Switch
Figure 12:

Rear Fascia


Object Number: 374125  Size: LF
(1)Marker Lamp-RR
(2)License Lamp
(3)Marker Lamp-LR
(4)Rear Fascia
Figure 13:

Rear Fascia - Europe


Object Number: 568551  Size: MF
(1)Fog Lamp-RR
(2)Fog Lamp-LR
(3)Rear Fascia
(4)Rear License Plate and Rear Marker Lamp Wiring Harness
Figure 14:

Rear Lights


Object Number: 374204  Size: LF
(1)Backup Lamp-Left Connector
(2)Backup Lamp-Right Connector
(3)Tail Lamp Right-Inboard Connector
(4)Tail/Stop and Turn Signal Lamp-Right Connector
(5)Tail Lamp-Right Outboard Connector
(6)Rear Fascia Harness
(7)Rear Fascia
(8)Tail/Stop and Turn Signal Lamp-Left Outboard Connector
(9)Tail Lamp-Left Outboard Connector
(10)Tail Lamp-Left Inboard Connector
Figure 15:

Left Front Engine Compartment


Object Number: 568543  Size: MF
(1)Fuse Block Underhood - Bottom
(2)Headlamp Door Control Module
(3)Forward Lamp Harness