GM Service Manual Online
For 1990-2009 cars only

Oil Filter, Adapter, and Pan Cover Installation F Car


    Object Number: 178471  Size: SH

    Notice: Use the correct fastener in the correct location. Replacement fasteners must be the correct part number for that application. Fasteners requiring replacement or fasteners requiring the use of thread locking compound or sealant are identified in the service procedure. Do not use paints, lubricants, or corrosion inhibitors on fasteners or fastener joint surfaces unless specified. These coatings affect fastener torque and joint clamping force and may damage the fastener. Use the correct tightening sequence and specifications when installing fasteners in order to avoid damage to parts and systems.

  1. Install a NEW oil pan cover gasket, the cover and the bolts.
  2. Tighten
    Tighten the oil pan cover bolts to 12 N·m (106 lb in).


    Object Number: 490699  Size: SH
  3. Install a new oil filter bypass valve (2) into the oil pan, if required.
  4. Install the oil filter fitting (1).
  5. Tighten
    Tighten the oil filter fitting to 55 N·m (40 lb ft).


    Object Number: 178469  Size: SH
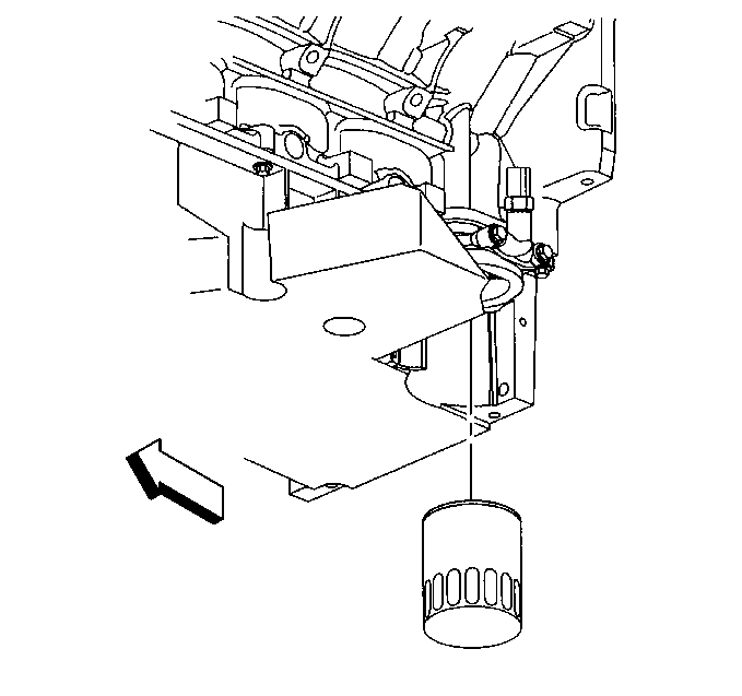
  6. Install the oil filter.
  7. Tighten
    Tighten the oil filter to 30 N·m (22 lb ft).


    Object Number: 639817  Size: SH
  8. Install the oil pan drain plug.
  9. Tighten
    Tighten the oil pan drain plug to 25 N·m (18 lb ft).

Oil Filter, Adapter, and Pan Cover Installation Y Car


    Object Number: 64842  Size: SH

    Notice: Use the correct fastener in the correct location. Replacement fasteners must be the correct part number for that application. Fasteners requiring replacement or fasteners requiring the use of thread locking compound or sealant are identified in the service procedure. Do not use paints, lubricants, or corrosion inhibitors on fasteners or fastener joint surfaces unless specified. These coatings affect fastener torque and joint clamping force and may damage the fastener. Use the correct tightening sequence and specifications when installing fasteners in order to avoid damage to parts and systems.

  1. Install a NEW oil pan cover gasket, the transfer cover and the bolts.
  2. Tighten
    Tighten the oil pan cover bolts to 12 N·m (106 lb in).

  3. Install the oil temperature sensor.
  4. Tighten
    Tighten the oil temperature sensor to 20 N·m (15 lb ft).


    Object Number: 490699  Size: SH
  5. Install a new oil filter bypass valve (2) into the oil pan, if required.
  6. Install the oil filter fitting (1).
  7. Tighten
    Tighten the oil filter to 55 N·m (40 lb ft).


    Object Number: 63221  Size: SH
  8. Install the oil filter.
  9. Tighten
    Tighten the oil filter to 30 N·m (22 lb ft).


    Object Number: 74223  Size: SH
  10. Install the oil pan drain plug.
  11. Tighten
    Tighten the oil pan drain plug to 25 N·m (18 lb ft).