GM Service Manual Online
For 1990-2009 cars only
Makes
🢒
Pontiac
🢒
2002
🢒
Firebird
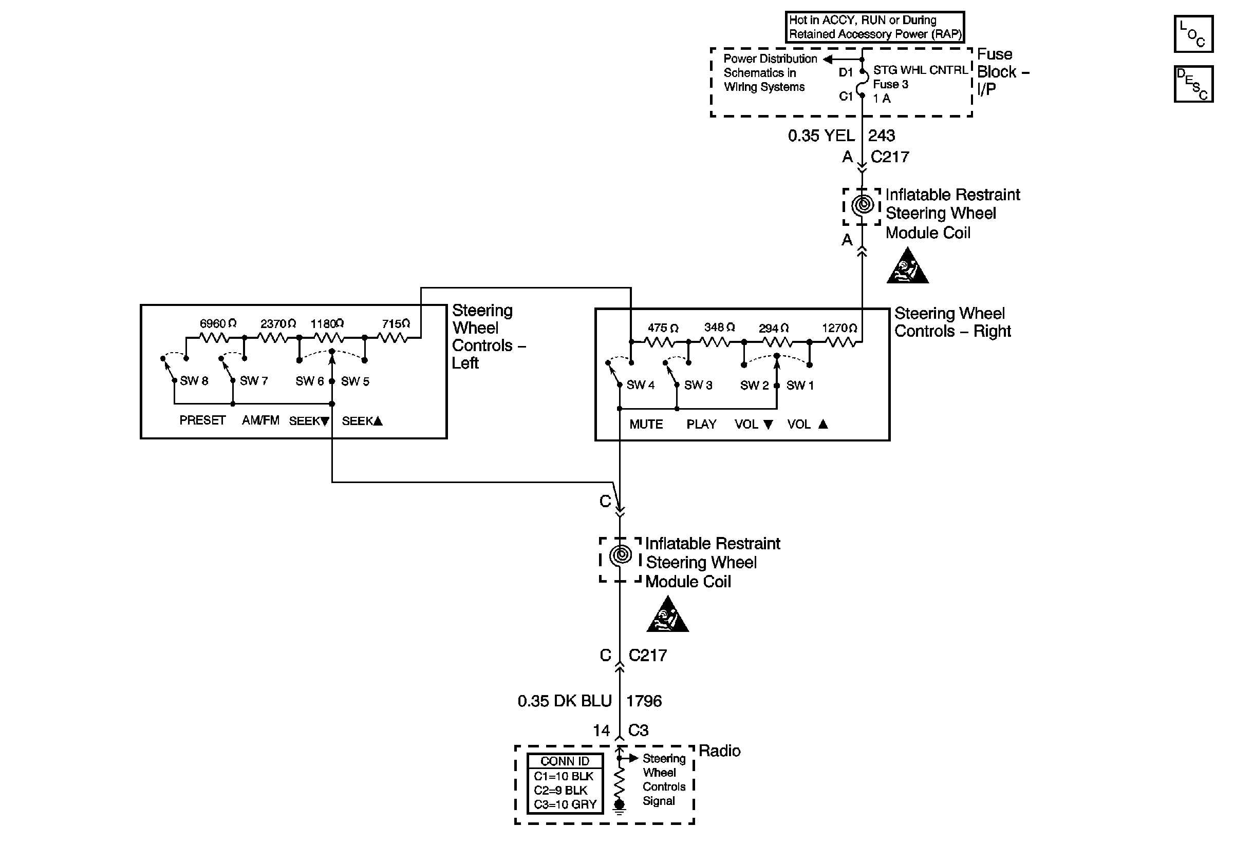
🢒 Steering Wheel Controls Schematics
Steering Wheel Controls Schematics
Master Electrical Component List
Radio/Audio System Description and Operation Chevrolet
IP DIMMER and STG WHL CNTRL Fuses
SIR Handling Caution
SIR Handling Caution