GM Service Manual Online
For 1990-2009 cars only

Negative Battery Cable Removal Procedure


    Object Number: 185573  Size: SH

    Important: When you replace the battery cables, use a replacement cable that is the same type, the same size, and the same length. Some positive cables have additional feed wires.Some negative cables have additional ground leads. Route the replacement battery cable in exactly the same manner of the original cable.

  1. Disconnect the negative battery cable.
  2. Remove the ground bolt (3) and the negative battery cable from the body.
  3. Remove the ground bolt and the cable from the transaxle.
  4. Remove the cable from the harness hold down on the battery carrier, and remove the cable from the vehicle.

Negative Battery Cable Installation Procedure


    Object Number: 185573  Size: SH
  1. Position the negative battery cable into the vehicle.
  2. Notice: Use the correct fastener in the correct location. Replacement fasteners must be the correct part number for that application. Fasteners requiring replacement or fasteners requiring the use of thread locking compound or sealant are identified in the service procedure. Do not use paints, lubricants, or corrosion inhibitors on fasteners or fastener joint surfaces unless specified. These coatings affect fastener torque and joint clamping force and may damage the fastener. Use the correct tightening sequence and specifications when installing fasteners in order to avoid damage to parts and systems.

  3. Connect the cable to the transaxle. Install the ground bolt.
  4. Tighten

        • Tighten the manual transaxle ground bolt to 23 N·m (17 lb ft)
        • Tighten the automatic transaxle ground bolt to 50 N·m (37 lb ft)
  5. Connect the cable to the body. Install the ground bolt (3).
  6. Tighten
    Tighten the body ground bolt to 8 N·m (71 lb in)

  7. Route the cable, and secure the cable in the harness hold down on the battery carrier.
  8. Connect the negative battery cable.
  9. Tighten
    Tighten the negative battery cable to 15 N·m (11 lb ft)

Positive Battery Cable Removal

    Caution: Unless directed otherwise, the ignition and start switch must be in the OFF or LOCK position, and all electrical loads must be OFF before servicing any electrical component. Disconnect the negative battery cable to prevent an electrical spark should a tool or equipment come in contact with an exposed electrical terminal. Failure to follow these precautions may result in personal injury and/or damage to the vehicle or its components.


    Object Number: 185573  Size: SH
  1. Disconnect the negative battery cable.
  2. Remove the positive battery cable from the battery.
  3. Remove the positive battery cable (5) from the bottom of the fuse and relay box (1).
  4. Remove the positive battery cable from the generator.

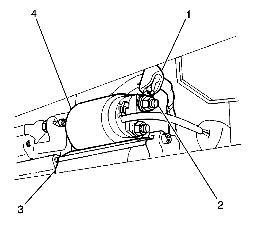
  5. Object Number: 185577  Size: SH
  6. Remove the nut and the cable (2) from the starter solenoid.
  7. Remove the cable from the harness hold down, and remove the cable.

Positive Battery Cable Installation

  1. Position the positive battery cable (1) into the vehicle.

  2. Object Number: 185577  Size: SH

    Notice: Use the correct fastener in the correct location. Replacement fasteners must be the correct part number for that application. Fasteners requiring replacement or fasteners requiring the use of thread locking compound or sealant are identified in the service procedure. Do not use paints, lubricants, or corrosion inhibitors on fasteners or fastener joint surfaces unless specified. These coatings affect fastener torque and joint clamping force and may damage the fastener. Use the correct tightening sequence and specifications when installing fasteners in order to avoid damage to parts and systems.

  3. Connect the cable to the starter solenoid (2). Secure the cable with a nut.
  4. Tighten
    Tighten the nut that retains the positive battery cable to the starter solenoid to 7 N·m (62 lb in).

  5. Connect the positive battery cable to the generator.

  6. Object Number: 185573  Size: SH
  7. Connect the cable (5) to the fuse and relay box.
  8. Route the cable, and secure the cable with the harness hold downs.
  9. Connect the negative battery cable.