GM Service Manual Online
For 1990-2009 cars only

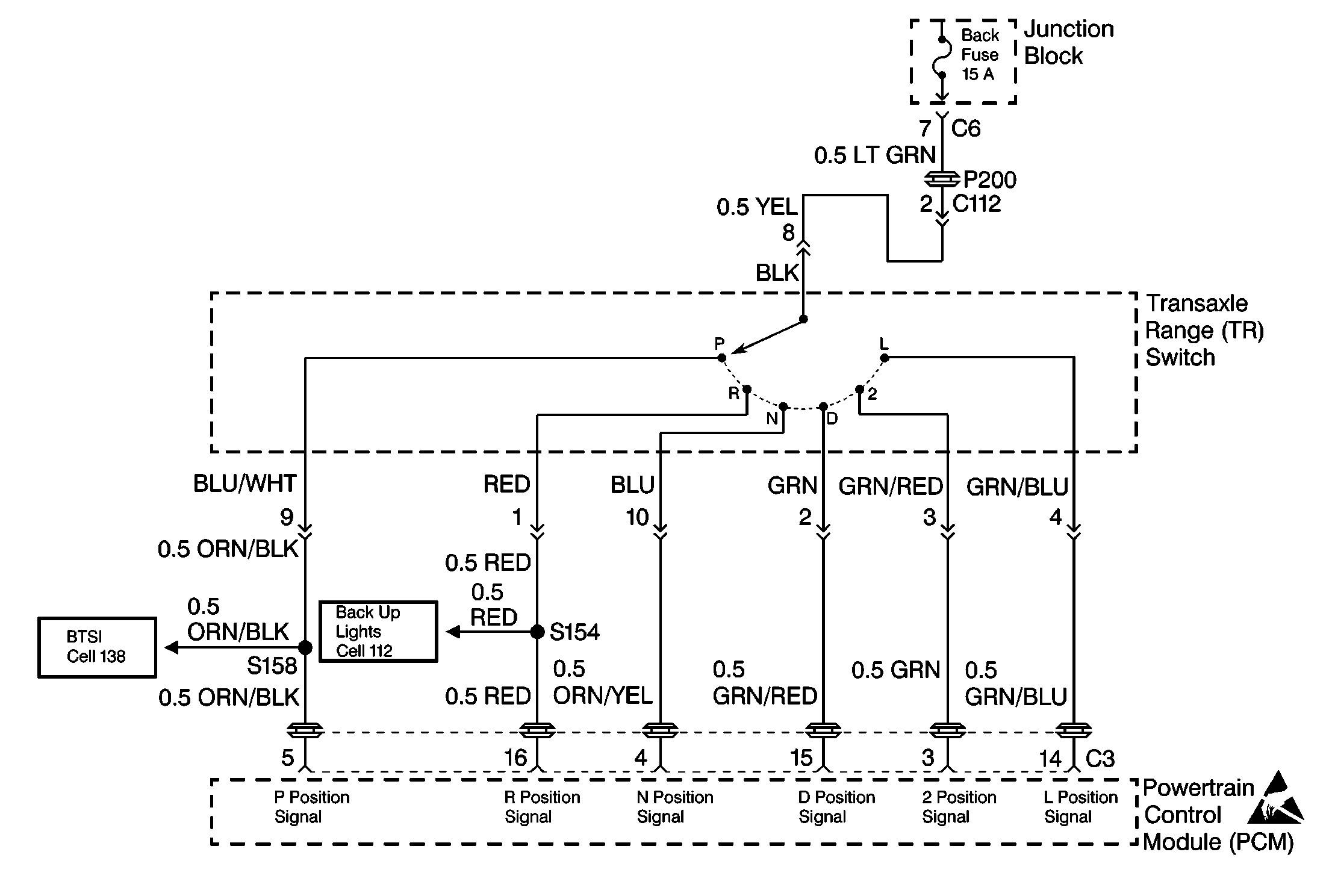
Object Number: 215384  Size: MF

Circuit Description

The transaxle range switch sends gear position signals to the Powertrain Control Module (PCM) according to the manual selector range. The PCM uses this information in order to manage the transaxle operation.

Conditions for Setting the DTC

DTC P0705 will set if the following conditions are met:

    • The PCM does not receive any transaxle-range switch signal with the ignition switch ON.
    • The PCM receives multiple signals simultaneously in Drive and in 3rd gear for 5 seconds.
    • One driving cycle detection has logic.

Action Taken When the DTC Sets

A DTC P0705 are stored, and the Malfunction Indicator Lamp (MIL) is turned ON.

Diagnostic Aids

Inspect the transaxle range switch for the following conditions:

    • Correct adjustment
    • Correct operation

The electrical circuits are located between the transaxle range and the PCM. Inspect the electrical circuits for the following conditions:

    • An open
    • A short to voltage
    • A short to ground

Inspect the PCM for correction operation.

An intermittent may be caused by the following conditions:

    • A poor connection
    • Worn wire insulation
    • A broken wire inside the insulation

Inspect the PCM harness connectors for the following conditions:

    • Backed out terminals
    • Improper mating
    • Broken locks
    • Improperly formed terminals or damaged terminals
    • Poor terminal-to-wire connections

Perform the following steps if DTC P0705 cannot be duplicated:

  1. Read the information in the freeze frame data.
  2. Use the data in order to determine the vehicle operating conditions if the DTC was set.

Inspect the wiring. If any wiring repairs are necessary, refer to Wiring Repairs in Wiring Systems.

DTC Confirmation Procedure

  1. Turn the ignition switch to LOCK.
  2. Connect the scan tool to the Data Link Connector (DLC).
  3. Turn the ignition switch to ON.
  4. Use the scan tool in order to clear the following items from the PCM memory:
  5. • The DTC
    • The pending DTC
    • The freeze frame data
  6. Start the engine.
  7. Step firmly on the brake pedal.
  8. Shift the manual selector to each of the ranges for 30 seconds each.
  9. Operate the vehicle in Drive. Obtain a speed of 70 km/h (44 mph) for 30 seconds.
  10. Stop the vehicle.
  11. Use the scan tool in order to inspect for DTC P0705.

Test Description

The number(s) below refer to the step number(s) on the diagnostic table.

  1. The Powertrain OBD System Check prompts the technician to complete some basic checks and to store the freeze frame data on the scan tool if applicable. This creates an electronic copy of the data that is taken when the fault occurred. The information is stored in the scan tool for later reference.

  2. This step inspects the signal circuit of the D position .

  3. This step inspects the signal circuit of the L position .

  4. This step inspects the signal circuit of the N position .

  5. This step inspects the signal circuit of the 2 position.

  6. This step inspects the signal circuit of the R position.

  7. This step inspects for poor terminal contact at the PCM.

  8. This step inspects for a faulty PCM.

  9. This step inspects for a short to voltage in the D position.

  10. This step inspects for a short to ground in the D position.

  11. This step inspects for an open in the D position.

  12. This step inspects for an open in the YEL-wire.

  13. This step inspects for a short to voltage in the L position.

  14. This step inspects for a short to ground in the L position.

  15. This step inspects for an open in the L position.

  16. This step inspects for a short to voltage in the N position.

  17. This step inspects for a short to ground in the N position.

  18. This step inspects for an open in the N position.

  19. This step inspects for a short to voltage in the 2 position.

  20. This step inspects for a short to ground in the 2 position.

  21. This step inspects for an open in the 2 position.

  22. This step inspects for a short to voltage in the R position.

  23. This step inspects for a short to ground in the R position.

  24. This step inspects for an open in the R position.

DTC P0705 -- Transaxle Range Switch Circuit

Step

Action

Value(s)

Yes

No

\x941\x95

Was the Powertrain On-Board Diagnostic (OBD) System Check performed?

--

Go to Step 2

Go to Powertrain OBD System Check in Engine Controls

2

  1. Install a scan tool.
  2. Turn the ignition to ON, leaving the engine OFF.
  3. Perform the scan tool function that is called Clear DTC Information.
  4. Operate the vehicle within the Freeze Frame conditions as observed.

Does the scan tool display any other DTCs in addition to DTC P0705?

--

Go to the applicable DTC table

Go to Step 3

\x943\x95

  1. Turn the ignition switch to the lock position.
  2. Disconnect the PCM connector C3.
  3. Turn the ignition switch to ON.
  4. Perform the following actions simultaneously:
  5. • Use the J 39200 in order to measure the voltage between the ground and the PCM harness connector C3 terminal 15.
    • Shift the manual selector from Park (P) to Low (L) range.

Is the voltage within the specified range?

10-14 V in Drive (D) range

0-2 V in all other ranges

Go to Step 4

Go to Step 10

\x944\x95

  1. Place the manual selector in the Low (L) range.
  2. Use the J 39200 in order to measure the voltage between the ground and the PCM harness connector C3 terminal 14.

Is the voltage within the specified range?

10-14 V

Go to Step 5

Go to Step 14

5

Perform the following actions simultaneously:

    • Use the J 39200 in order to measure the voltage between the ground and the PCM harness connector C3 terminal 4.
    • Shift the manual selector from the Low (L) to the Neutral (N) range.

Is the voltage within the specified range?

10-14 V

Go to Step 6

Go to Step 17

6

Perform the following actions simultaneously:

    • Use the J 39200 in order to measure the voltage between the ground and the PCM harness connector C3 terminal 3.
    • Shift the manual selector from the Neutral (N) position to the Second (2) position.

Is the voltage within the specified range?

10-14 V

Go to Step 7

Go to Step 20

7

Perform the following actions simultaneously:

    • Use the J 39200 in order to measure the voltage between the ground and the PCM harness connector C3 terminal 16.
    • Shift the manual selector from the Second (2) position to the Reverse (R) position.

Is the voltage within the specified range?

10-14 V

Go to Step 8

Go to Step 23

8

Inspect the PCM harness connector C3 for terminal contact that is poor.

Is poor contact present?

-

Go to Step 27

Go to Step 9

\x949\x95

  1. Shift the manual selector to the Park (P) range.
  2. Test the PNP for correct adjustment. Refer to Transaxle Range Switch .
  3. Turn the ignition switch to the LOCK position.
  4. Install a known good PCM.
  5. Reconnect the PCM harness connector C3.
  6. Perform the DTC Confirmation Procedure.

Does this DTC reset?

-

Go to Step 26

Go to Step 28

\x9410\x95

  1. Turn the ignition switch to the LOCK position.
  2. Disconnect the PNP switch electrical connector.
  3. Turn the ignition switch to ON.
  4. Use the J 39200 in order to measure the voltage between the ground and the PCM harness connector C3 terminal 15.

Is the voltage within the specified range?

0-2 V

Go to Step 11

Go to Step 30

11

Use the J 39200 in order to measure the resistance between the ground and the PCM harness connector C3 terminal 15.

Is the resistance equal to the specified value?

Go to Step 12

Go to Step 31

12

Use the J 39200 in order to measure the resistance between the PCM harness connector C3 terminal 15 and the PNP switch connector terminal 2 on the harness side.

Is the resistance less than the specified value?

2 ohms

Go to Step 13

Go to Step 32

\x9413\x95

Use the J 39200 in order to measure the voltage between the ground and the PNP switch connector terminal 8 on the harness side.

Is the resistance within the specified range?

10-14 V

Go to Step 29

Go to Step 33

14

  1. Turn the ignition switch to the LOCK position.
  2. Disconnect the PNP switch electrical connector.
  3. Turn the ignition switch to ON.
  4. Use the J 39200 in order to measure the voltage between the ground and the PCM harness connector C3 terminal 14.

Is the voltage within the specified range?

0-2 V

Go to Step 15

Go to Step 34

15

Use the J 39200 in order to measure the resistance between the ground and the PCM harness connector C3 terminal 14.

Is the resistance equal to the specified value?

Go to Step 16

Go to Step 35

16

Use the J 39200 in order to measure the resistance between the PCM harness connector C3 terminal 14 and the PNP switch connector terminal 4 on the harness side.

Is the resistance less than the specified value?

2 ohms

Go to Step 13

Go to Step 36

\x9417\x95

  1. Turn the ignition switch to the LOCK position.
  2. Disconnect the PNP switch electrical connector.
  3. Turn the ignition switch to ON.
  4. Use the J 39200 in order to measure the voltage between the ground and the PCM harness connector C3 terminal 4.

Is the voltage within the specified range?

0-2 V

Go to Step 18

Go to Step 37

18

Use the J 39200 in order to measure the resistance between the ground and the PCM harness connector C3 terminal 4.

Is the resistance equal to the specified value?

Go to Step 19

Go to Step 38

19

Use the J 39200 in order to measure the resistance between the PCM harness connector C3 terminal 4 and the PNP switch connector terminal 10 on the harness side.

Is the resistance less than the specified value?

2 ohms

Go to Step 13

Go to Step 39

\x9420\x95

  1. Turn the ignition switch to the LOCK position.
  2. Disconnect the PNP switch electrical connector.
  3. Turn the ignition switch to ON.
  4. Use the J 39200 in order to measure the voltage between the ground and the PCM harness connector C3 terminal 3.

Is the voltage within the specified range?

0-2 V

Go to Step 21

Go to Step 40

21

Use the J 39200 in order to measure the resistance between the ground and the PCM harness connector C3 terminal 3.

Is the resistance equal to the specified value?

Go to Step 22

Go to Step 41

22

Use the J 39200 in order to measure the resistance between the PCM harness connector C3 terminal 3 and the PNP switch connector terminal 3 on the harness side.

Is the resistance less than the specified value?

2 ohms

Go to Step 13

Go to Step 42

\x9423\x95

  1. Turn the ignition switch to the LOCK position.
  2. Disconnect the PNP switch electrical connector.
  3. Turn the ignition switch to ON.
  4. Use the J 39200 in order to measure the voltage between the ground and the PCM harness connector C3 terminal 16.

Is the voltage within the specified range?

0-2 V

Go to Step 24

Go to Step 43

24

Use the J 39200 in order to measure the resistance between the ground and the PCM harness connector C3 terminal 16.

Is the resistance equal to the specified value?

Go to Step 25

Go to Step 44

25

Use the J 39200 in order to measure the resistance between the PCM harness connector C3 terminal 16 and the PNP switch connector terminal 1 on the harness side.

Is the resistance less than the specified value?

2 ohms

Go to Step 13

Go to Step 45

26

Refer to Diagnostic Aids in order to detect possible intermittent conditions. If OK, replace the Powertrain Control Module (PCM). Refer to Powertrain Control Module Replacement in Engine Controls.

Is the repair complete?

-

Go to Step 46

-

27

Repair the terminal that exhibits poor contact.

Is the repair complete?

-

Go to Step 46

-

28

Refer to Diagnostic Aids for additional information about DTC P0705.

Is the action complete?

-

Go to Step 46

-

29

Inspect the PNP switch for proper alignment.

Is the inspection complete?

-

Go to Step 46

-

30

Repair the short-to-voltage in the GRN/RED wire between the PNP switch and the PCM.

Is the repair complete?

-

Go to Step 46

-

31

Repair the short to ground in the GRN/RED wire between the PNP switch and the PCM.

Is the repair complete?

-

Go to Step 46

-

32

Repair one of the following conditions in the GRN/RED wire between the PNP switch and the PCM:

    • An open
    • High resistance

Is the repair complete?

-

Go to Step 46

-

33

Repair one of the following conditions. Refer to Electrical Diagnosis.

    • An open in the LT GRN wire between the PNP switch and the BACK fuse
    • An open in the YEL wire between the PNP switch and the BACK fuse
    • High resistance in the LT GRN wire between the PNP switch and the BACK fuse
    • High resistance in the YEL wire between the PNP switch and the BACK fuse

Is the repair complete?

-

Go to Step 46

-

34

Repair the short to voltage in the GRN/BLU wire between the PNP switch and the PCM.

Is the repair complete?

-

Go to Step 46

-

35

Repair one of the following conditions:

    • The short to ground in the GRN/WHT wire between the PNP switch and the PCM
    • The short to ground in the GRN/BLU wire between the PNP switch and the PCM

Is the repair complete?

-

Go to Step 46

-

36

Repair one of the following conditions:

    • An open in the GRN/WHT wire between the PNP switch and the PCM
    • An open in the GRN/BLU wire between the PNP switch and the PCM
    • High resistance in the GRN/WHT wire between the PNP switch and the PCM
    • High Resistance in the GRN/BLU wire between the PNP switch and the PCM

Is the repair complete?

-

Go to Step 46

-

37

Repair the short to voltage in the BLU wire or in the ORN/YEL wire between the PNP switch and the PCM.

Is the repair complete?

-

Go to Step 46

-

38

Repair the short to ground in the BLU wire or in the ORN/YEL wire between the PNP switch and the PCM.

Is the repair complete?

-

Go to Step 46

-

39

Repair one of the following conditions:

    • An open in the BLU wire between the PNP switch and the PCM
    • An open in the ORN/YEL wire between the PNP switch and the PCM
    • High resistance or in the BLU wire between the PNP switch and the PCM
    • High resistance in the ORN/YEL wire between the PNP switch and the PCM.

Is the repair complete?

-

Go to Step 46

-

40

Repair one of the following conditions:

    • The short to voltage in the GRN/RED wire between the PNP switch and the PCM
    • The short to voltage in the GRN wire between the PNP switch and the PCM.

Is the repair complete?

-

Go to Step 46

-

41

Repair one of the following conditions:

    • The short to ground in the GRN/RED wire between the PNP switch and the PCM
    • The short to ground in the GRN wire between the PNP switch and the PCM

Is the repair complete?

-

Go to Step 46

-

42

Repair one of the following conditions:

    • An open in the GRN/RED wire between the PNP switch and the PCM
    • An open in the GRN wire between the PNP switch and the PCM
    • High resistance in the GRN/RED wire between the PNP switch and the PCM
    • High resistance in the GRN wire between the PNP switch and the PCM

Is the repair complete?

-

Go to Step 46

-

43

Repair the short to voltage in the RED wire between the PNP switch and the PCM.

Is the repair complete?

-

Go to Step 46

-

44

Repair the short to ground in the RED wire between the PNP switch and the PCM.

Is the repair complete?

-

Go to Step 46

-

45

Repair one of the following conditions:

    • An open in the RED wire between the PNP switch and the PCM
    • High resistance in the RED wire between the PNP switch and the PCM

Is the action complete?

-

Go to Step 46

-

46

  1. Turn the ignition switch to the LOCK position.
  2. Reconnect the connector(s).
  3. Perform the DTC Confirmation Procedure.

Are any DTCs displayed on the scan tool?

-

Go to the applicable DTC table

System OK