GM Service Manual Online
For 1990-2009 cars only

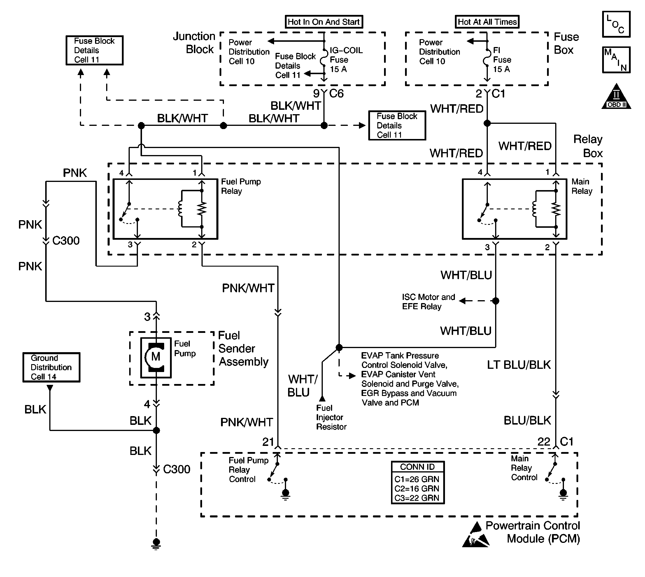
Object Number: 280452  Size: LF
Engine Controls Components
Cell 20: Fuel Controls
OBD II Symbol Description Notice
Handling ESD Sensitive Parts Notice

Circuit Description

The Powertrain Control Module (PCM) will energize the fuel pump relay for 2 seconds when the ignition switch is turned to the ON position. When the fuel pump relay energizes, the fuel pump will operate and pressurize the fuel system. The fuel pump will continue to operate as long as the PCM is receiving ignition system reference pulses. The fuel pump will stop after 2 seconds if ignition system reference pulses are not detected.

Diagnostic Aids

Check for any of the following conditions:

    • Check the resistance of the fuel pump relay. The resistance between terminal 1 and terminal 2 is 79-95 ohms at 20°C (68°F). The resistance between terminal 3 and terminal 4 is infinite.
    • The fuel pump relay's electrical contacts may be pitted or sticking. Replace the fuel pump relay if tapping gently on the relay or wiggling the relay causes a change in the relay's operation.
    • The performance of the fuel pump relay may be affected by temperature. After the vehicle sits outside over-night, run the engine for 30 minutes before you check the fuel pump relay.

A normal fuel pump resistance is 0.8-1.5 ohms at 20°C (68°F).

An intermittent malfunction may be caused by a problem in the fuel pump electrical circuit. Refer to Intermittent Conditions .

Use the following relay cavity table in order to locate the correct cavities to probe during diagnosis. The table layout corresponds to the cavity layout of the relay block.

Relay Cavity Identification

Switch Power

Switch Load

Coil Power

Coil Ground

Test Description

The numbers below refer to the step numbers in the diagnostic table.

  1. The Powertrain OBD System Check prompts the technician to complete some basic checks, and to save the applicable freeze frame data on the scan tool. This creates an electronic copy of the data that was taken when the fault occurred. The electronic copy can then be referred to for later reference.

  2. This step checks if the fuel pump relay can operate the fuel pump. The PCM turns ON the fuel pump relay for 2 seconds when the ignition switch is cycled. Use an assistant in order to operate the ignition switch while you listen for fuel pump operation.

  3. This step checks the control circuit of the fuel pump relay.

  4. This step determines if the coil side of the fuel pump circuit is operating correctly.

  5. This step checks for an electrical fault in the fuel tank or in the fuel pump wire harness.

  6. This step determines whether the switched side of the fuel pump relay is always closed.

Step

Action

Value(s)

Yes

No

1

Did you perform the Powertrain On-Board Diagnostic (OBD) System Check?

--

Go to Step 2

Go to Powertrain On Board Diagnostic (OBD) System Check

2

  1. Remove the fuel filler cap.
  2. Prepare to listen for fuel pump operation at the fuel filler pipe.
  3. Turn ON the ignition, with the engine OFF.
  4. Listen for fuel pump operation. Repeat the ignition cycle if necessary.

Does the fuel pump operate for approximately 2 seconds and then turn OFF?

--

Go to Step 3

Go to Step 4

3

The fuel pump electrical circuit is OK.

Do you want to inspect the fuel system for the correct operating pressure?

--

Go to Fuel System Diagnosis

Go to Intermittent Conditions

4

Is the fuel pump operating continuously when the ignition is ON and the engine is OFF?

--

Go to Step 17

Go to Step 5

5

Important: In order to operate the fuel pump with a scan tool, the fuel level must be at least 20 percent with no DTCs set.

  1. Turn OFF the ignition.
  2. Remove the fuel pump relay. Refer to Fuel Pump Relay Replacement .
  3. Probe the control circuit, cavity  2 of the fuel pump relay socket, with a test lamp connected to B+. Review the Relay Cavity Identification table in Diagnostic Aids.
  4. Crank the engine or turn ON the fuel pump with a scan tool.

Does the test lamp illuminate?

--

Go to Step 6

Go to Step 16

6

  1. Probe cavity 4 of the fuel pump relay socket with a test lamp connected to ground.
  2. Turn ON the ignition, leaving the engine OFF.

Does the test lamp illuminate?

--

Go to Step 7

Go to Step 11

7

  1. Turn OFF the ignition.
  2. Connect a fused jumper wire from cavity 3 of the fuel pump relay socket to cavity 4 of the fuel pump relay socket.
  3. Turn ON the ignition, leaving the engine OFF.
  4. Listen for fuel pump operation. Repeat the ignition cycle if necessary.

Is the fuel pump ON?

--

Go to Step 14

Go to Step 8

8

  1. Leave the fused jumper wire connected.
  2. Locate the fuel pump electrical connector C300.
  3. Backprobe the electrical connector, for the ignition positive voltage circuit of the fuel pump, with a test lamp that is connected to ground.

Does the test lamp illuminate?

--

Go to Step 9

Go to Step 12

9

  1. Turn OFF the ignition.
  2. Disconnect the fused jumper wire.
  3. Disconnect the fuel pump electrical connector C300.
  4. Probe the fuel pump ground circuit on the harness side of the electrical connector, with a test lamp connected to B+.

Does the test lamp illuminate?

--

Go to Step 10

Go to Step 13

10

  1. Remove the fuel tank. Refer to Fuel Tank Replacement .
  2. Check for any of the following:
  3. • Check the fuel pump wiring harness for an open circuit from connector C300 to the fuel sender assembly.
    • Check for a fault in the electrical connector pass thru from the fuel sender assembly.
    • Remove the fuel sender assembly, and check the fuel pump wire harness and the electrical connections. Refer to Fuel Sender Assembly Replacement .
  4. Repair any faulty conditions as necessary. Refer to Wiring Repairs in Wiring Systems.

Was a faulty condition found and repaired?

--

Go to Step 24

Go to Step 22

11

  1. Check for an open in the switched battery supply voltage between the main relay and the fuel pump relay.
  2. Repair the wiring as necessary. Refer to Wiring Repairs in Wiring Systems.

Was a wiring repair necessary?

--

Go to Step 24

Go to Main Relay Circuit Diagnosis

12

Repair the open or high resistance in the switched battery voltage supply circuit, between the fuel pump electrical connector C300 and the fuel pump relay. Refer to Wiring Repairs in Wiring Systems.

Is the wiring repair complete?

--

Go to Step 24

--

13

Repair the ground connection or the open in the fuel pump ground circuit. Refer to Wiring Repairs in Wiring Systems.

Is the wiring repair complete?

--

Go to Step 24

--

14

  1. Turn OFF the ignition.
  2. Disconnect the fused jumper wire.
  3. Turn ON the ignition, leaving the engine OFF.
  4. Probe cavity 1 of the fuel pump relay socket, with a test lamp that is connected to ground.

Is the test lamp illuminated?

--

Go to Step 21

Go to Step 15

15

Repair the open or the short in the IG fuse circuit. Refer to Wiring Repairs in Wiring Systems.

Is the wiring repair complete?

--

Go to Step 24

--

16

  1. Inspect for an open in the control circuit of the fuel pump relay between the relay and the PCM.
  2. Repair the wiring as necessary. Refer to Wiring Repairs in Wiring Systems.

Was a wiring repair necessary?

--

Go to Step 24

Go to Step 23

17

Remove the fuel pump relay. Refer to Fuel Pump Relay Replacement .

Is the fuel pump still operating?

--

Go to Step 18

Go to Step 19

18

Repair the short to voltage in the fuel pump supply circuit.

Did you complete the repair?

--

Go to Step 24

--

19

  1. Turn OFF the ignition.
  2. Probe the control circuit, cavity 2 of the fuel pump relay socket, with a test lamp connected to B+. Review the Relay Cavity Identification table in Diagnostic Aids.
  3. Turn ON the ignition and observe the test lamp for 10 seconds.

Did the test lamp stay illuminated for more than 3 seconds?

--

Go to Step 20

Go to Step 21

20

  1. Inspect for a short to ground in the control circuit of the fuel pump relay between the relay and the PCM.
  2. Repair the wiring as necessary. Refer to Wiring Repairs in Wiring Systems.

Was a wiring short found and repaired?

--

Go to Step 24

Go to Step 23

21

Replace the fuel pump relay. Refer to Fuel Pump Relay Replacement .

Did you complete the repair?

--

Go to Step 24

--

22

Replace the fuel pump. Refer to Fuel Sender Assembly Service .

Did you complete the repair?

--

Go to Step 24

--

23

Replace the PCM. Refer to Powertrain Control Module Replacement .

Did you complete the repair?

--

Go to Step 24

--

24

Operate the vehicle within the conditions under which the original symptom was noted.

Does the system operate correctly now?

--

System OK

Go to Diagnostic Aids