GM Service Manual Online
For 1990-2009 cars only
Makes
🢒
Pontiac
🢒
2000
🢒
Firefly (Canada)
🢒
Engine
🢒
Engine Controls - 1.0L
🢒 Diode Module Replacement
Removal Procedure
The diode module is located under the glove box and next to the cigarette lighter.
Cut the electrical tape that secures the diode module (1) to the main wire harness.
Open the cover at the end of the diode module electrical connector.
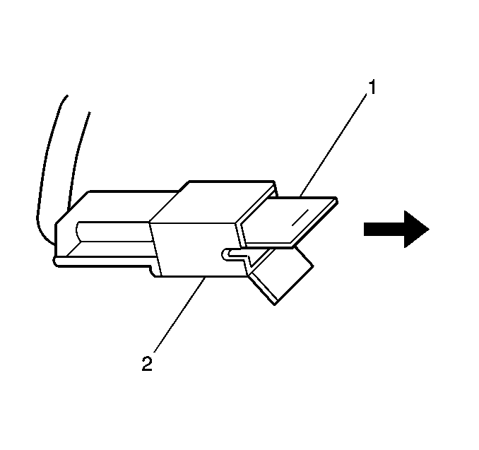
Remove the diode module circuit board (1) from the diode module electrical connector (2).
Installation Procedure
Insert the diode module circuit board (1) into the diode module electrical connector (2).
Close the cover of the diode module electrical connector.
Secure the diode module (1) to the main wire harness with electrical tape.