GM Service Manual Online
For 1990-2009 cars only

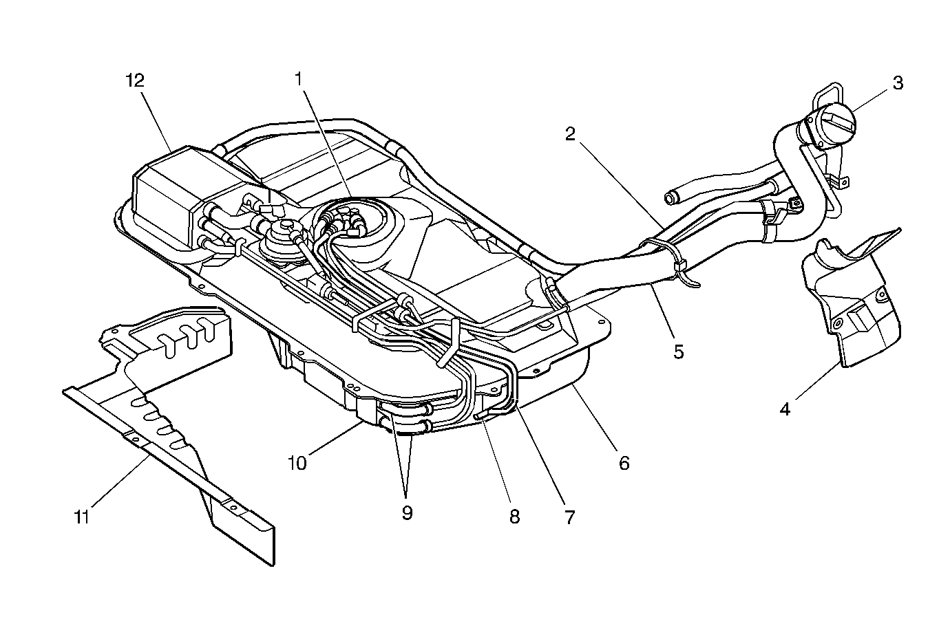
Fuel Tank


Object Number: 230543  Size: MF
(1)Fuel Sender Assembly
(2)Fuel Breather Hose
(3)Fuel Filler Cap
(4)Filler Neck Protector
(5)Fuel Filler Hose
(6)Fuel Tank
(7)Fuel Return Line
(8)Fuel Feed Line
(9)Fuel Vapor Lines
(10)Fuel Vapor Separator
(11)Fuel Tank Protector
(12)EVAP Canister

The fuel tank stores fuel for the vehicle. The capacity of the fuel tank is 39 liters (10.3 gallons). The fuel tank is molded from steel and is located at the front of the rear wheels and below the rear seat. The fuel tank is held in place with 5 bolts. The fuel tank's shape allows for a constant supply of fuel around the fuel strainer during low fuel conditions and during aggressive vehicle maneuvers. Check the fuel tank, the fuel lines, and the fuel hoses for road damage that could cause a fuel leak. Inspect the fuel filler cap for a correct seal and for indications of physical damage.

The fuel system is equipped with an enhanced evaporative emission system and with an on-board fuel vapor recovery (ORVR) system. The 2 systems minimize the release of fuel vapors to the atmosphere.

Fuel Tank Filler Neck

In order to prevent refueling with leaded fuel, the fuel filler neck has a built-in restrictor and deflector. Only the smaller unleaded fuel nozzle will fit through the opening of the restrictor. The nozzle must be completely inserted in order to bypass the deflector. Any attempt at refueling with leaded fuel will result in fuel splashing out of the filler neck.

Fuel Filler Cap


Object Number: 55714  Size: SH
(1)Vacuum Relief Valve
(2)Pressure Relief Valve
(3)Gasket

Important: Replace the fuel filler cap with a cap that meets OEM specifications. Failure to use the correct fuel filler cap can result in the incorrect operation of the fuel delivery system.

The fuel filler cap is a pressure-vacuum type. A built-in torque-limiting device prevents over-tightening and, eliminates the escape of fuel vapors. In order to install the fuel cap, turn the cap clockwise until a clicking noise is heard. This indicates that the cap is seated.

A vacuum relief valve is incorporated into the fuel filler cap. The relief valve opens in order to relieve any vacuum pressure that is created within the fuel tank. This only occurs when the vacuum within the tank becomes excessive.

A pressure relief valve is also located in the fuel filler cap. If the pressure of the fuel vapor within the tank exceeds system's specification, the pressure relief valve opens. When the pressure relief valve opens, excess pressure is vented to the atmosphere.


Object Number: 183486  Size: SH

The fuel level sensor (1) is located in the fuel tank (3) and is part of the fuel sender assembly (4). The fuel level sensor consists of a float, a float arm, and a variable resistor. The fuel level is measured by the position of the float in the fuel tank. The fuel level sensor indicates the position of the float to a gauge in the instrument panel (IP) cluster and to the powertrain control module. When the fuel level changes, the float position changes. The change in the float position increases or decreases the resistance reading of the variable resistor. The change in the resistance causes a change in the indicated fuel level. The PCM uses the signals from the fuel level sensor in order to determine when to perform certain diagnostic procedures on the EVAP system .

Fuel Sender Assembly


Object Number: 233561  Size: MH
(1)Fuel Cut Valve
(2)Fuel Sender Assembly
(3)Fuel Level Sensor (Fuel Gauge Sending Unit)
(4)Fuel Pump
(5)Fuel Pump Strainer
(6)Fuel Level Sensor Float
(7)Fuel Filter

Fuel Sender Assembly Disassembled View


Object Number: 325034  Size: MF
(1)Lead Wire Harness
(2)Spacer
(3)Fuel Pump
(4)Cushion
(5)Lower End Cap Assembly
(6)Fuel Level Sensor/Gauge Unit Assembly
(7)Housing
(8)Grommet
(9)Fuel Tube
(10)Grommet
(11)Fuel Sender Subassembly (Includes fuel filter)

The fuel sender assembly is located in the fuel tank. The fuel sender assembly contains the electric fuel pump, the fuel level sensor, and the fuel filter. The fuel sender assembly connects to the fuel lines with quick-connect fittings. The fuel cut off valve is located in the fuel sender assembly below the fuel vapor pipe. The fuel cut off valve consists of a float and a spring. The fuel cut off valve allows only fuel vapors to enter the fuel vapor pipe. This prevents fuel from leaving the fuel tank and from entering the EVAP canister.

Fuel Pump


Object Number: 55721  Size: SH
(1)Fuel Outlet Port
(2)Check Valve
(3)Magnet
(4)Impeller
(5)Pump Cover
(6)Fuel Inlet Port
(7)Bearing
(8)Housing
(9)Armature
(10)Choke Coil

The fuel pump is an electric pump that is controlled by the PCM through the fuel pump relay. When the PCM commands the fuel pump on, an electric motor in the pump assembly drives the impeller. The impeller draws the fuel in the tank into the fuel pump inlet port. The fuel is pumped under pressure through the fuel feed pipe and through the hoses into the fuel rail and into the fuel injectors. A pressure control valve that is located within the pump maintains the fuel pressure is when the fuel pump is not running. The fuel return pipe and the fuel return hoses return excess fuel to the fuel tank . The fuel pump is a part of the fuel sender assembly in the fuel tank. Disassemble the fuel sender assembly in order to inspect the fuel pump or in order to replace the fuel pump.

Fuel Pump Strainer

The fuel pump strainer is at the lower end of the fuel pump at the inlet port. The fuel pump strainer is made of woven plastic. The fuel pump strainer filters contaminants and wicks fuel. The fuel pump strainer is self-cleaning and, usually, does not require maintenance. A blockage at this point indicates that the fuel tank contains an abnormal amount of sediment or of water. Clean the fuel tank, and replace the fuel pump strainer.

Fuel Filter

The fuel filter is located in the fuel tank and is part of the fuel sender assembly. The filter element is made of paper and is designed to trap particles in the fuel that may damage the fuel injection system. Remove the fuel sender assembly in order to replace the fuel filter or inspect the fuel filter.

Quick-Connect Fittings

The quick-connect fuel fittings provide a simplified way of installing and of connecting the fuel system components. Depending on the vehicle model, there are 2 types of quick-connect fittings. Different types of fittings are used at different locations in the fuel system. Each type of quick-connect fitting consists of a unique female connector and of the compatible male fuel pipe end. The O-rings located inside of the female connector provide a leak proof seal. Integral locking tabs or fingers hold the quick-connect fittings together. Service of the quick-connect fittings requires a special tool.

Fuel Feed and Fuel Return Pipes and Hoses

Caution: In order to Reduce the Risk of Fire and Personal Injury:

   • If nylon fuel pipes are nicked, scratched or damaged during installation, Do Not attempt to repair the sections of the nylon fuel pipes. Replace them.
   • When installing new fuel pipes, Do Not hammer directly on the fuel harness body clips as it may damage the nylon pipes resulting in a possible fuel leak.
   • Always cover nylon vapor pipes with a wet towel before using a torch near them. Also, never expose the vehicle to temperatures higher than 115°C (239°F) for more than one hour, or more than 90°C (194°F) for any extended period.
   • Before connecting fuel pipe fittings, always apply a few drops of clean engine oil to the male pipe ends. This will ensure proper reconnection and prevent a possible fuel leak. (During normal operation, the O-rings located in the female connector will swell and may prevent proper reconnection if not lubricated.)

The fuel feed pipes, the return pipes, and the hoses carry fuel from the fuel tank to the throttle body and back to the fuel tank. These pipes and the hoses are on the underbody of the vehicle. The pipes and the hoses require a periodic inspection for kinks and for dents that could restrict the fuel flow.

Fuel Vapor Pipes and Hoses

The fuel vapor pipe and the hoses carry the fuel vapors from the fuel tank to the EVAP canister. The canister is located at the right front corner of the fuel tank. The fuel vapors are stored in the canister when the engine is not running. When the engine is running at the normal operating temperature and the accelerator pedal is depressed, the PCM commands the EVAP canister purge valve to open. When the EVAP canister purge valve opens, the stored fuel vapors are purged into the intake manifold and are burned in the combustion process. For a more detailed explanation of the of the handling of the fuel system vapors, review the EVAP Control System description and operation.

On-Board Refueling Vapor Recovery (ORVR) System


Object Number: 161608  Size: SH

The on-board refueling vapor recovery (ORVR) system is designed to recover the fuel vapors during a vehicle fueling operation. Instead of allowing fuel vapors to escape to the atmosphere, the ORVR system sends the vapor to the EVAP canister for use by the engine. The flow of liquid down the fuel filler neck provides a seal that prevents fuel vapor from leaving the fuel system. The ORVR system architecture varies across platforms. Some of the listed items are optional depending on the platform application. The following is a list of all the ORVR system components and a brief description of the component's operations:

    • The EVAP canister (1). The EVAP canister releases the fuel vapor into the engine through the EVAP control system.
    • The vapor lines (2). The vapor lines carry the fuel vapor from the fuel tank assembly to the EVAP canister.
    • The vapor recirculation line (3), if equipped. The vapor recirculation line carries the fuel vapor from the fuel tank to the top of the fuel filler pipe during fueling in order to reduce the fuel vapor at the canister. The vapor recirculation line is located on the inside of the fuel filler pipe or on the outside of the fuel filler pipe.
    • The variable orifice valve (4), if equipped. The variable orifice valve regulates the amount of the vapor that is allowed to enter the vapor recirculation line.
    • The fuel filler pipe (5). The fuel filler pipe carries the fuel to the fuel tank.
    • The check valve (6). The check valve limits fuel back-flow from the fuel tank during the fueling operation by allowing fuel flow only into the fuel tank. The check valve is located at the bottom of the fuel filler pipe or in the fuel tank filler neck.
    • The fuel sender assembly (7). The fuel sender assembly pumps fuel to the engine from the fuel tank.
    • The fill limiter vent valve (8). The fill limiter vent valve is located in the fuel tank and acts as a shut-off valve. The fill limiter vent valve performs the following functions:
       - Controls the fuel tank fill level by closing the primary fuel tank vent .
       - Prevents fuel from exiting the fuel tank through the vapor line and from entering the EVAP canister.
       - Provides protection in the event of a vehicle roll-over by closing the vapor path from the fuel tank to the EVAP canister.
    • The vacuum relief valve (9), if equipped. The vacuum relief valve provides venting of excessive fuel tank pressure or vacuum. The vacuum relief valve is located in the fuel filler neck on a plastic fuel tank. The valve is in the fill limiter vent valve on a steel fuel tank.

Accelerator Controls

The accelerator control system is cable-operated. Depressing the accelerator pedal allows the cable to pull the throttle lever open and increase the throttle opening. Releasing the accelerator pedal allows the pressure of the throttle lever spring to return the throttle lever to the idle position and decreases the throttle opening .

The accelerator control cable must move smoothly and freely through the full range of the throttle opening. The correct adjustment of the accelerator control cable is critical to safe vehicle operation.