GM Service Manual Online
For 1990-2009 cars only

Throttle Body Fuel Injection (TBI) Unit


Object Number: 55797  Size: MH
(1)Fuel Injector Cover
(2)Fuel Injector
(3)Upper O-Ring (Large)
(4)Lower O-Ring (Small)
(5)Upper TBI Assembly
(6)Idle Speed Control Motor
(7)Lower TBI Assembly
(8)Throttle Position Sensor
(9)Gasket
(10)Fuel Injector Electrical Connector
(11)O-Ring

The throttle body fuel injection (TBI) unit is the central component of the fuel metering system. The throttle body fuel injection (TBI) unit consists of an upper assembly and a lower assembly. The upper assembly contains the fuel passages and houses the fuel injector and the fuel pressure regulator. The lower assembly contains the throttle valve, which is interlocked with the accelerator pedal. The throttle valve controls the amount of the air/fuel mixture that is drawn into the combustion chamber. The lower assembly also contains the vacuum ports and passages. Attached to the lower assembly are the throttle position (TP) sensor and the idle speed control (ISC) motor.

Fuel Injector


Object Number: 55791  Size: MH
(1)Upper O-Ring (Large)
(2)Solenoid Coil
(3)Solenoid Plunger
(4)Needle Valve
(5)Lower O-Ring (Small)
(6)Filter

The fuel injector is an electromagnetic (solenoid) type injection nozzle which injects fuel into the throat (bore) of the throttle body fuel injection (TBI) unit.

The powertrain control module energizes the solenoid coil of the fuel injector, generating an electromagnet field that attracts the solenoid plunger. The needle valve, which is incorporated with the solenoid plunger, is opened by the movement of the solenoid plunger. The opening of the needle valve allows the fuel that is under pressure to disperse in a cone shaped (conic) pattern. Because the stroke of the needle valve in the fuel injector is set constant, the amount of fuel injected at one time is determined by the length of time the solenoid coil is energized (pulse width injection time).

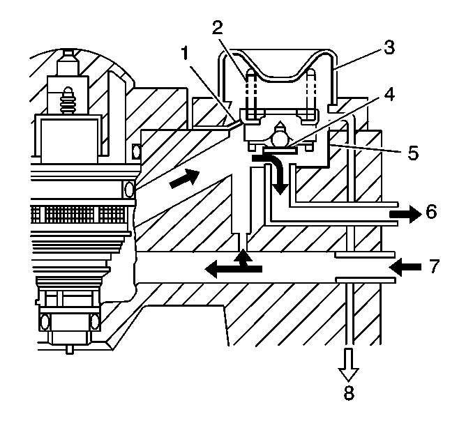
Fuel Pressure Regulator


Object Number: 55772  Size: SH
(1)Diaphragm
(2)Spring
(3)Chamber A
(4)Valve
(5)Chamber B
(6)To Fuel Tank
(7)From Fuel Pump
(8)Intake Manifold Pressure (Vacuum)

The fuel pressure regulator is a diaphragm-operated pressure relief valve consisting of a diaphragm, a spring, and a valve. The fuel pressure regulator keeps the fuel pressure applied to the fuel injector at a pressure 180 kPa (26 psi) greater than the pressure in the intake manifold.

The pressure applied to chamber A of the fuel pressure regulator is the intake manifold pressure. The pressure applied to chamber B of the fuel pressure regulator is fuel pressure. When the fuel pressure rises more than 180 kPa (26 psi) higher than the intake manifold pressure, the fuel pushes a valve in the regulator open and excess fuel returns to the fuel tank via the fuel return pipe.