GM Service Manual Online
For 1990-2009 cars only

The exhaust gas recirculation (EGR) system controls the formation of NOx (Oxides of Nitrogen) emissions by recirculating the exhaust gases into the combustion chamber. NOx emissions increase with higher combustion temperatures. Controlling high combustion chamber temperatures will limit the formation of NOx emissions. Mixing exhaust gases with the incoming air/fuel mixture modifies the combustion process, resulting in lower combustion chamber temperatures. The EGR system lowers combustion chamber temperatures by admitting controlled amounts of exhaust gas into the intake manifold.


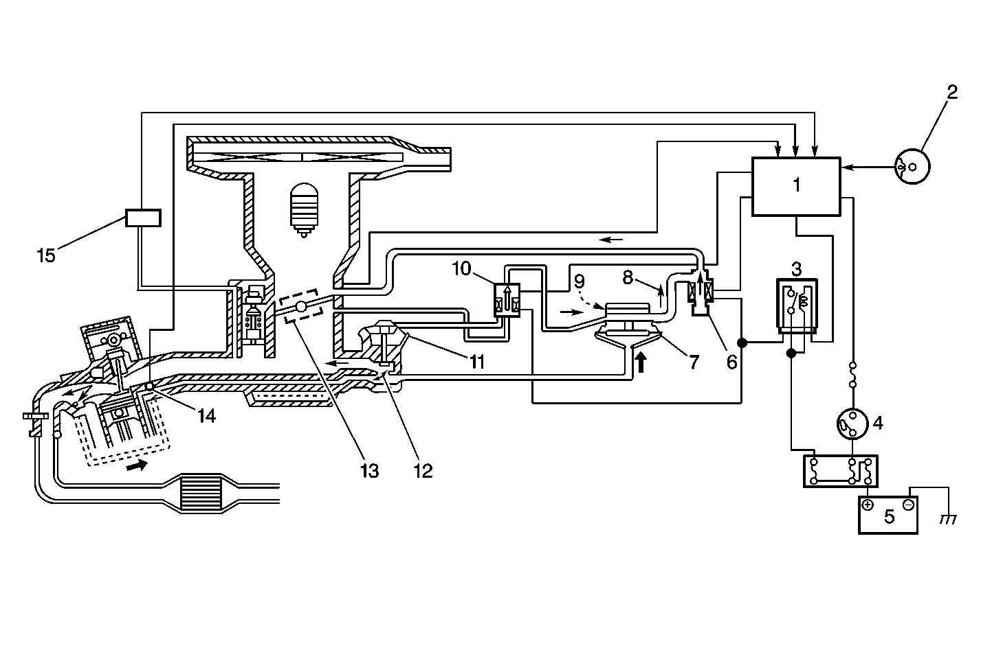
Object Number: 56540  Size: MF
(1)Powertrain Control Module
(2)Camshaft Position Sensor
(3)Main Relay
(4)Ignition Switch
(5)Battery
(6)EGR Solenoid Vacuum Valve
(7)EGR Back Pressure Transducer
(8)Vacuum
(9)Air
(10)EGR Bypass Valve
(11)EGR Valve
(12)Exhaust Gas
(13)Throttle Position Sensor
(14)Engine Coolant Temperature Sensor
(15)Manifold Absolute Pressure Sensor

The exhaust gas recirculation (EGR) system consists of the following components:

    • The EGR valve
    • The EGR back pressure transducer
    • The EGR solenoid vacuum valve
    • The EGR bypass valve

Operation of the EGR valve is controlled by the powertrain control module (PCM). The PCM uses the EGR solenoid vacuum valve in order to control the vacuum signal to the EGR back pressure transducer. The EGR back pressure transducer regulates the vacuum signal to the EGR valve. The EGR valve opening is controlled by the vacuum signal. The EGR solenoid vacuum valve is turned ON when the PCM senses various inputs from the engine information sensors.

A diaphragm located in the EGR back pressure transducer, opens and closes an internal valve in the EGR back pressure transducer. The EGR back pressure transducer diaphragm is operated by back-pressure from the exhaust manifold. The internal valve of the EGR back pressure transducer controls the amount of vacuum that is transmitted from the EGR back pressure transducer to the EGR valve. Therefore exhaust back-pressure regulates the opening and closing of EGR valve. The relationship between exhaust back-pressure and EGR valve flow is charted in the following table:

EGR Valve Flow

Exhaust Back-pressure

EGR Valve Opening

Exhaust Gas Flow

Low

Small

Low

High

Large

High

High speed driving will typically create high exhaust back-pressure and therefore large EGR valve flow. Low speed driving will usually result in little EGR valve flow.

The EGR valve will not open when the EGR solenoid vacuum valve is closed. The EGR solenoid vacuum valve is closed under the following conditions:

    • The engine coolant temperature is low.
    • The throttle valve opening is less than the specified value (determined by the PCM).
    • The vehicle is stopped.
    • The engine is running under high load conditions.

When the EGR solenoid vacuum valve is open, the EGR valve opens and closes in accordance with the EGR back pressure transducer operation.

In order to check the EGR passage and its valve for restrictions, the PCM turns the EGR bypass valve on and off. Manifold vacuum will open the EGR valve when the EGR bypass valve is ON. When the EGR bypass valve is ON, the PCM checks for variations in intake manifold pressure. The PCM can check whether the EGR passage or the EGR valve has any restriction by comparing actual manifold absolute pressure (MAP) sensor readings against expected values. The PCM activates the EGR bypass valve only when diagnosing the EGR system.

Results Of Incorrect Operation of the EGR System

Excessive EGR valve flow may cause any of the following conditions:

    • The engine stalling
    • Rough idle, surging, or engine hesitation
    • Lower fuel economy
    • Incomplete combustion and high exhaust emissions

Inadequate EGR valve flow may cause any of the following conditions:

    • Engine detonation
    • Excessive exhaust emissions