GM Service Manual Online
For 1990-2009 cars only

Removal Procedure

  1. Raise and suitably support the vehicle. Refer to Lifting and Jacking the Vehicle in General Information.
  2. Disconnect the clamp and the fuel feed outlet hose from fuel feed pipe near the fuel tank.
  3. Disconnect the clamp and the fuel return hose from fuel return pipe near the fuel tank.
  4. Disconnect the clamp and the fuel vapor hose from fuel vapor pipe near the fuel tank.
  5. Lower the vehicle.

  6. Object Number: 55728  Size: SH
  7. Disconnect the clamp and the fuel feed hose (2) from the fuel feed pipe in the engine compartment.
  8. Disconnect the clamp and the fuel return hose (3) from the fuel return pipe in the engine compartment.
  9. Disconnect the fuel vapor hose (1) from the fuel vapor pipe in the engine compartment.
  10. Raise and suitably support the vehicle. Refer to Lifting and Jacking the Vehicle in General Information.

  11. Object Number: 55730  Size: SH
  12. Remove the 6 nuts (1) and the 3 sections of pipe guards (2) from the vehicle underbody.

  13. Object Number: 55735  Size: SH
  14. Apply pressure (1) to the corners of the pipe clamps (2) in order to release the pipes.

  15. Object Number: 55733  Size: SH
  16. Remove the fuel feed, the fuel return, and the fuel vapor pipes (2) from the pipe clamps (3) leaving the brake lines (1) secure.

Installation Procedure

  1. Install the fuel feed pipe, the fuel return pipe, and the fuel vapor pipe into the pipe clamps on the vehicle underbody.

  2. Object Number: 183603  Size: SH
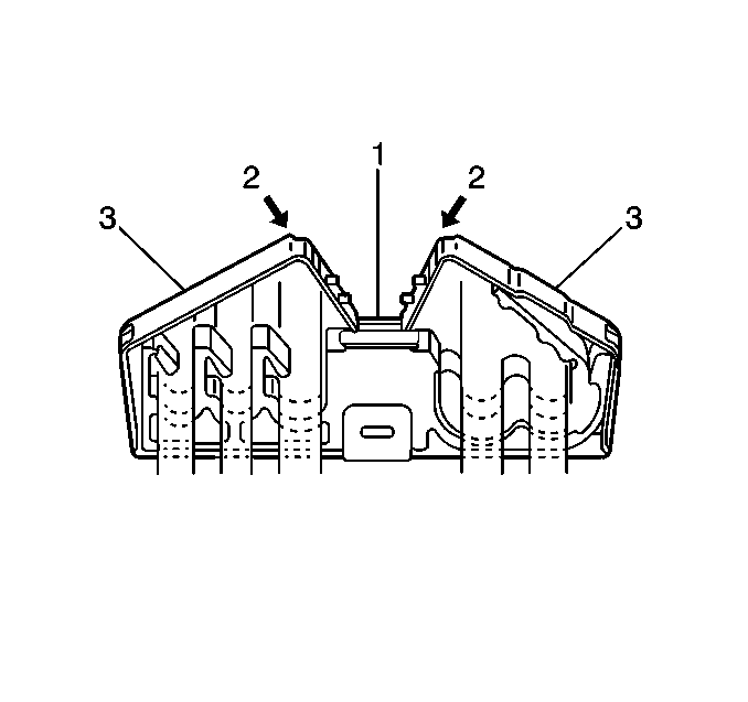
  3. Insert the pipe clamp arms (3) into the center slot (1) of the pipe clamp.
  4. Press (2) the pipe clamp arms into the locked position.

  5. Object Number: 55730  Size: SH

    Notice: Use the correct fastener in the correct location. Replacement fasteners must be the correct part number for that application. Fasteners requiring replacement or fasteners requiring the use of thread locking compound or sealant are identified in the service procedure. Do not use paints, lubricants, or corrosion inhibitors on fasteners or fastener joint surfaces unless specified. These coatings affect fastener torque and joint clamping force and may damage the fastener. Use the correct tightening sequence and specifications when installing fasteners in order to avoid damage to parts and systems.

  6. Install the three sections of pipe guards (2) over the fuel and brake pipes and secure with the six nuts (1).
  7. Tighten
    Tighten the pipe guard nuts to 15 N·m (11 lb ft).

  8. Lower the vehicle.
  9. Connect the fuel vapor hose to the fuel vapor pipe in the engine compartment.
  10. Connect the fuel return hose to the fuel return pipe in the engine compartment and secure with one clamp.
  11. Connect the fuel feed hose to the fuel feed pipe in the engine compartment and secure with one clamp.
  12. Raise and suitably support the vehicle. Refer to Lifting and Jacking the Vehicle in General Information.
  13. Connect the fuel vapor hose to the fuel vapor pipe near the fuel tank and secure with one clamp.
  14. Connect the fuel return hose to the fuel return pipe near the fuel tank and secure with one clamp.
  15. Connect the fuel feed outlet hose to the fuel feed pipe by fuel tank and secure with one clamp.
  16. Lower the vehicle.