GM Service Manual Online
For 1990-2009 cars only

Removal Procedure

Tools Required

    • J 21867-02 Ball Joint Remover
    • J 34866 Wheel Hub Remover
    • J 2619-01 Slide Hammer
  1. Raise and support the vehicle. Refer to Lifting and Jacking the Vehicle in General Information.
  2. Remove the tire and wheel assembly. Refer to Tire and Wheel Removal and Installation in Tires and Wheels.
  3. Refer to Brake Caliper Replacement in order to remove the following:
  4. • The brake caliper
    • The caliper carrier
    • The rotor
  5. Remove the wheel speed sensor electrical connector from the sensor, for ABS equipped vehicles.
  6. Remove one bolt and the wheel speed sensor from the knuckle, for ABS equipped vehicles.
  7. Unstake and remove the drive axle nut and washer.

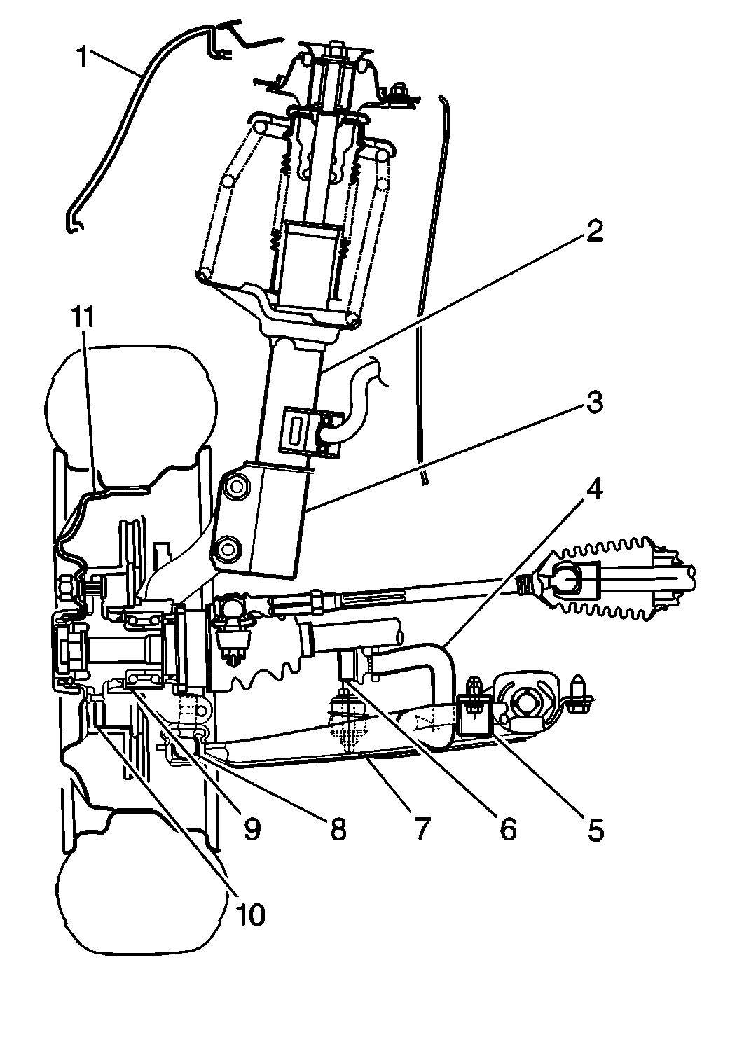
  8. Object Number: 175930  Size: SH
  9. If the knuckle is being replaced, remove the hub from the knuckle, . Use two wheel nuts (1), the J 34866 and the J 2619-01 .
  10. Remove the cotter pin and the castle nut from the tie rod end.
  11. Remove the tie rod end from the knuckle. Use the J 21867-02 .
  12. Remove the ball stud nut and bolt. Separate the ball joint from the knuckle.
  13. Remove the two strut-to-knuckle bolts and nuts and remove the steering knuckle from the vehicle.

Installation Procedure


    Object Number: 175903  Size: MH
  1. Apply a light coat of wheel bearing grease GM P/N 1051344, or equivalent, to the outside of the hub shaft.
  2. If a new knuckle is being installed, install the hub and the outer bearing. Refer to Front Wheel Bearing and Hub Replacement
  3. Notice: Use the correct fastener in the correct location. Replacement fasteners must be the correct part number for that application. Fasteners requiring replacement or fasteners requiring the use of thread locking compound or sealant are identified in the service procedure. Do not use paints, lubricants, or corrosion inhibitors on fasteners or fastener joint surfaces unless specified. These coatings affect fastener torque and joint clamping force and may damage the fastener. Use the correct tightening sequence and specifications when installing fasteners in order to avoid damage to parts and systems.

  4. Install the steering knuckle to the strut (3). Secure the steering knuckle with two strut-to-knuckle bolts and nuts.
  5. Tighten
    Tighten the strut-to-knuckle bolts and nuts to 80 N·m (59 lb ft).

  6. Install the ball stud to knuckle. Secure with the bolt and nut.
  7. Tighten
    Tighten the ball joint nut and bolt to 60 N·m (44 lb ft).

  8. Install the tie rod end to the knuckle. Secure with the castle nut and cotter pin.
  9. Tighten
    Tighten the tie rod end castle nut to 43 N·m (32 lb ft).

  10. Install the wheel drive shaft nut and washer.
  11. Refer to Brake Caliper Replacement in order to install the following:
  12. • The brake rotor
    • The caliper carrier
    • The caliper
  13. Secure the items with the drive axle nut.
  14. Tighten
    Tighten the drive axle nut to 175 N·m (129 lb ft).

  15. Install stake the wheel drive shaft nut using a hammer and punch.
  16. Install the wheel speed electrical connector to sensor, for ABS equipped vehicles.
  17. Install the wheel speed sensor to knuckle. Secure with one bolt, for ABS equipped vehicles.
  18. Tighten
    Tighten the wheel speed sensor retaining bolt to 10 N·m (89 lb in).

  19. Install the tire and wheel assembly. Refer to Tire and Wheel Removal and Installation in Tires and Wheels.
  20. Lower the vehicle.